| Обозначение: |  ГОСТ Р 72145-2025 |
| Статус: | принят |
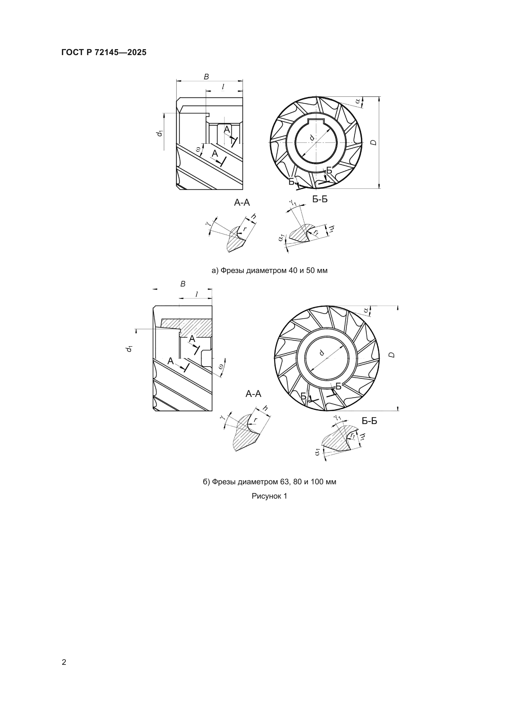
| Название рус.: | Фрезы торцовые насадные. Основные размеры |
| Название англ.: | Face milling cutters. Basic dimensions |
| Дата актуализации текста: | 01.01.2026 |
| Дата актуализации описания: | 01.01.2026 |
| Дата издания: | 12.12.2025 |
| Дата введения: | 01.07.2026 |
| Нормативные ссылки: | ГОСТ 9472; ГОСТ Р 72148 |
| Область применения: | Настоящий стандарт распространяется на насадные торцовые фрезы из быстрорежущей стали (далее – фрезы), предназначенные для обработки торцов, уступов и плоскостей в изделиях из стали |
|