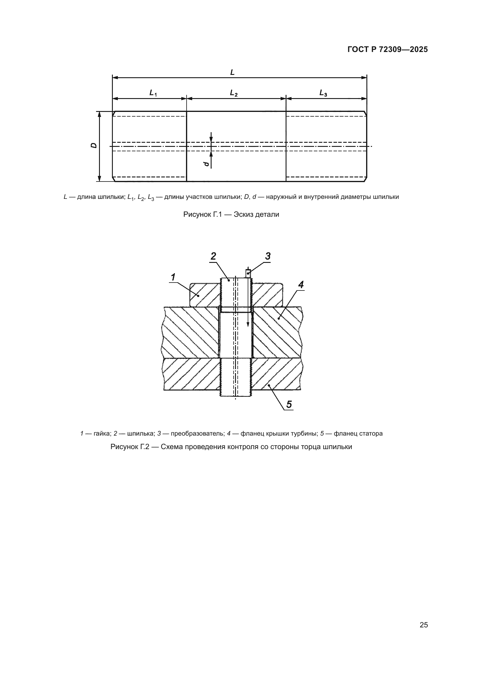
Скачать ГОСТ Р 72309-2025 Гидроэлектростанции. Контроль крепежных элементов ответственных узлов гидроагрегатов. Методические указанияДата актуализации: 01.01.2026 ГОСТ Р 72309-2025
Гидроэлектростанции. Контроль крепежных элементов ответственных узлов гидроагрегатов. Методические указания
| Обозначение: |  ГОСТ Р 72309-2025 |
| Статус: | действующий |
| Название рус.: | Гидроэлектростанции. Контроль крепежных элементов ответственных узлов гидроагрегатов. Методические указания | | Название англ.: | Hydroelectric power plants. Control of fasteners responsible nodes of hydraulic units. Methodical instructions | | Дата актуализации текста: | 01.01.2026 | | Дата актуализации описания: | 01.01.2026 | | Дата издания: | 30.10.2025 | | Дата введения: | 01.12.2025 | | Нормативные ссылки: | ГОСТ 8.398; ГОСТ 12.1.001; ГОСТ 12.1.004; ГОСТ 12.1.005; ГОСТ 12.2.003; ГОСТ 12.3.002; ГОСТ 2789; ГОСТ 4543; ГОСТ 9378; ГОСТ 10602; ГОСТ 16504; ГОСТ 18442; ГОСТ 22761; ГОСТ 23956; ГОСТ 24705; ГОСТ 28033;ГОСТ ISO 6157-1;ГОСТ ISO 6157-2;ГОСТ ISO 6157-3;ГОСТ ISO 16426; ГОСТ Р 27.102; ГОСТ Р 54153; ГОСТ Р 55080; ГОСТ Р 55260.2.1; ГОСТ Р 55260.2.2; ГОСТ Р 55260.3.1; ГОСТ Р 55260.3.2; ГОСТ Р 55611; ГОСТ Р 55724; ГОСТ Р 55725; ГОСТ Р ЕН 13018; ГОСТ Р ИСО 15549;СП 49.13330 | | Область применения: | Настоящий стандарт устанавливает технические и организационные требования к проведению контроля крепежных элементов ответственных узлов гидроагрегатов, воспринимающих усилия с водопроводящего тракта, при периодических технических осмотрах, технических освидетельствованиях, технических обследованиях, ремонтных работах и реконструкции гидроагрегатов. Настоящий стандарт распространяется на крепежные элементы ответственных узлов гидроагрегатов вертикального и горизонтального исполнения, воспринимающие усилия с водопроводящего тракта, а именно: болты, шпильки и гайки для фланцевых соединений, соединительных элементов и деталей гидроагрегатов, изготовленные из сталей перлитного класса. Настоящий стандарт распространяется также на детали и узлы гидроагрегатов, работающие, как крепежные изделия. Настоящий стандарт формирует единые требования и регулирует названные выше процессы и процедуры, определяет нормы и объем контроля крепежных элементов ответственных узлов гидроагрегатов, воспринимающих усилия с водопроводящего тракта, минимально необходимые для оценки исправности и/или работоспособности контролируемых крепежных элементов, а также для принятия решений о возможности их дальнейшей эксплуатации или необходимости замены. Требования настоящего стандарта распространяются на организации, ответственные за эксплуатацию гидроагрегатов, а также организации или физические лица, выполняющие работы (оказывающие услуги) в области его применения на объектах, расположенных на территории Российской Федерации, если данное обязательство отражено в заключаемых с ними договорах. Настоящий стандарт не учитывает все возможные особенности исполнения его требований на разнотипном оборудовании | |
                                  
|