| Обозначение: |  ГОСТ Р 72260-2025 |
| Статус: | принят |
| Название рус.: | Работы изоляционные. Устройство гидроизоляционного слоя на основе полимерных мастик в помещениях многоквартирных домов и общественных зданий. Правила и контроль выполнения работ |
| Название англ.: | Insulation works. Installation of a waterproofing layer based on polymer mastics in the premises of apartment buildings. Rules and control of works execution |
| Дата актуализации текста: | 01.01.2026 |
| Дата актуализации описания: | 01.01.2026 |
| Дата издания: | 17.09.2025 |
| Дата введения: | 01.02.2026 |
| Нормативные ссылки: | ГОСТ 12.1.046; ГОСТ 8736; ГОСТ 21718; ГОСТ 24297; ГОСТ 30693; ГОСТ Р 56387; ГОСТ Р 58277; ГОСТ Р 58945; ГОСТ 70343;СП 29.13330.2011;СП 48.13330;СП 49.13330;СП 71.13330 |
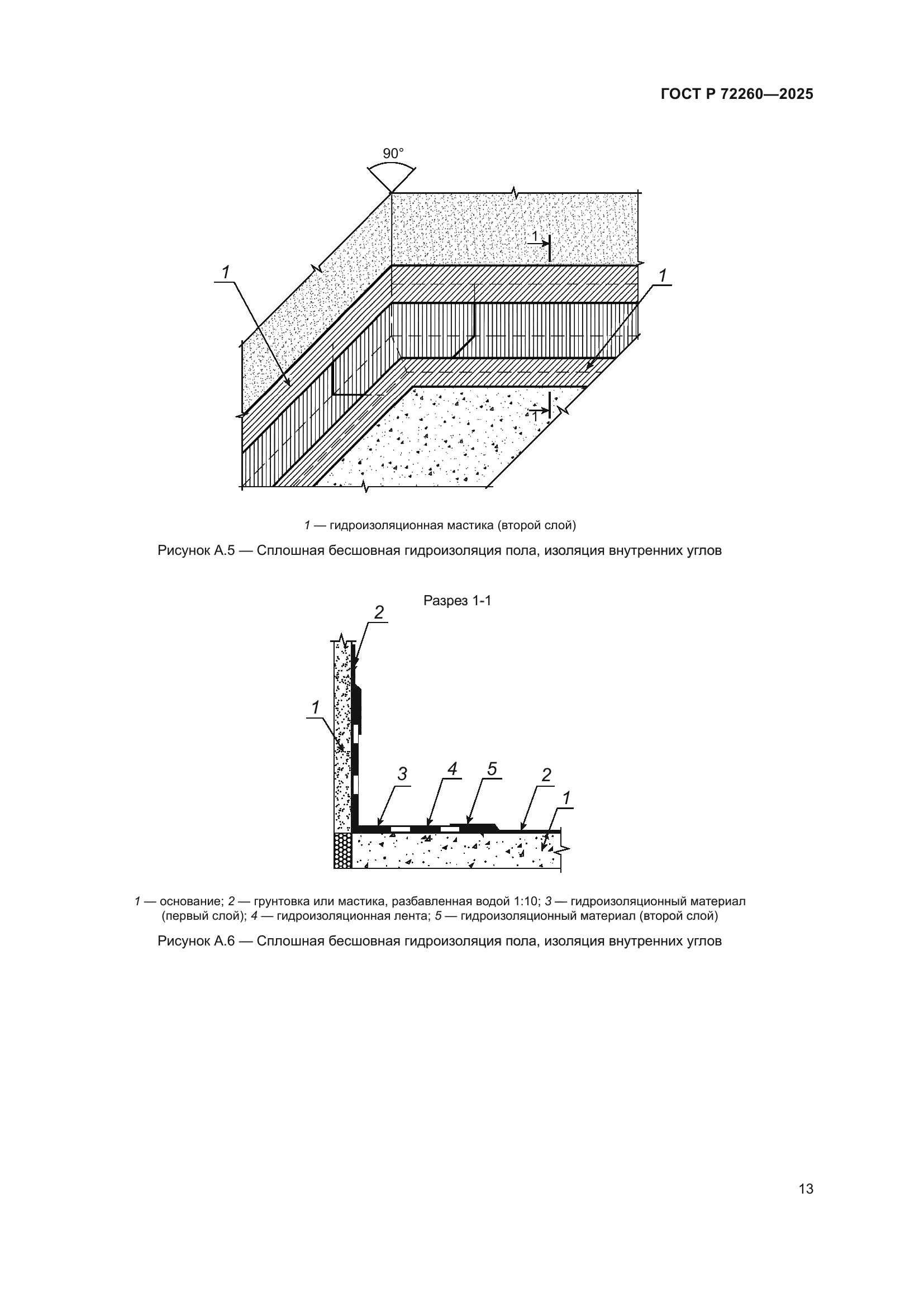
| Область применения: | Настоящий стандарт распространяется на производство гидроизоляционных работ с применением полимерных мастик в помещениях жилых и общественных зданий при строительстве, реконструкции, капитальном и текущем ремонте. Стандарт устанавливает требования к порядку организации и проведения работ, контролю качества и правилам приемки при устройстве сплошной бесшовной гидроизоляции, в помещениях с влажным и мокрым режимами и прилегающих к ним помещениях |
|