| Обозначение: |  ГОСТ 7370-2025 |
| Статус: | принят |
| Название рус.: | Крестовины железнодорожные. Технические условия |
| Название англ.: | Railway frogs. Specifications |
| Дата актуализации текста: | 01.01.2026 |
| Дата актуализации описания: | 01.01.2026 |
| Дата регистрации: | 31.03.2025 |
| Дата издания: | 03.06.2025 |
| Дата введения: | 01.12.2026 |
| Взамен: | ГОСТ 7370-2015 |
| Нормативные ссылки: | ГОСТ 2.601; ГОСТ Р 2.601-2019; ГОСТ 9.014; ГОСТ 10; ГОСТ 12.1.001; ГОСТ 12.1.003; ГОСТ 12.1.004; ГОСТ 12.3.020; ГОСТ 15.001; ГОСТ Р 15.301-2016; ГОСТ 15.309; ГОСТ 164; ГОСТ 166; ГОСТ 380; ГОСТ 427; ГОСТ 610 ; ГОСТ 868; ГОСТ 977; ГОСТ 1050; ГОСТ 1497; ГОСТ 2789; ГОСТ Р 71448-2024; ГОСТ 2999; ГОСТ 3749; ГОСТ 5378; ГОСТ 6507; ГОСТ 7502; ГОСТ 7565; ГОСТ 8026; ГОСТ 8908; ГОСТ 8925; ГОСТ 9012; ГОСТ 9013; ГОСТ 9031; ГОСТ 9038; ГОСТ 9450; ГОСТ 9454; ГОСТ 10877; ГОСТ 11358; ГОСТ 11530; ГОСТ 11532; ГОСТ 12344; ГОСТ 12345; ГОСТ 12346; ГОСТ 12347; ГОСТ 12348; ГОСТ 15150; ГОСТ 16016; ГОСТ 16017; ГОСТ 16018; ГОСТ 16350; ГОСТ 16504; ГОСТ 18267; ГОСТ Р 51685–2022; ГОСТ 18321–73; ГОСТ Р 50779.12-2021; ГОСТ 18353; ГОСТ Р 56542-2019; ГОСТ 18442–80; ГОСТ 18895 ; ГОСТ 19115; ГОСТ 19200; ГОСТ 19537; ГОСТ 20911; ГОСТ 21014; ГОСТ 21797; ГОСТ 22261; ГОСТ 22536.0; ГОСТ 22536.1; ГОСТ 22536.2; ГОСТ 22536.3; ГОСТ 22536.4; ГОСТ 22536.5; ГОСТ 22536.7; ГОСТ 22536.8; ГОСТ 22536.9; ГОСТ 22536.10; ГОСТ 22536.11; ГОСТ 22536.12; ГОСТ 23170; ГОСТ 23479; ГОСТ Р 58399-2019; ГОСТ 23829; ГОСТ 24182; ГОСТ Р 51685-2022; ГОСТ 24522; ГОСТ 25346; ГОСТ 25706; ГОСТ 26433.1; ГОСТ Р 58939-2020; ГОСТ 26645; ГОСТ Р 53464-2009; ГОСТ 26877; ГОСТ 28033; ГОСТ 30242; ГОСТ Р ИСО 6520-1-2012; ГОСТ 33184; ГОСТ 33187; ГОСТ 33477; ГОСТ 33535-2015; ГОСТ 33886; ГОСТ 34222; ГОСТ 34513; ГОСТ 34663; ГОСТ 34666-2020;ГОСТ ISO 898-1;ГОСТ ISO 898-2; ГОСТ Р ИСО 6520-1-2012 |
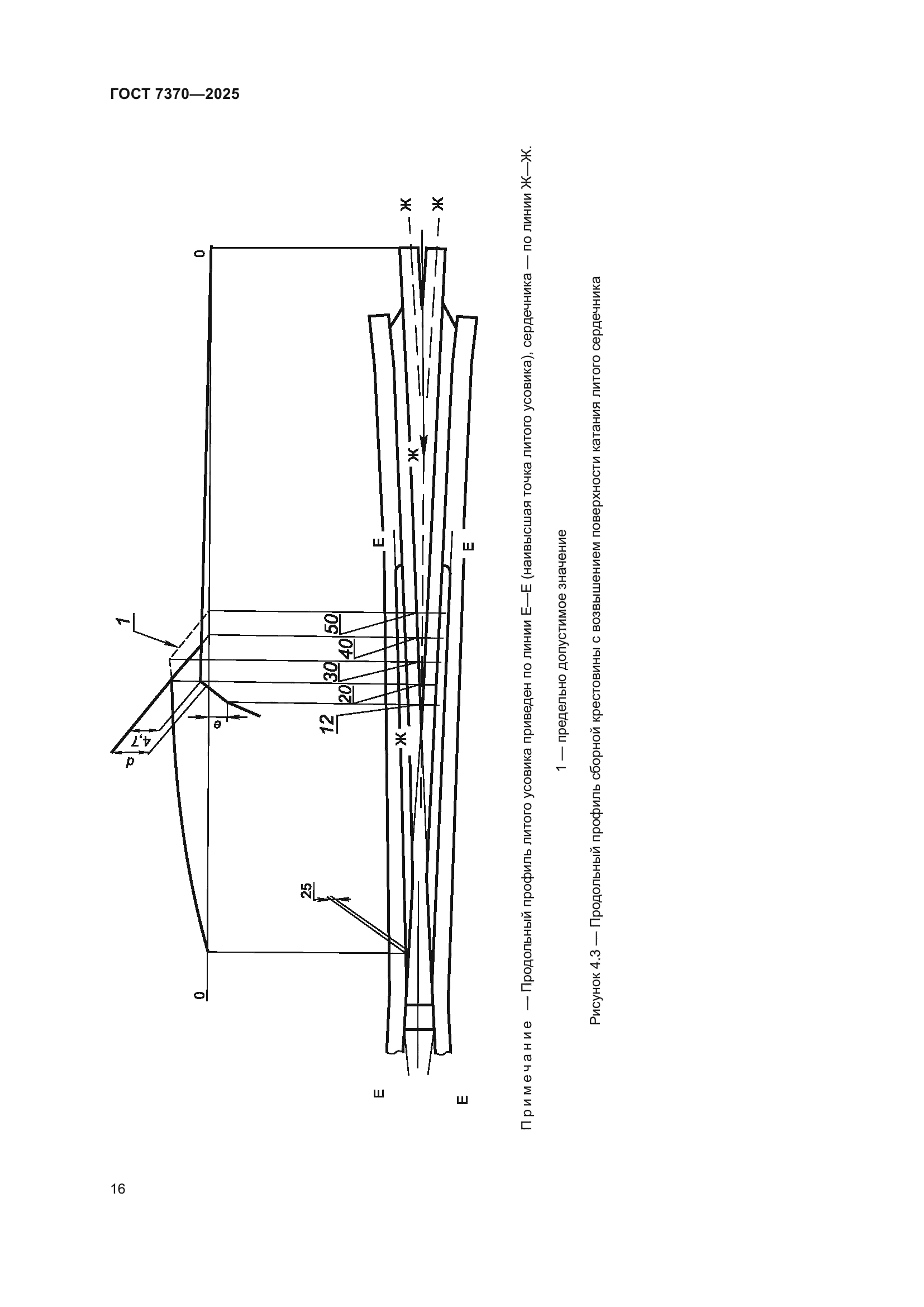
| Область применения: | Настоящий стандарт распространяется на крестовины типов Р75, Р65 и Р50 с неподвижными элементами для стрелочных переводов, съездов и глухих пересечений железнодорожного пути общего и необщего пользования |
|