| Обозначение: |  ГОСТ 7872-2025 |
| Статус: | действующий |
| Название рус.: | Подшипники качения. Подшипники шариковые упорные одинарные и двойные. Классификация, указания по применению и эксплуатации |
| Название англ.: | Rolling bearings. Single and double direction thrust ball bearings. Classification, guidance for application and exploitation |
| Дата актуализации текста: | 01.01.2026 |
| Дата актуализации описания: | 01.01.2026 |
| Дата регистрации: | 31.01.2025 |
| Дата издания: | 03.03.2025 |
| Дата введения: | 01.05.2025 |
| Взамен: | ГОСТ 7872-89 с сохранением действия в качестве документа по стандартизации оборонной продукции на территории РФ при выполнении работ по государственному оборонному заказу |
| Нормативные ссылки: | ГОСТ 520; ГОСТ 3189; ГОСТ 3325; ГОСТ 3478-2012; ГОСТ 24955; ГОСТ 25256 |
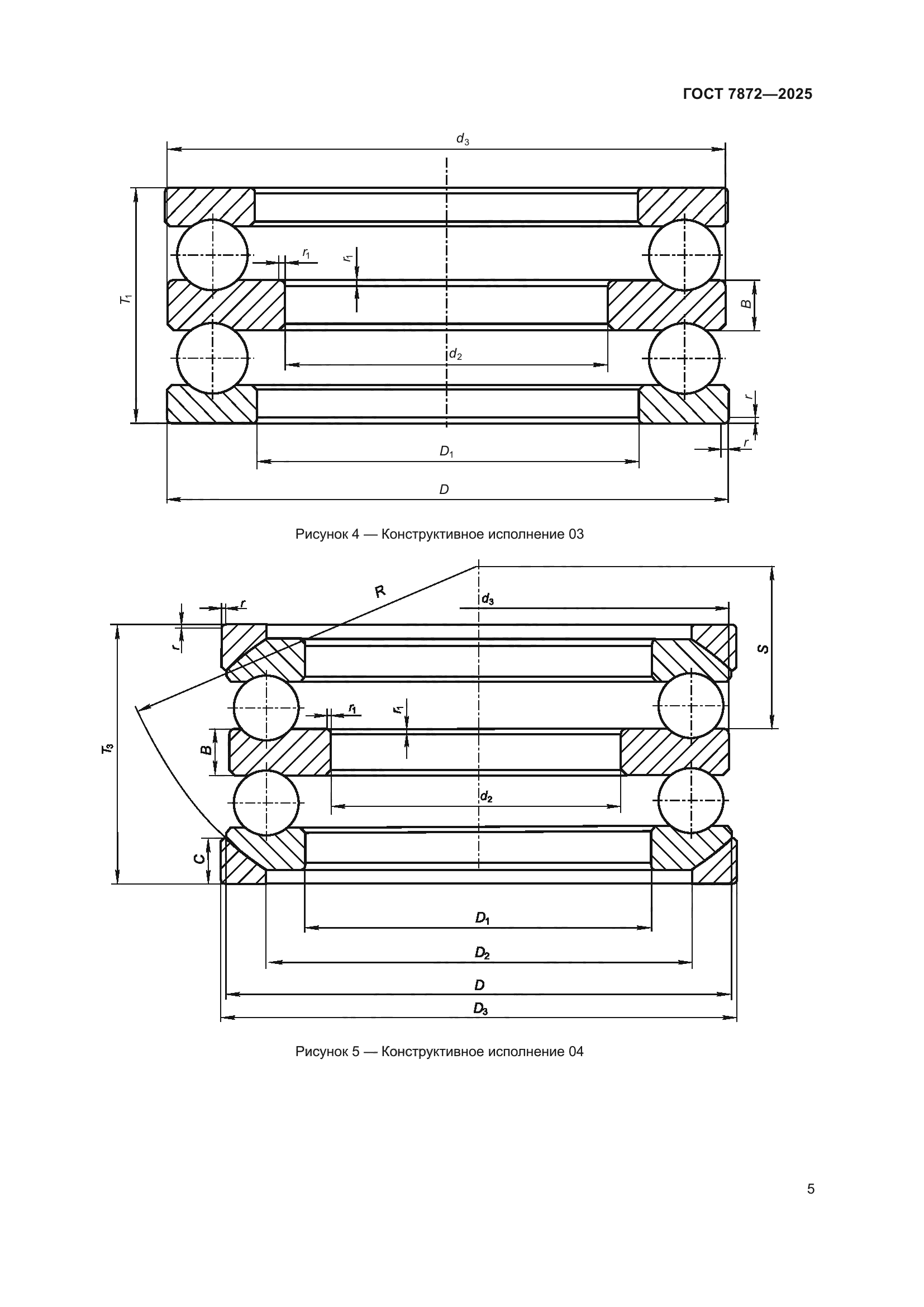
| Область применения: | Настоящий стандарт распространяется на шариковые упорные одинарные и двойные подшипники (далее – подшипники), изготовленные по ГОСТ 520, и устанавливает их классификацию по конструктивным исполнениям, присоединительным размерам, указания по применению и эксплуатации |
|