| Обозначение: |  ГОСТ Р 60.6.2.2-2025 |
| Статус: | действующий |
| Название рус.: | Роботы и робототехнические устройства. Транспортные логистические роботы. Требования безопасности и методы оценки соответствия |
| Название англ.: | Robots and robotic devices. Transport logistics robots. Safety requirements and conformity assessment methods |
| Дата актуализации текста: | 01.06.2025 |
| Дата актуализации описания: | 01.06.2025 |
| Дата издания: | 18.02.2025 |
| Дата введения: | 01.03.2025 |
| Содержит требования: | ISO 3691-4:2023 |
| Нормативные ссылки: | ГОСТ 12.2.064-81; ГОСТ 12.4.026-2015; ГОСТ 31553-2012; ГОСТ 33988-2016;ГОСТ IEC 61496-1-2016;ГОСТ IEC 61558-1-2012;ГОСТ ISO 4413-2016;ГОСТ ISO 4414-2016;ГОСТ ISO 12100-2013;ГОСТ ISO 13849-1-2014; ГОСТ ИСО 13851-2006;ГОСТ ISO 13857-2012;ГОСТ ISO 22915-2-2014;ГОСТ ISO 22915-3-2014;ГОСТ ISO 22915-4-2014; ГОСТ ЕН 1760-1-2004;ГОСТ EN 12895-2012; ГОСТ Р 60.0.0.4-2023; ГОСТ Р 60.0.2.1-2016; ГОСТ Р 51336-99; ГОСТ Р 51345-99; ГОСТ Р 51354-99; ГОСТ Р 57278-2016; ГОСТ Р ИСО 2867-2011; ГОСТ Р ИСО 14122-2-2010; ГОСТ Р МЭК 60204-1-2007 |
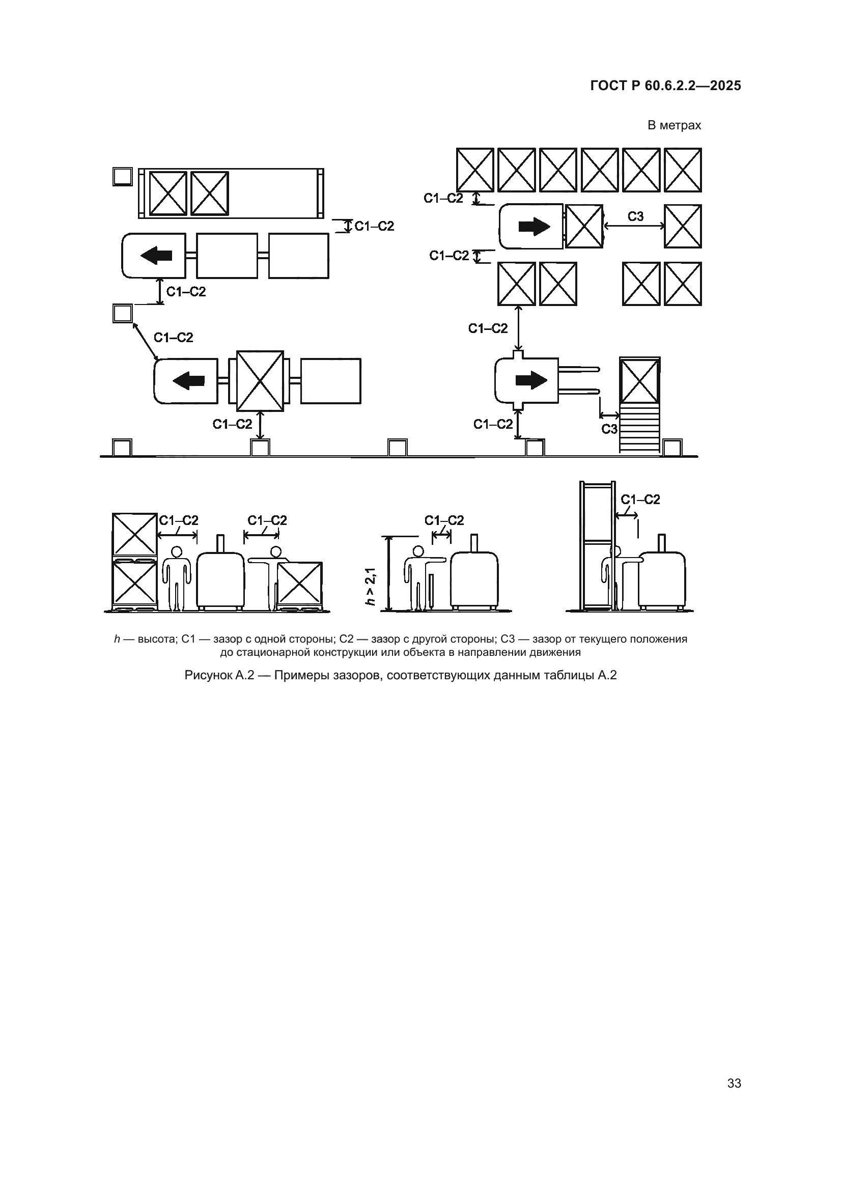
| Область применения: | Настоящий стандарт устанавливает требования безопасности и проверки для транспортных логистических роботов (ТЛР), относящихся к классу сервисных роботов для профессионального использования. Настоящий стандарт применяют к ТЛР, в которых предусмотрены: - автоматические режимы, которые требуют действий операторов для инициирования или активации автоматических операций; - способность перевозить одного или нескольких работников (которые не являются ни водителем, ни оператором); - дополнительные ручные режимы, которые позволяют операторам управлять ТЛР вручную; - режим технического обслуживания, позволяющий управлять функциями ТЛР в ручном режиме. Настоящий стандарт не применяют к промышленным автопогрузчикам, которые управляются полностью механическими средствами (рельсы, направляющие и т. д.) и к промышленным автопогрузчикам с дистанционным управлением, которые не относятся к ТЛР |
|