| Обозначение: |  ГОСТ Р 71925-2025 |
| Статус: | действующий |
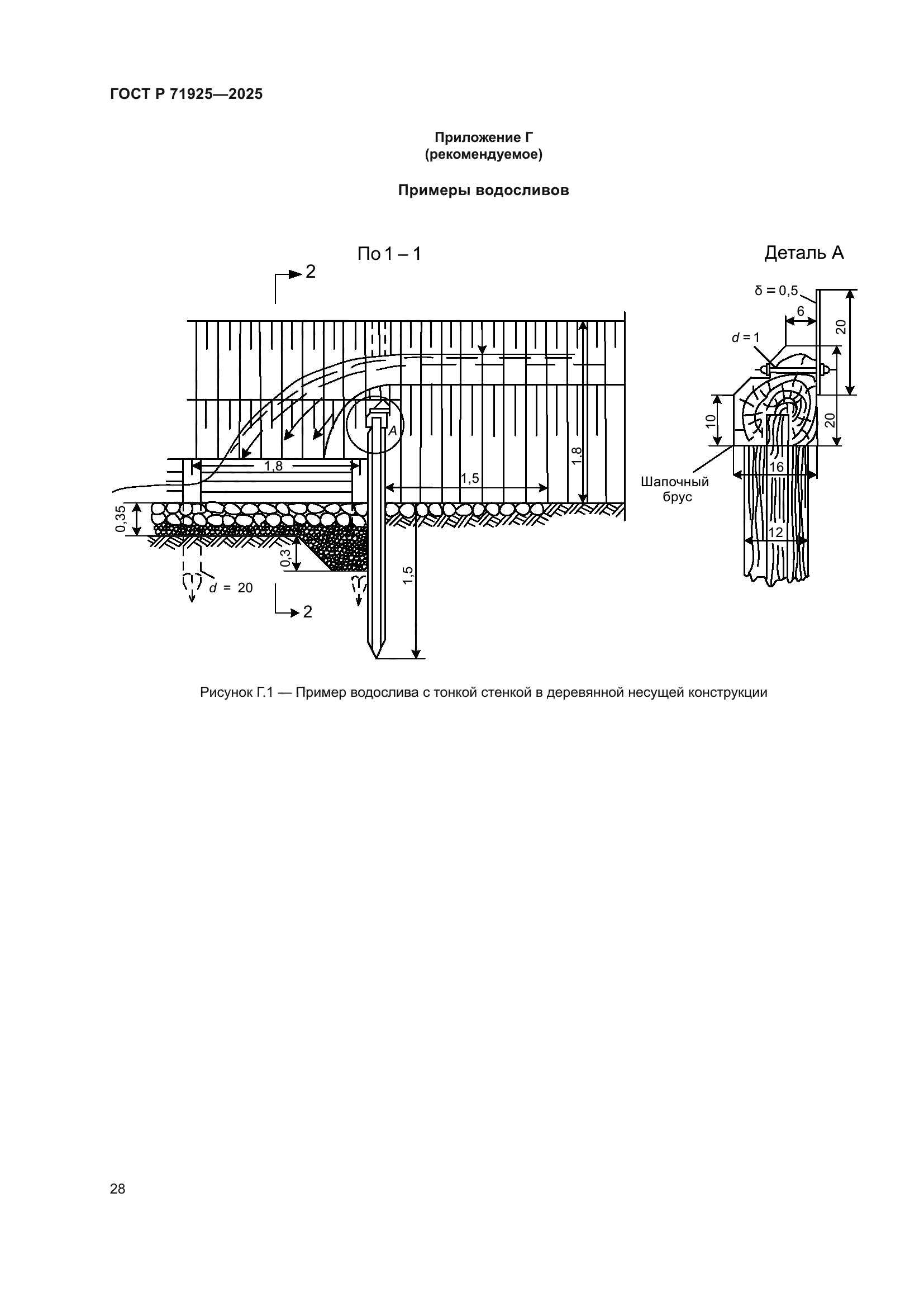
| Название рус.: | Системы и сооружения мелиоративные. Водораспределение и водоучет на оросительной сети. Нормы технологического проектирования |
| Название англ.: | Reclamation systems and structures. Water distribution and water accounting in the irrigation network. Process design standards |
| Дата актуализации текста: | 01.01.2026 |
| Дата актуализации описания: | 01.06.2025 |
| Дата издания: | 07.02.2025 |
| Дата введения: | 01.07.2025 |
| Нормативные ссылки: | ГОСТ Р 51657.3;СП 100.13330 |
| Область применения: | Настоящий стандарт устанавливает общие положения и требования к проектированию строящихся и реконструируемых гидрометрических сооружений и (или) устройств в составе пунктов водоучета на мелиоративных системах |
|