Скачать ГОСТ 23838-2024 Здания предприятий. ПараметрыДата актуализации: 01.01.2026 ГОСТ 23838-2024
Здания предприятий. Параметры
| Обозначение: |  ГОСТ 23838-2024 |
| Статус: | действующий |
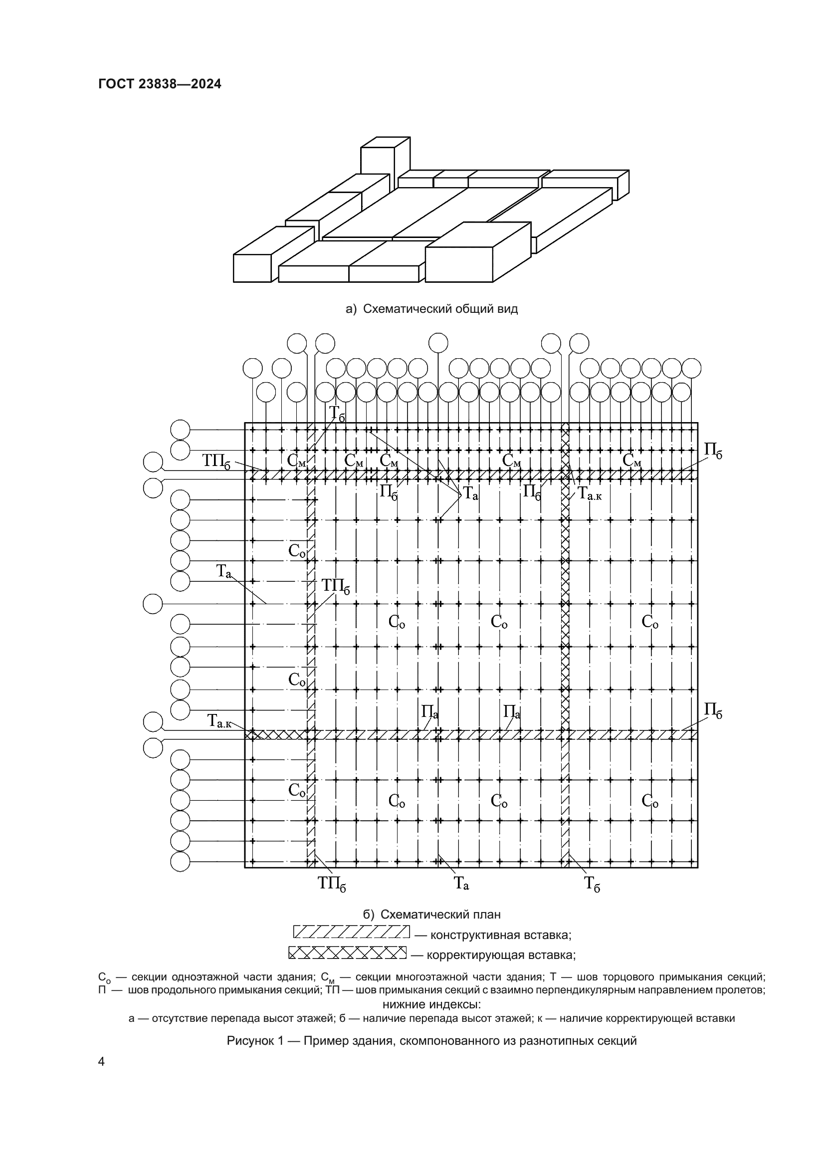
| Название рус.: | Здания предприятий. Параметры | | Название англ.: | Buildings of enterprises. Parameters | | Дата актуализации текста: | 01.01.2026 | | Дата актуализации описания: | 01.06.2025 | | Дата регистрации: | 27.12.2024 | | Дата издания: | 28.01.2025 | | Дата введения: | 01.06.2025 | | Взамен: | ГОСТ 23838-89 | | Нормативные ссылки: | ГОСТ 28984 | | Область применения: | Настоящий стандарт распространяется на производственные, административные, бытовые и складские здания (далее – здания) предприятий всех отраслей промышленности. Стандарт устанавливает: - основные координационные размеры (геометрические параметры) –пролеты, шаги и высоты этажей, а также их сочетания в первичных объемно-планировочных элементах (ячейках) надземной части зданий с прямоугольной системой модульных координат; - правила формирования секций из первичных объемно-планировочных элементов зданий и компоновки на их основе зданий различной этажности (одноэтажных, многоэтажных и смешанной этажности). Стандарт не распространяется на здания, предназначенные для строительства на подрабатываемых территориях, в районах с многолетнемерзлыми и просадочными грунтами, в районах с сейсмичностью 7 баллов и более | |
          
|