| Обозначение: |  ГОСТ 9592-2024 |
| Статус: | действующий |
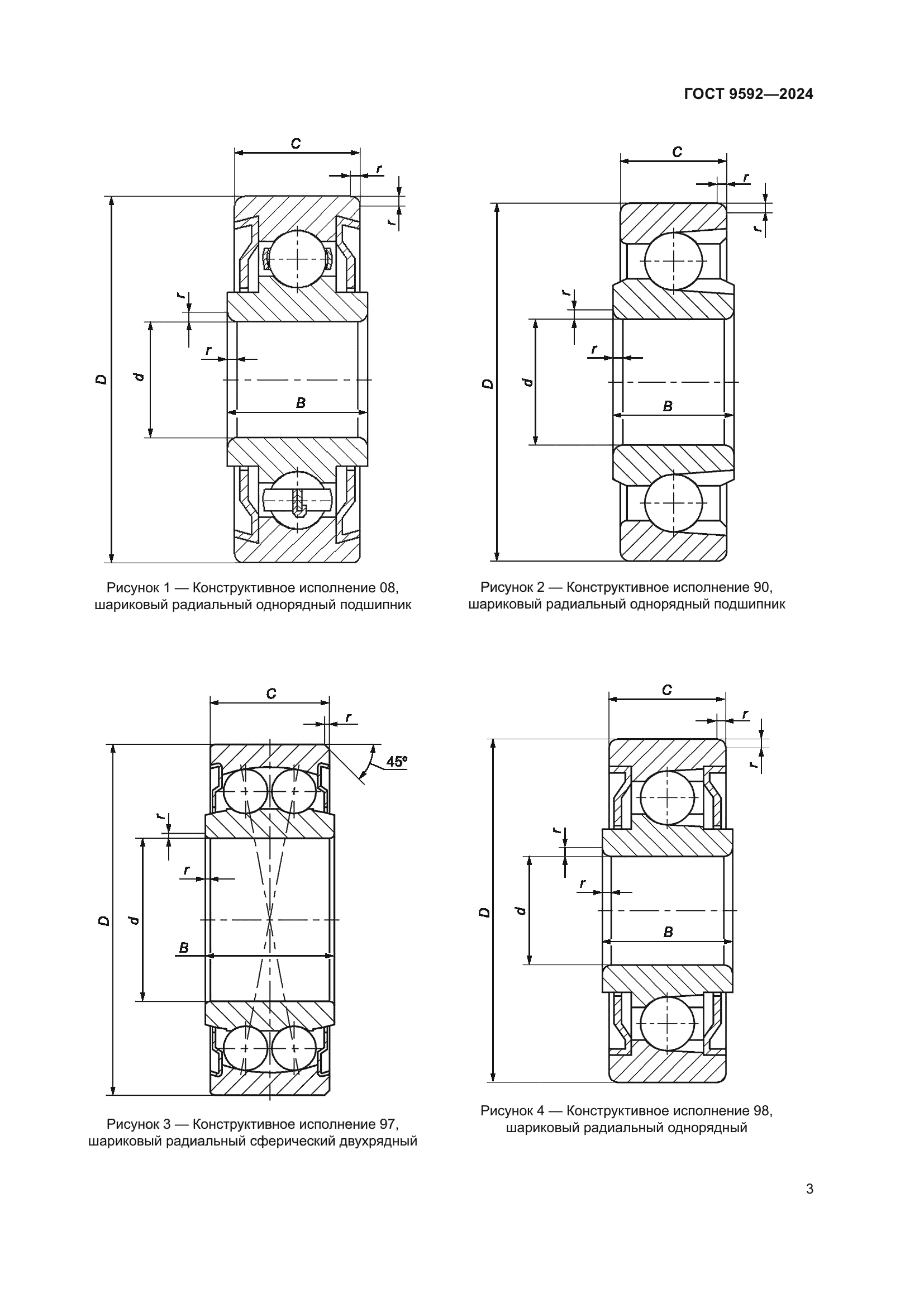
| Название рус.: | Подшипники качения. Подшипники шариковые радиальные с широким внутренним кольцом. Общие технические требования |
| Название англ.: | Rolling bearings. Radial ball bearings with wide inner ring. General technical requirements |
| Дата актуализации текста: | 01.06.2025 |
| Дата актуализации описания: | 01.06.2025 |
| Дата издания: | 12.12.2024 |
| Дата введения: | 01.02.2025 |
| Взамен: | ГОСТ 9592-75 |
| Нормативные ссылки: | ГОСТ 520; ГОСТ 3189; ГОСТ 3325; ГОСТ 3478; ГОСТ 24955; ГОСТ 25256 |
| Область применения: | Настоящий стандарт распространяется на шариковые радиальные подшипники с широким внутренним кольцом, изготавливаемые по ГОСТ 520, и устанавливает их классификацию по конструктивным исполнениям и присоединительным размерам, указания по применению и эксплуатации, а также дополнительные технические требования к данной группе однородной продукции |
|