| Обозначение: |  ГОСТ 35105-2024 |
| Статус: | действующий |
| Название рус.: | Техника пожарная. Гидранты пожарные подземные. Общие технические требования. Методы испытаний |
| Название англ.: | Fire equipment. Underground fire hydrants. General technical requirements. Test methods |
| Дата актуализации текста: | 01.01.2026 |
| Дата актуализации описания: | 01.06.2025 |
| Дата регистрации: | 30.08.2024 |
| Дата издания: | 05.12.2024 |
| Дата введения: | 01.11.2025 |
| Нормативные ссылки: | ГОСТ 2.601; ГОСТ 9.032; ГОСТ Р 2.601-2019; ГОСТ 9.104; ГОСТ 9.402; ГОСТ 12.2.037; ГОСТ 12.3.006; ГОСТ 12.4.009; ГОСТ 166; ГОСТ 427; ГОСТ 613; ГОСТ 1020; ГОСТ 2405; ГОСТ 2991; ГОСТ 4366; ГОСТ 5264; ГОСТ 5525; ГОСТ 5632; ГОСТ 7338; ГОСТ 9013; ГОСТ 13837; ГОСТ 14192; ГОСТ 15150; ГОСТ 16037; ГОСТ 16093; ГОСТ 16504; ГОСТ 19521; ГОСТ 23677; ГОСТ 24705; ГОСТ 24738; ГОСТ 25347; ГОСТ 26358; ГОСТ 33259 |
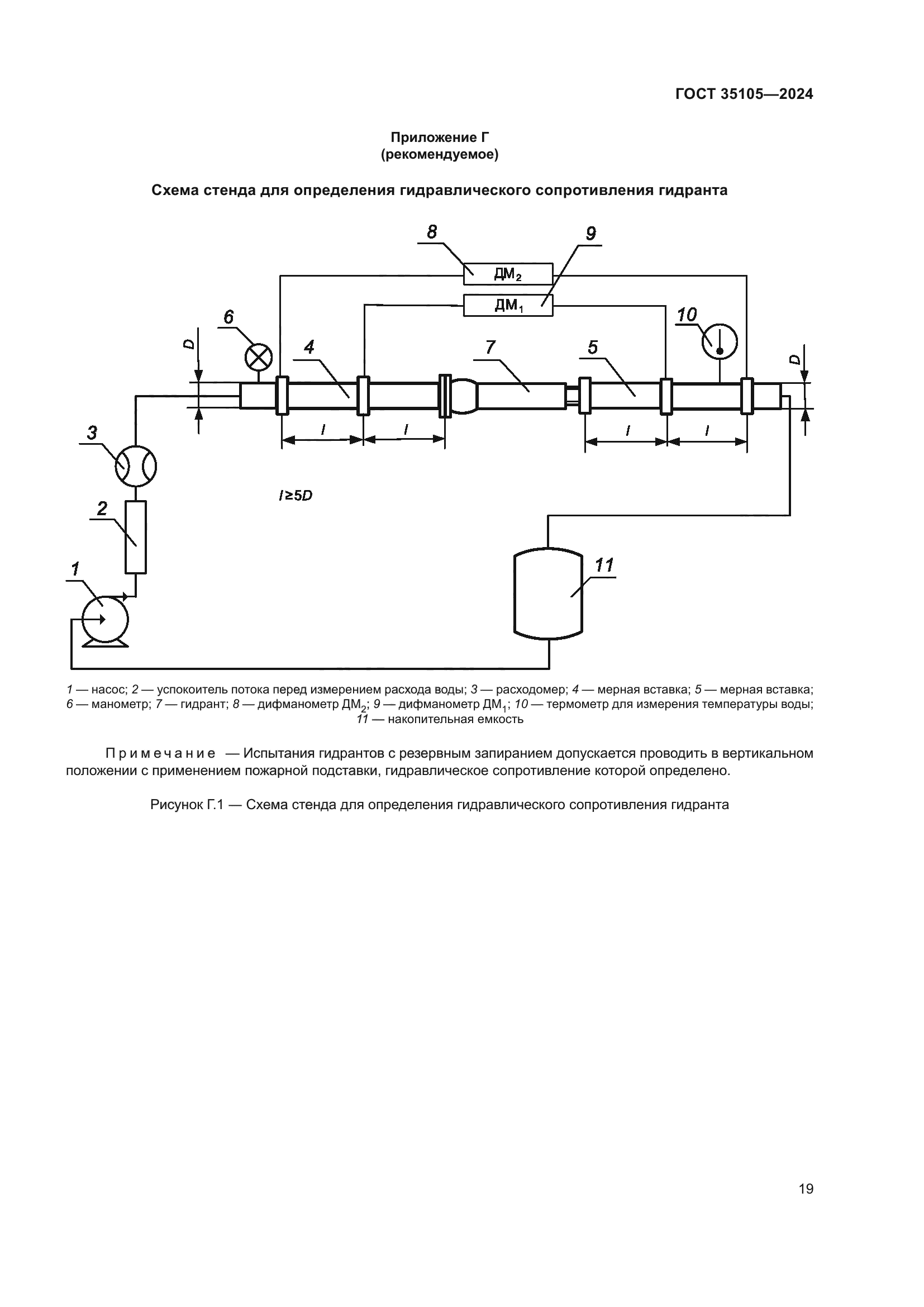
| Область применения: | Настоящий стандарт распространяется на подземные пожарные гидранты, предназначенные для отбора воды на пожаротушение с помощью пожарных колонок и устанавливаемые в водопроводной сети на пожарной подставке по ГОСТ 5525 либо на фланцевом отводе с присоединением DN 100 по ГОСТ 33259. Настоящий стандарт устанавливает общие технические требования и методы испытаний пожарных подземных гидрантов |
|