Скачать ГОСТ Р 71373-2024 Изделия авиационной техники. Предельные отклонения размеров, допуски формы и расположения поверхностей, не указанные на чертежеДата актуализации: 01.06.2025 ГОСТ Р 71373-2024
Изделия авиационной техники. Предельные отклонения размеров, допуски формы и расположения поверхностей, не указанные на чертеже
| Обозначение: |  ГОСТ Р 71373-2024 |
| Статус: | действующий |
| Название рус.: | Изделия авиационной техники. Предельные отклонения размеров, допуски формы и расположения поверхностей, не указанные на чертеже | | Название англ.: | Aircraft items. Limit deviations of dimensions, tolerances of form and position for surfaces without tolerance indications on the drawing | | Дата актуализации текста: | 01.12.2024 | | Дата актуализации описания: | 01.01.2025 | | Дата издания: | 29.10.2024 | | Дата введения: | 01.01.2025 | | Область применения: | Настоящий стандарт устанавливает предельные отклонения линейных и угловых размеров, радиусов закругления, а также допуски формы и расположения гладких поверхностей элементов деталей изделий авиационной техники, получаемые различными способами обработки из любых материалов, предельные отклонения и допуски на которые не указаны на чертежах у размеров или в технических требованиях непосредственно числовыми величинами или условными обозначениями полей допусков | |
                          
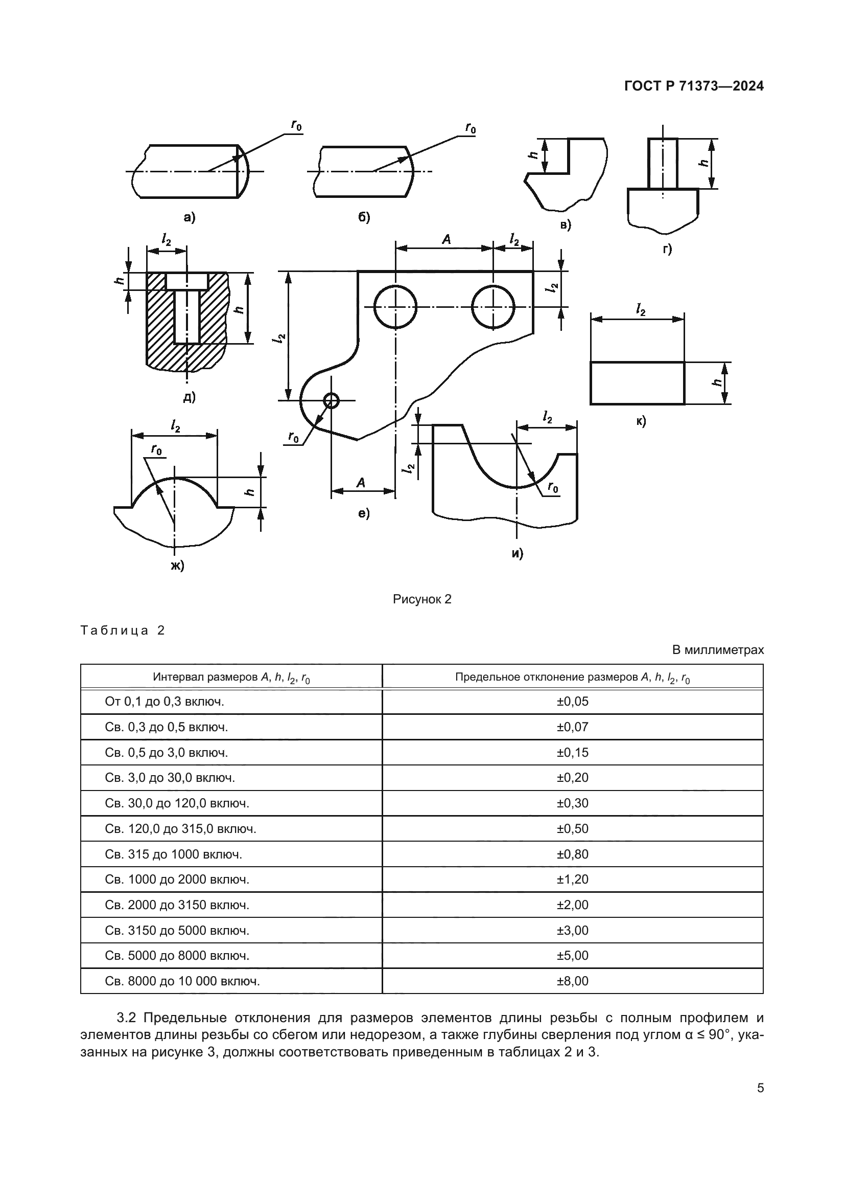
|