Скачать ГОСТ IEC 60065-2024 Аудио-, видео- и аналогичная электронная аппаратура. Требования безопасностиДата актуализации: 01.01.2026 ГОСТ IEC 60065-2024
Аудио-, видео- и аналогичная электронная аппаратура. Требования безопасности
| Обозначение: |  ГОСТ IEC 60065-2024 |
| Статус: | действующий |
| Название рус.: | Аудио-, видео- и аналогичная электронная аппаратура. Требования безопасности | | Название англ.: | Audio, video and similar electronic apparatus. Safety requirements | | Дата актуализации текста: | 01.12.2024 | | Дата актуализации описания: | 01.01.2026 | | Дата регистрации: | 31.07.2024 | | Дата издания: | 12.09.2024 | | Дата введения: | 01.09.2025 | | Взамен: | ГОСТ IEC 60065-2013 | | Аутентичен стандартам: | IEC 60065(2014) | | Нормативные ссылки: | ISO 261;ISO 262;ISO 306:2022;ISO 2859-1:1999;ISO 2859-1:1999/Cor.1:2001;ISO 2859-1:1999/Amd.1:2011;ISO 7000;ISO 9773;IEC 60027 (all parts);IEC 60038(2009);IEC 60038(2009)/Amd.1(2021);IEC 60068-2-6(2007);IEC 60068-2-31(2008);IEC 60068-2-75;IEC 60068-2-78;IEC 60085;IEC 63294(2021);IEC 60086-4;IEC 60107-1(1997);IEC 60112(2020);IEC 60127 (all parts);IEC 60127-6;IEC 62631-3-3(2015);IEC 60216 (all parts);IEC 60227 (all parts);IEC 63294(2021);IEC 60245 (all parts);IEC 60268-1(1985);IEC 60268-1(1985)/Amd.1(1988);IEC 60268-1(1985)/Amd.2(1988);IEC 60317-43;IEC 60320 (all parts);IEC 60320-1;IEC 60335-1;IEC 60384-1(2021);IEC 60384-14(2023);IEC 60410(1973);IEC 60417;IEC 60454 (all parts);IEC 60529(1989);IEC 60529(1989)/Amd.1(1999);IEC 60529(1989)/Amd.2(2013);IEC 60529(1989)/Cor.1(2019);IEC 60664-1(2020);IEC 60664-3;IEC 60691(2023);IEC 60695-11-5(2016);IEC 60695-11-10(2013);IEC 60730-1(2022);IEC 60747-5-5-1(2020);IEC 60747-5-5(2007)/Amd.1(2013);IEC 60825-1(2014);IEC 60851-3(2023);IEC 60851-5(2008);IEC 60851-5(2008)/Amd.1(2011);IEC 60851-5(2008)/Amd.2(2019);IEC 60851-6(2012);IEC 60664-1(2020);IEC 60664-3;IEC 60691(2023);IEC 60695-11-5(2016);IEC 60695-11-10(2013);IEC 60730-1(2022);IEC 60747-5-5-1(2020) ;IEC 60747-5-5(2007)/Amd.1(2013);IEC 60825-1(2014);IEC 60851-3(2023);IEC 60851-5(2008);IEC 60851-5(2008)/Amd.1(2011);IEC 60851-5(2008)/Amd.2(2019);IEC 60851-6(2012);IEC 60906 (all parts);IEC 60950-1(2005);IEC 60950-1(2005);IEC 60950-1(2005)/Amd.1(2009);IEC 60950-1(2005)/Amd.2(2013);IEC 60990;IEC 60998-2-2;IEC 60999-1;IEC 60999-2;IEC 61032(1997);IEC 61051-2(2021) ;IEC 61051-2(1991)/Amd.1(2009);IEC 61058-1(2016);IEC/TS 61149;IEC 61260-1(2014);IEC 61260-2(2016);IEC 61260-2(2016/Amd.1(2017);IEC 61260-3(2016);IEC 61293;IEC 61558-1(2017);IEC 61558-1(2005)/Amd.1(2009);IEC 61558-2-16;IEC 61965;IEC 62133-1(2017);IEC 62133-2(2017);IEC 62133-2(2017)/Amd.1(2021);IEC 62133-2(2017)/Cor.1(2021);IEC 62151(2000);IEC 62368-1;IEC 62471(2006);IEC Guide 104; IEC 62631-3-3(2015);ITU-T Recommendation K.44 | | Область применения: | Настоящий стандарт безопасности распространяется на электронную аппаратуру, сконструированную для питания от сети, источника питания, батарей или от источника дистанционного питания и предназначенную для приема, генерации, записи или воспроизведения аудио-, видео- и связанных с ними сигналов. Стандарт также распространяется на аппаратуру, предназначенную для использования исключительно совместно с перечисленной выше аппаратурой. Настоящий стандарт в основном распространяется на аппаратуру, предназначенную для бытового или аналогичного применения, но которая также может быть использована в общественных местах, таких как школы, театры, местах богослужения и на рабочих местах. Требования стандарта распространяются на ПРОФЕССИОНАЛЬНУЮ АППАРАТУРУ, предназначенную для использования, как указано выше, если только на нее не распространяется действие других стандартов. Настоящий стандарт относится только к аспектам безопасности вышеуказанного оборудования и не рассматривает другие аспекты, такие как эргономические или эксплуатационные характеристики. Настоящий стандарт распространяется на вышеуказанную аппаратуру, предназначенную для подключения к телекоммуникационной сети или аналогичным сетям, например с помощью встроенного модема. Некоторыми примерами аппаратуры, входящей в область применения настоящего стандарта, являются: - приемная аппаратура и усилители аудио- и/или видеосигнала; - автономные преобразователи нагрузки и преобразователи источника; - источники питания, предназначенные для питания аппаратуры, относящейся к области применения настоящего стандарта; - электронные музыкальные инструменты и электронные аксессуары, такие как генераторы ритма, генераторы тона, музыкальные тюнеры и т. п., для использования с электронными или неэлектронными музыкальными инструментами; - аудио- и/или видеоаппаратура учебного назначения; - видеопроекторы | |
                                                                                                                                                            
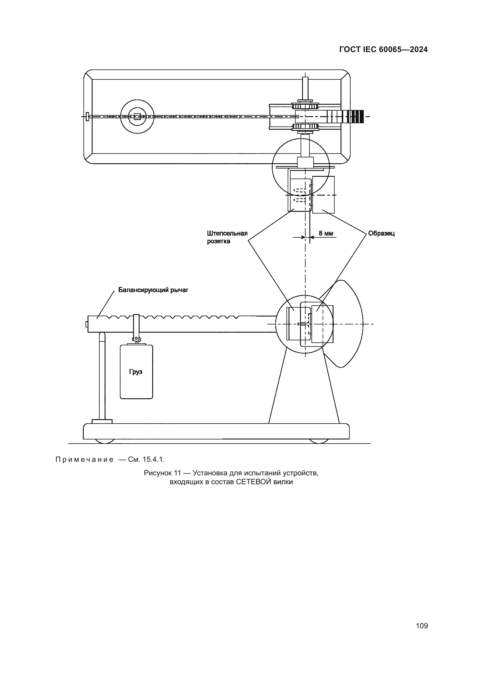
|