| Обозначение: |  ГОСТ Р 71505-2024 |
| Статус: | действующий |
| Название рус.: | Системы автоматического контроля выбросов и сбросов. Системы автоматического контроля выбросов. Общие положения |
| Название англ.: | Automatic emission and discharge control systems. Automatic control systems for pollutant emissions. General provisions |
| Дата актуализации текста: | 01.12.2024 |
| Дата актуализации описания: | 01.06.2025 |
| Дата издания: | 15.08.2024 |
| Дата введения: | 01.03.2025 |
| Нормативные ссылки: | ГОСТ Р 8.959; ГОСТ Р 8.960; ГОСТ Р 70803; ГОСТ Р 70804.1; ГОСТ Р 70804.2; ГОСТ Р 70805; ГОСТ Р 71507; ГОСТ Р 71508 |
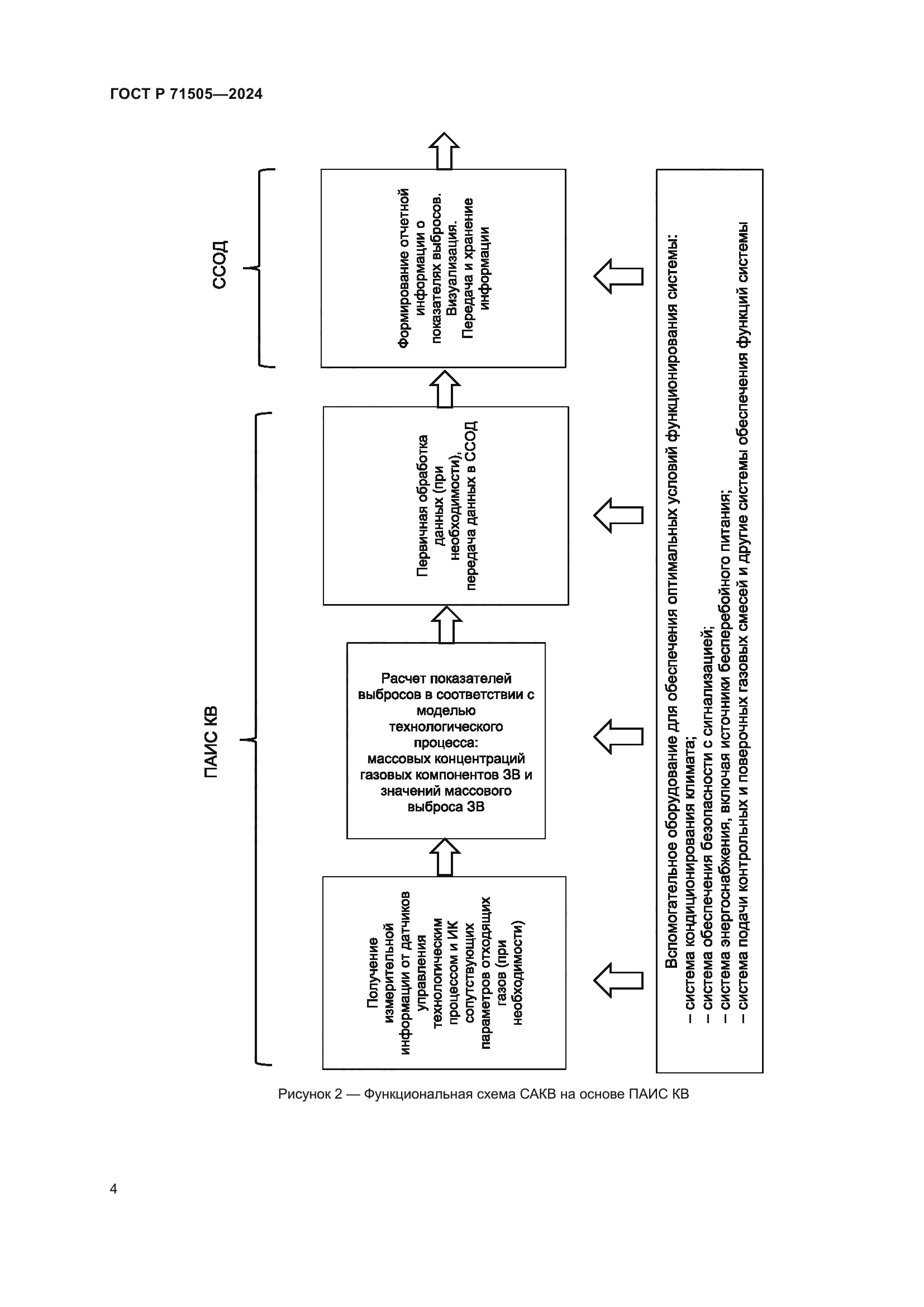
| Область применения: | Настоящий стандарт распространяется на системы автоматического контроля выбросов загрязняющих веществ, используемые для измерения, учета и передачи информации о показателях выбросов загрязняющих веществ в государственный реестр объектов, оказывающих негативное воздействие на окружающую среду. Стандарт устанавливает общие положения о составе, функциях систем автоматического контроля выбросов и требованиях к ним |
|