| Обозначение: |  ГОСТ Р 71178-2023 |
| Статус: | действующий |
| Название рус.: | Гидроприводы объемные. Гидроаппараты. Правила приемки и методы испытаний |
| Название англ.: | Hydraulic drives. Hydraulic valves. Acceptance rules and methods of tests |
| Дата актуализации текста: | 01.06.2024 |
| Дата актуализации описания: | 01.06.2024 |
| Дата издания: | 23.01.2024 |
| Дата введения: | 01.02.2024 |
| Нормативные ссылки: | ГОСТ 9.048; ГОСТ 15151; ГОСТ 17216; ГОСТ 22976; ГОСТ 28988; ГОСТ 29015; ГОСТ Р 2.601; ГОСТ Р 8.568; ГОСТ Р 52543; ГОСТ Р 70814; ГОСТ Р 71085 |
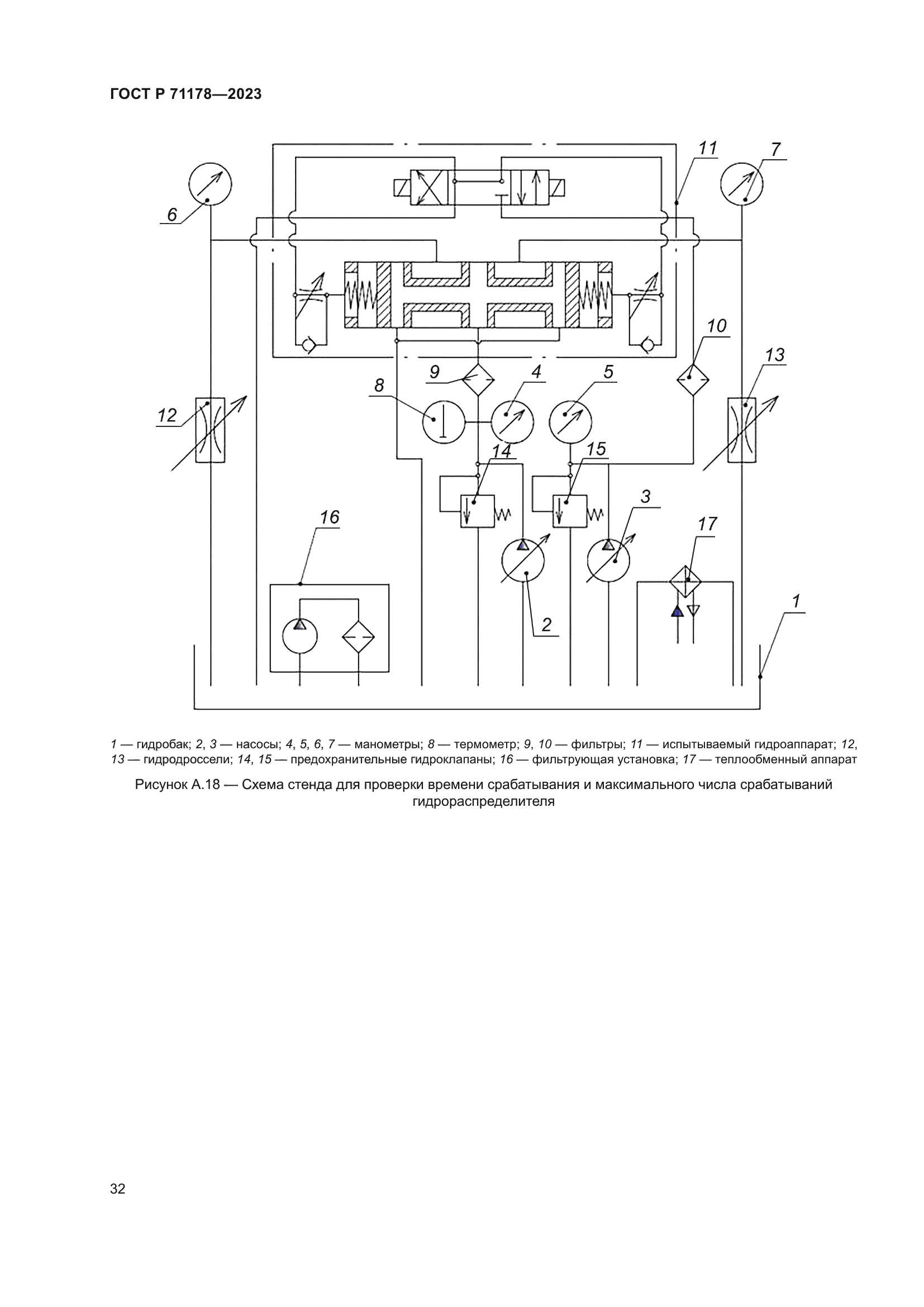
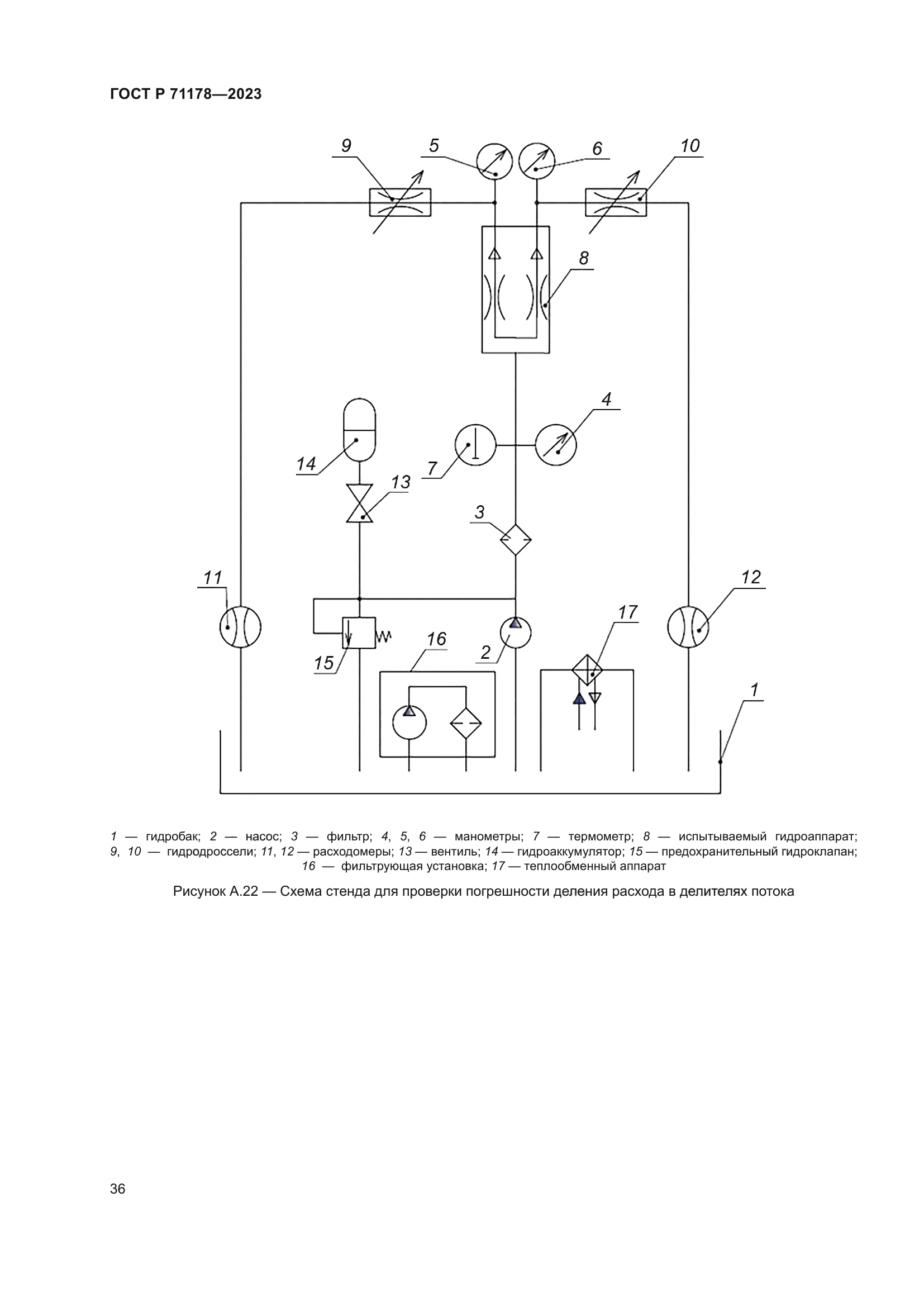
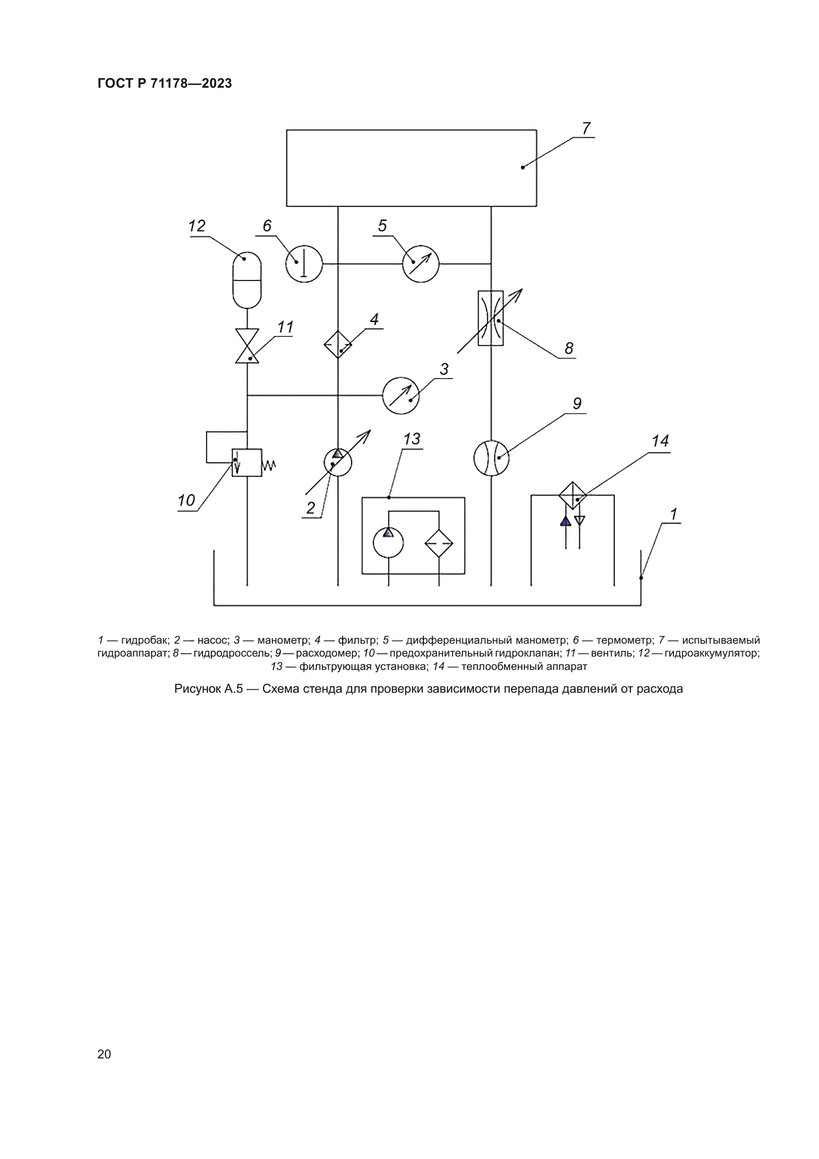
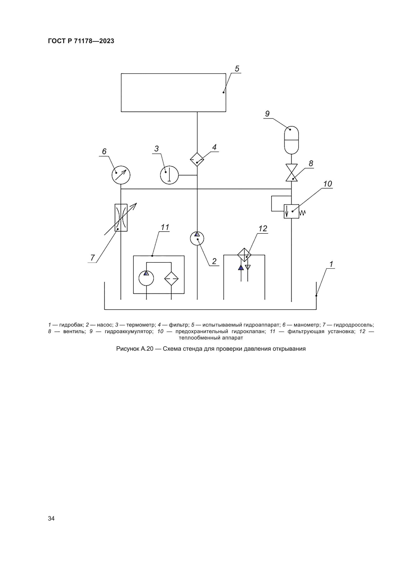
| Область применения: | Настоящий стандарт распространяется на гидроаппараты для объемных гидроприводов и устанавливает правила приемки и методы контроля готовой продукции при проведении приемо-сдаточных, периодических и типовых испытаний |
|