| Обозначение: |  ГОСТ Р 71112-2023 |
| Статус: | действующий |
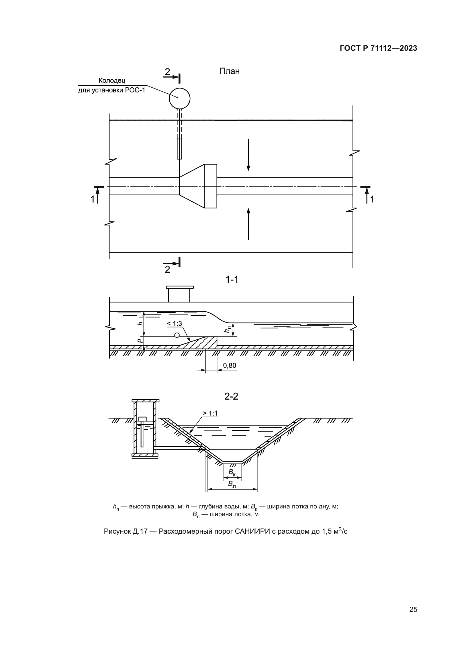
| Название рус.: | Системы и сооружения мелиоративные. Водораспределение и водоучет на оросительной сети. Общие требования по оснащению |
| Название англ.: | Reclamation systems and structures. Water distribution and water accounting in the irrigation network. General equipment requirements |
| Дата актуализации текста: | 01.01.2024 |
| Дата актуализации описания: | 01.12.2024 |
| Дата издания: | 01.12.2023 |
| Дата введения: | 01.07.2024 |
| Нормативные ссылки: | ГОСТ 12.0.230; ГОСТ 17.1.2.03; ГОСТ 25855; ГОСТ Р 51657.2; ГОСТ Р 51657.4; ГОСТ Р 53195.1; ГОСТ Р 59024-2020;СП 421.1325800 |
| Область применения: | Настоящий стандарт устанавливает общие требования по оснащению пунктов водоучета на мелиоративных системах, включающие требования к созданию и размещению пунктов водоучета, составу контролируемых параметров водного потока, а также требования к средствам измерений и эксплуатации пунктов водоучета |
|