| Обозначение: |  ГОСТ 31370-2023 |
| Статус: | действующий |
| Название рус.: | Газ природный. Руководство по отбору проб |
| Название англ.: | Natural gas. Sampling guidelines |
| Дата актуализации текста: | 01.06.2024 |
| Дата актуализации описания: | 01.01.2025 |
| Дата регистрации: | 25.09.2023 |
| Дата издания: | 23.04.2024 |
| Дата введения: | 01.01.2025 |
| Взамен: | ГОСТ 31370-2008 |
| Нормативные ссылки: | ГОСТ 8.586.5; ГОСТ 8.611; ГОСТ 12.0.004; ГОСТ 12.1.004; ГОСТ 12.1.019; ГОСТ 12.1.044; ГОСТ 12.4.124; ГОСТ 17.2.3.02; ГОСТ Р 58577-2019; ГОСТ 2768; ГОСТ 5632; ГОСТ 6709; ГОСТ Р 58144-2018; ГОСТ 9293; ГОСТ 9805; ГОСТ 10007; ГОСТ 10157; ГОСТ 14262; ГОСТ 18954; ГОСТ 19034; ГОСТ 19807; ГОСТ 20060; ГОСТ 20061; ГОСТ 24363; ГОСТ 24484; ГОСТ 25336; ГОСТ 31610.0; ГОСТ 31610.20-1; ГОСТ 31371.7-2020; ГОСТ 34895;ГОСТ ISO/IEC 17025-2019 |
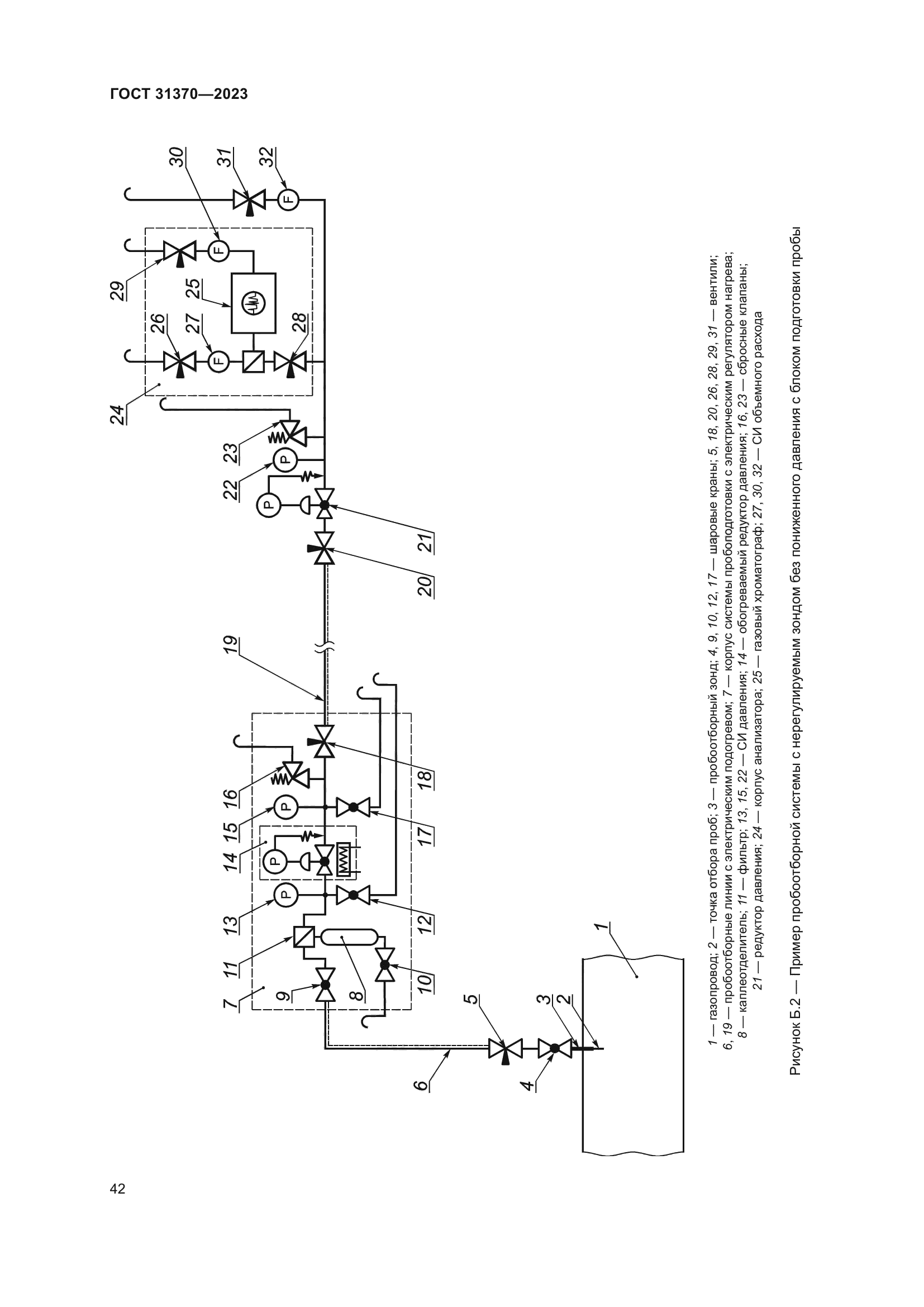
| Область применения: | Настоящий стандарт распространяется на природный газ и устанавливает методические и технические требования к процедурам, оборудованию и материалам, применяемым при отборе проб природного газа и других углеводородных газов аналогичного компонентного состава, соблюдение которых обеспечивает представительность отобранных проб |
| Приложение №1: | Поправка к ГОСТ 31370-2023 |
|