| Обозначение: |  ГОСТ Р 71042-2023 |
| Статус: | действующий |
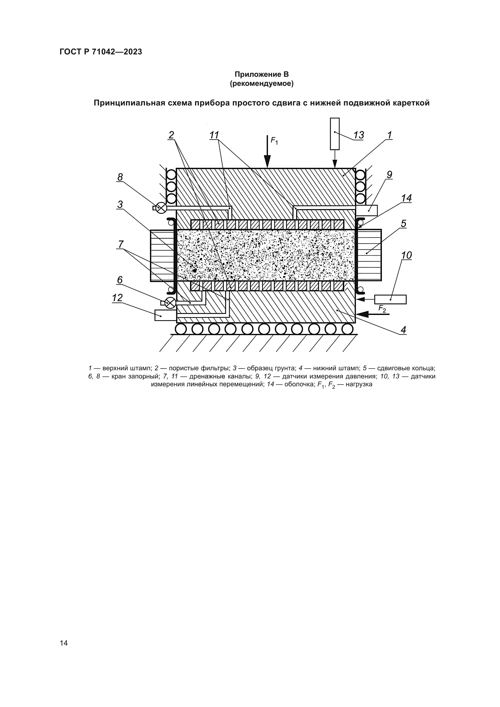
| Название рус.: | Грунты. Определение характеристик прочности методом простого сдвига |
| Название англ.: | Soils. Determination of strength characteristics by simple shear method |
| Дата актуализации текста: | 01.01.2024 |
| Дата актуализации описания: | 01.01.2024 |
| Дата издания: | 10.11.2023 |
| Дата введения: | 01.11.2023 |
| Нормативные ссылки: | ГОСТ 5180; ГОСТ 12071; ГОСТ 12248.1; ГОСТ 12536; ГОСТ 25100; ГОСТ 30416;СП 22.13330 |
| Область применения: | Настоящий стандарт распространяется на дисперсные грунты и устанавливает требования к методам определения характеристик прочности при лабораторных исследованиях этих грунтов для строительства. Стандарт не распространяется на средне и сильнозаторфованные грунты и торф |
|