| Обозначение: |  ГОСТ Р 56731-2023 |
| Статус: | действующий |
| Название рус.: | Анкеры механические для крепления в бетоне. Методы испытаний |
| Название англ.: | Mechanical anchors for use in concrete. Test methods |
| Дата актуализации текста: | 01.01.2024 |
| Дата актуализации описания: | 01.01.2024 |
| Дата издания: | 25.08.2023 |
| Дата введения: | 01.09.2023 |
| Взамен: | ГОСТ Р 56731-2015 |
| Нормативные ссылки: | ГОСТ 12.1.004; ГОСТ 12.2.003; ГОСТ 8267; ГОСТ 10180; ГОСТ 12004; ГОСТ 17624; ГОСТ 26633; ГОСТ 22690; ГОСТ 28570; ГОСТ 31108; ГОСТ 33530;ГОСТ ISO 898-1; ГОСТ Р 50779.12 |
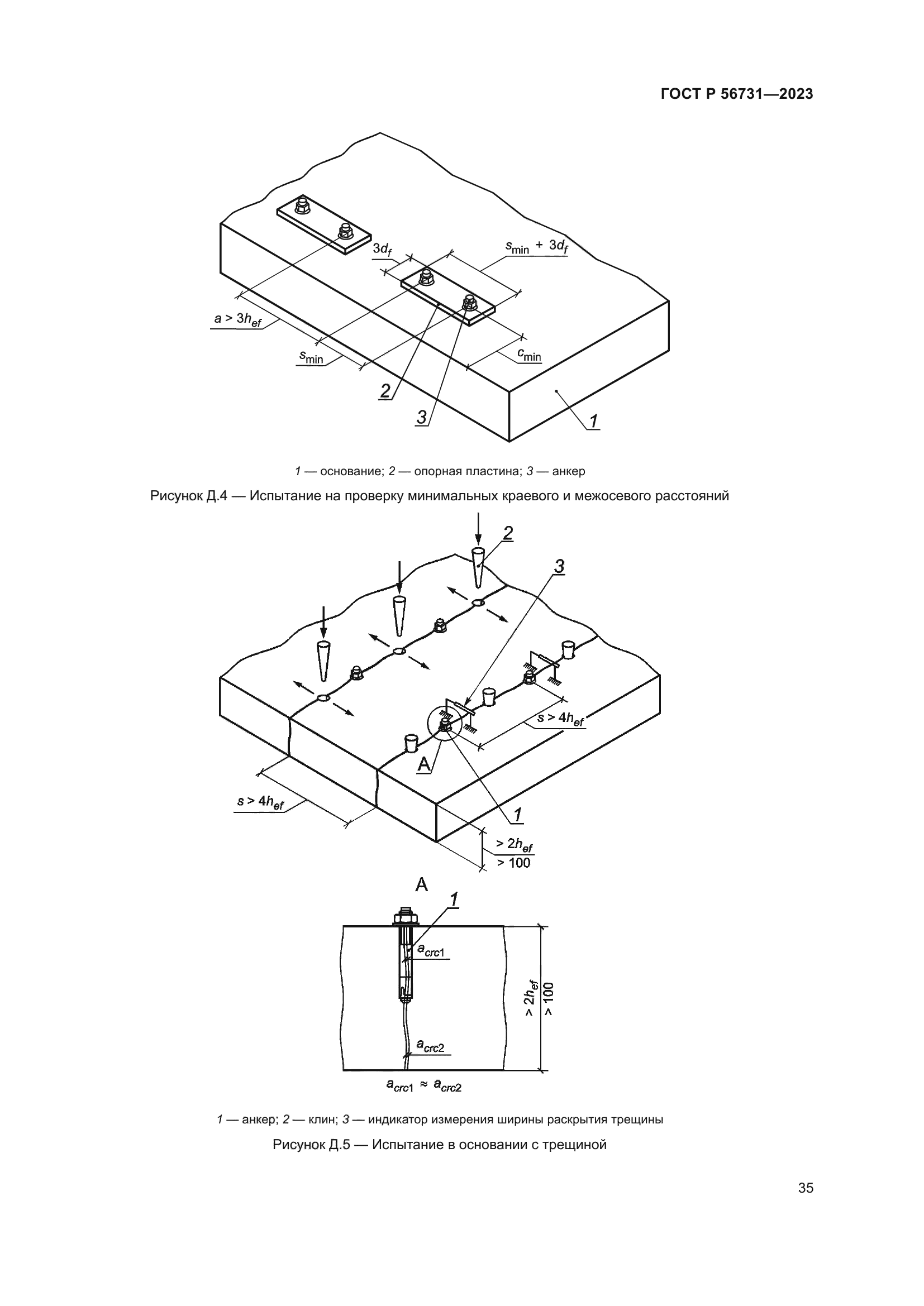
| Область применения: | Настоящий стандарт распространяется на механические анкеры c контролем момента затяжки, с контролем перемещения, анкеры-шурупы и анкеры с уширением, установленные в готовое основание из тяжелого бетона, и устанавливает методы их испытания, требования к оценке их прочностных и деформативных характеристик |
|