| Обозначение: |  ГОСТ Р 70646.1-2023 |
| Статус: | действующий |
| Название рус.: | Воздействие электрического тока на людей и домашних животных. Часть 1. Общие аспекты |
| Название англ.: | Effects of current on human beings and livestock. Part 1. General aspects |
| Дата актуализации текста: | 01.01.2024 |
| Дата актуализации описания: | 01.01.2024 |
| Дата издания: | 06.07.2023 |
| Дата введения: | 01.08.2023 |
| Нормативные ссылки: | ГОСТ IEC Guide 104; ГОСТ Р 70646.2–2023; ГОСТ Р МЭК 60601-1; ГОСТ Р МЭК 60990 |
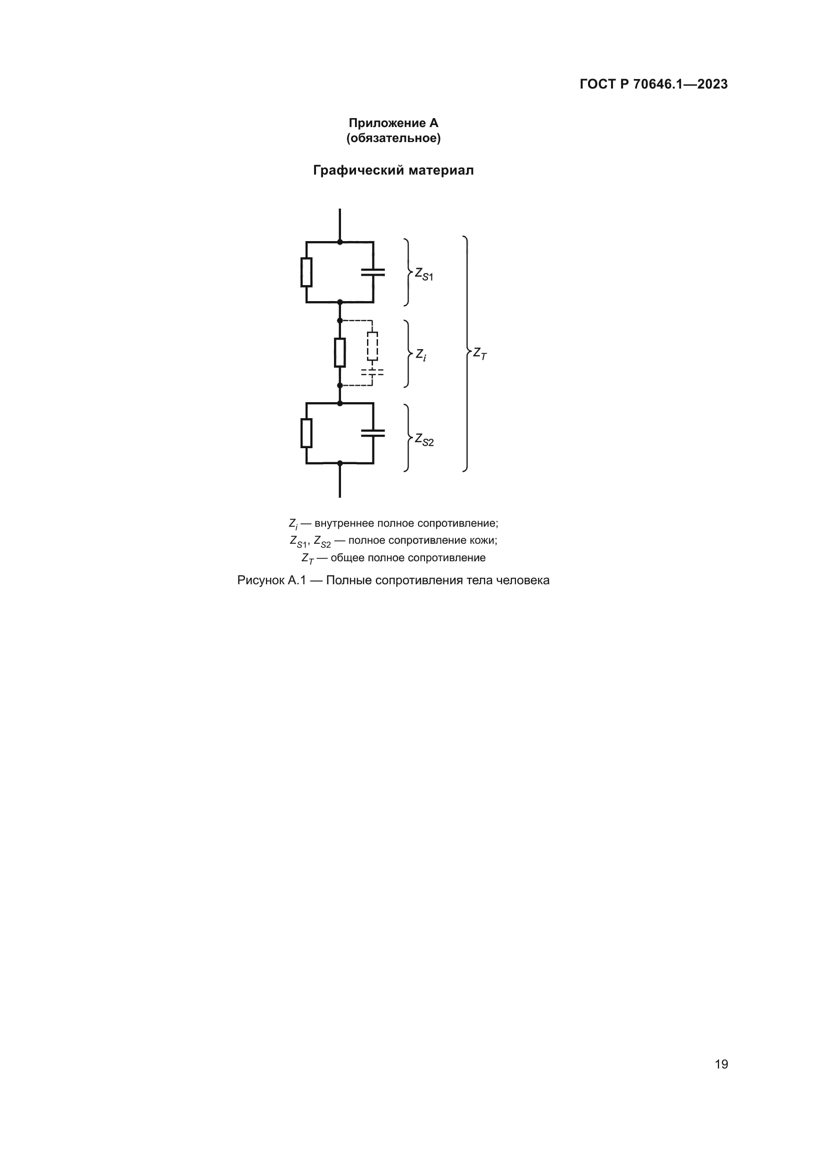
| Область применения: | Настоящий стандарт устанавливает общие аспекты в области воздействия на человека и домашних животных протекающих по ним постоянного или переменного синусоидального токов в диапазоне частот от 15 до 100 Гц. Настоящий стандарт может быть применен для определения пороговых значений напряжений прикосновения и шага на переменном и постоянном токах в зависимости от пути протекания тока через тело, площади контакта электрода с кожей, влажности места контакта. Настоящий стандарт содержит характеристики электрического сопротивления тела человека и домашних животных и факторы, влияющие на его значение. Требования стандарта необходимо учитывать при определении предельно допустимых значений напряжения и тока прикосновения и шага, а также при выборе мер защиты людей и животных от поражения электрическим током |
|