| Обозначение: |  ГОСТ Р 50267.38-99 |
| Статус: | отменён |
| Название рус.: | Изделия медицинские электрические. Часть 2. Частные требования безопасности к кроватям медицинским электрическим |
| Название англ.: | Medical electrical equipment. Part 2. Particular requirements for the safety of electrically operated hospital beds |
| Дата актуализации текста: | 06.04.2015 |
| Дата актуализации описания: | 01.07.2023 |
| Дата издания: | 16.06.2000 |
| Дата введения: | 01.01.2001 |
| Дата окончания срока действия: | 01.01.2015 |
| Код ОКП: | 945210 |
| Содержит требования: | IEC 60601-2-38(1996) |
| На территории РФ пользоваться: | ГОСТ 30324.2.38-2012 |
| Нормативные ссылки: | ISO 2204:1979; ГОСТ 14254-96; ГОСТ 30324.0-95; ГОСТ Р 50267.0-92; ГОСТ Р 50267.0.2-95 |
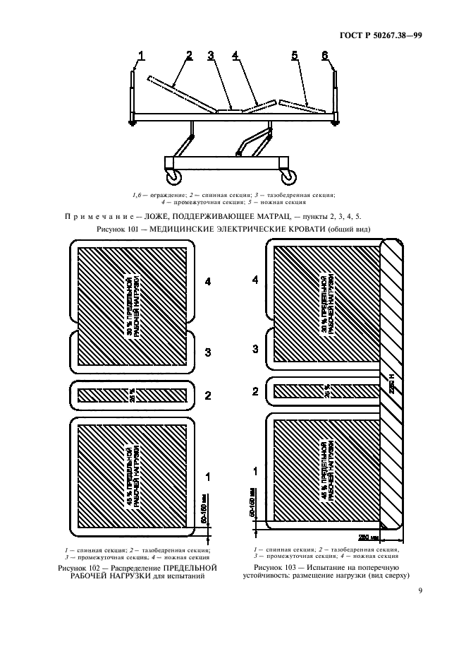
| Область применения: | Настоящий стандарт устанавливает требования к кроватям медицинским электрическим |
| Список изменений: | №0 от 01.01.2015 (рег. 29.11.2012) «Текстовое изменение; Изменено заглавие» |
|