| Обозначение: |  ГОСТ Р 51262.3-99 |
| Статус: | отменён |
| Название рус.: | Изделия огнеупорные пятовые общего назначения. Форма и размеры |
| Название англ.: | Refractory skew products of general use. Form and sizes |
| Дата актуализации текста: | 06.04.2015 |
| Дата актуализации описания: | 01.07.2023 |
| Дата издания: | 01.04.2003 |
| Дата введения: | 01.01.2000 |
| Дата окончания срока действия: | 01.02.2019 |
| На территории РФ пользоваться: | ГОСТ 8691-2018 |
| Нормативные ссылки: | ГОСТ Р 51262.1-99; ГОСТ Р 51262.2-99 |
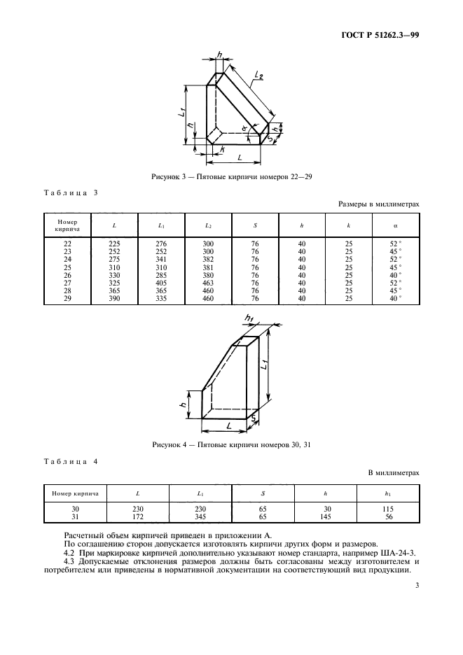
| Область применения: | Настоящий стандарт устанавливает форму и размеры огнеупорных пятовых изделий (кирпичей) общего назначения, применяемых для кладки опор арочных сводов различных тепловых агрегатов. Пятовые кирпичи применяют вместе с соответствующими по длине прямоугольными и клиновыми изделиями по ГОСТ Р 51262.1 и ГОСТ Р 51262.2 |
| Список изменений: | №0 от 01.02.2019 (рег. 17.09.2018) «Текстовое изменение; Изменено заглавие» |
|