| Обозначение: |  ГОСТ 30247.3-2002 |
| Статус: | действующий |
| Название рус.: | Конструкции строительные. Методы испытаний на огнестойкость. Двери шахт лифтов |
| Название англ.: | Building structures. Fire-resistance tests methods. Elevator shaft doors |
| Дата актуализации текста: | 06.04.2015 |
| Дата актуализации описания: | 01.07.2023 |
| Дата регистрации: | 05.12.2001 |
| Дата издания: | 09.07.2002 |
| Дата введения: | 01.07.2002 |
| Взамен в части: | ГОСТ 30247.2-97 в части приложения А |
| Нормативные ссылки: | ГОСТ 12.1.004-91; ГОСТ 12.1.019-79; ГОСТ 30247.0-94; ГОСТ 30247.1-94 |
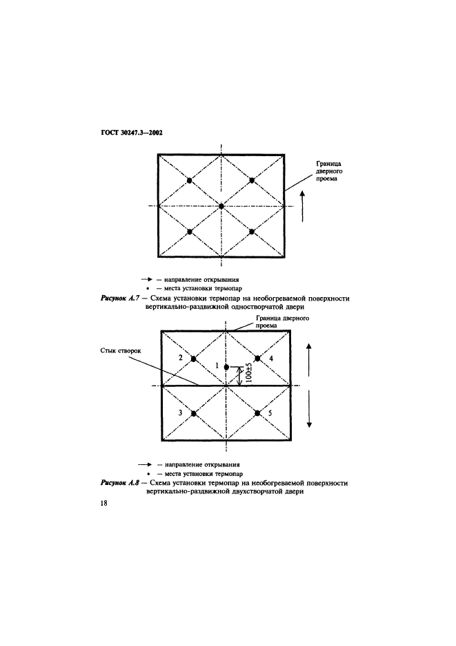
| Область применения: | Настоящий стандарт устанавливает методы испытания на огнестойкость заполнения входных (загрузочных) проемов дверей шахт лифтов:- распашных одно- и двухстворчатых;- горизонтально-раздвижных центрального и бокового открывания, в том числе телескопических;- вертикально-раздвижных одно- и двухстворчатых. Настоящий стандарт не распространяется на испытания дверей шахт лифтов с площадью светопрозрачного заполнения 25 % и более площади дверного проема в свету |
|