| Обозначение: |  ГОСТ 6051-76 |
| Статус: | действующий |
| Название рус.: | Прокладки резинотканевые полые. Технические условия |
| Название англ.: | Hollow rubberfabric gaskets. Specifications |
| Дата актуализации текста: | 06.04.2015 |
| Дата актуализации описания: | 01.07.2023 |
| Дата издания: | 01.08.2002 |
| Дата введения: | 01.01.1977 |
| Код ОКП: | 253161 |
| Взамен: | ГОСТ 6051-51 |
| Нормативные ссылки: | ГОСТ 8.051-81; ГОСТ 8.326-89; ГОСТ 9.024-74; ГОСТ 270-75; ГОСТ 1868-88; ГОСТ 2226-88; ГОСТ 2228-81; ГОСТ 2789-73; ГОСТ 2930-62; ГОСТ 10354-82; ГОСТ 14192-96; ГОСТ 15152-69 |
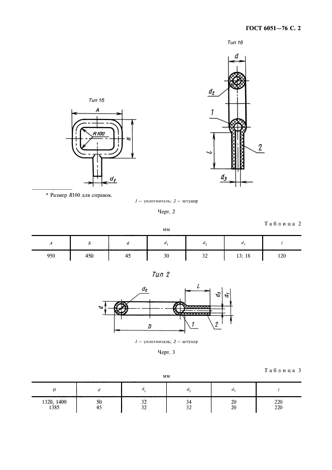
| Область применения: | Настоящий стандарт распространяется на резинотканевые полые уплотнительные прокладки, предназначенные для герметизации соединений в диффузорах и вакуум-аппаратах при производстве сахара и в другом оборудовании |
| Список изменений: | №1 от 01.06.1984 (рег. 17.12.1983) «Срок действия продлен» №2 от 01.01.1987 (рег. 08.07.1986) «Срок действия продлен» №3 от 01.09.1988 (рег. 07.04.1988) «Срок действия продлен» |
|