Скачать ГОСТ 21901-76 Поддоны авиационные типов ПА-5,6 и ПА-2,5. Общие технические условияДата актуализации: 01.06.2025 ГОСТ 21901-76
Поддоны авиационные типов ПА-5,6 и ПА-2,5. Общие технические условия
| Обозначение: |  ГОСТ 21901-76 |
| Статус: | действующий |
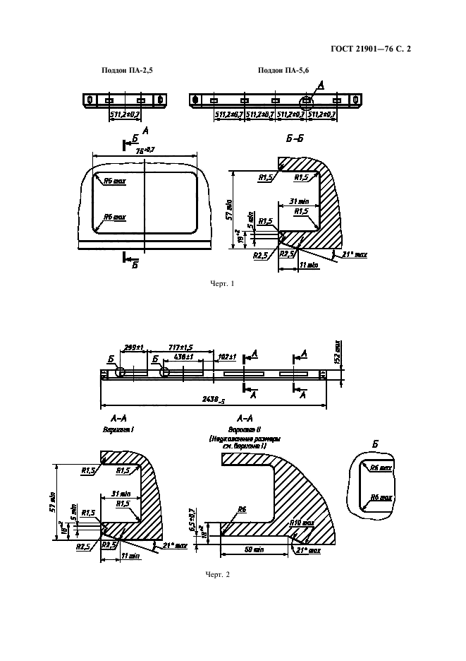
| Название рус.: | Поддоны авиационные типов ПА-5,6 и ПА-2,5. Общие технические условия | | Название англ.: | Aircraft pallets type PA-5,6 and PA-2,5. General specifications | | Дата актуализации текста: | 06.04.2015 | | Дата актуализации описания: | 01.07.2023 | | Дата издания: | 01.11.2004 | | Дата введения: | 01.07.1977 | | Код ОКП: | 317600 | | Нормативные ссылки: | ГОСТ 21005-75; ГОСТ 21787-76 | | Область применения: | Настоящий стандарт распространяется на авиационные поддоны ПА-5,6 и ПА-2,5, предназначенные для перевозки штучных грузов в потребительской или облегченной таре авиационным транспортом, оборудованным по ГОСТ 21787-76 и специализированным автомобильным транспортом | | Список изменений: | №1 от 30.09.1982 (рег. 08.04.1982) «Срок действия продлен» №2 от 01.07.1987 (рег. 29.12.1986) «Поправка» | |
      
|