| Обозначение: |  ГОСТ 22475-77 |
| Статус: | действующий |
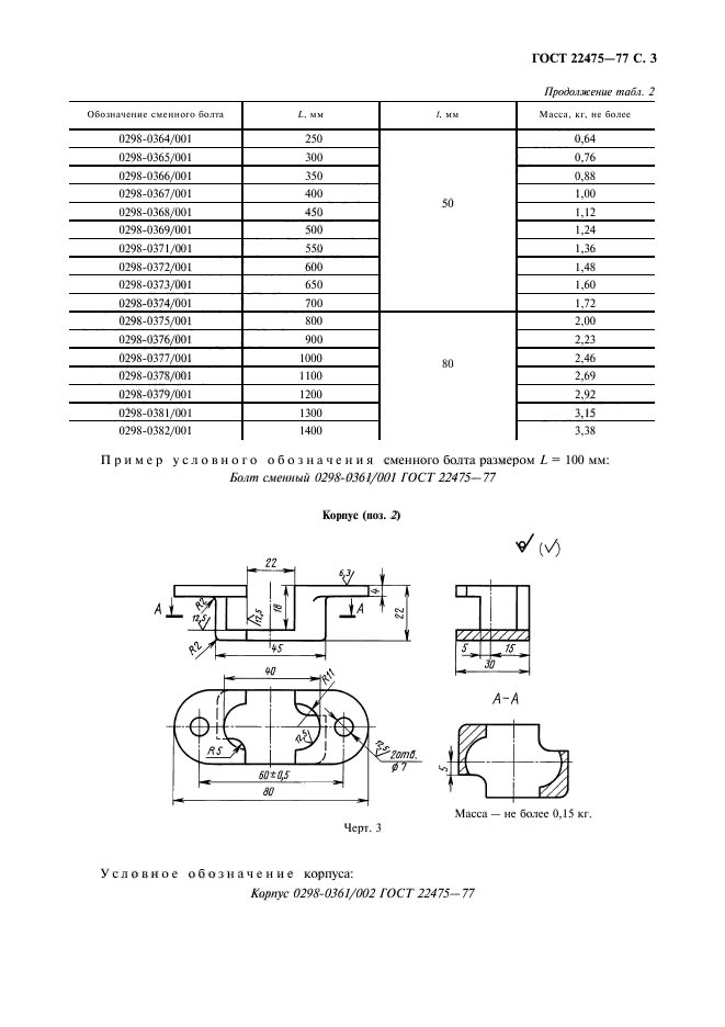
| Название рус.: | Крепления болтовые для координатных модельных плит. Конструкция и размеры |
| Название англ.: | Bolt fixtures for master pattern plates. Design and dimensions |
| Дата актуализации текста: | 06.04.2015 |
| Дата актуализации описания: | 01.07.2023 |
| Дата издания: | 01.03.2001 |
| Дата введения: | 01.07.1978 |
| Нормативные ссылки: | ГОСТ 380-94; ГОСТ 977-88; ГОСТ 2789-73; ГОСТ 5927-70; ГОСТ 6402-70; ГОСТ 7805-70; ГОСТ 9150-81; ГОСТ 16093-81; ГОСТ 26645-85 |
| Область применения: | Настоящий стандарт устанавливает конструкцию и размеры болтовых креплений для координатных модельных плит |
| Список изменений: | №1 от 01.02.1983 (рег. 16.11.1982) «Срок действия продлен» №2 от 01.07.1988 (рег. 18.12.1987) «Срок действия продлен» |
|