| Обозначение: |  ГОСТ Р 70697-2023 |
| Статус: | действующий |
| Название рус.: | Грунты. Определение характеристик прочности скальных грунтов методом трехосного сжатия |
| Название англ.: | Soils. Determination of the strength of rock soils by the triaxial compression method |
| Дата актуализации текста: | 01.07.2023 |
| Дата актуализации описания: | 01.07.2023 |
| Дата издания: | 27.03.2023 |
| Дата введения: | 01.06.2023 |
| Нормативные ссылки: | ГОСТ 5180; ГОСТ 12071; ГОСТ 20522; ГОСТ 25100; ГОСТ 30416-2020 |
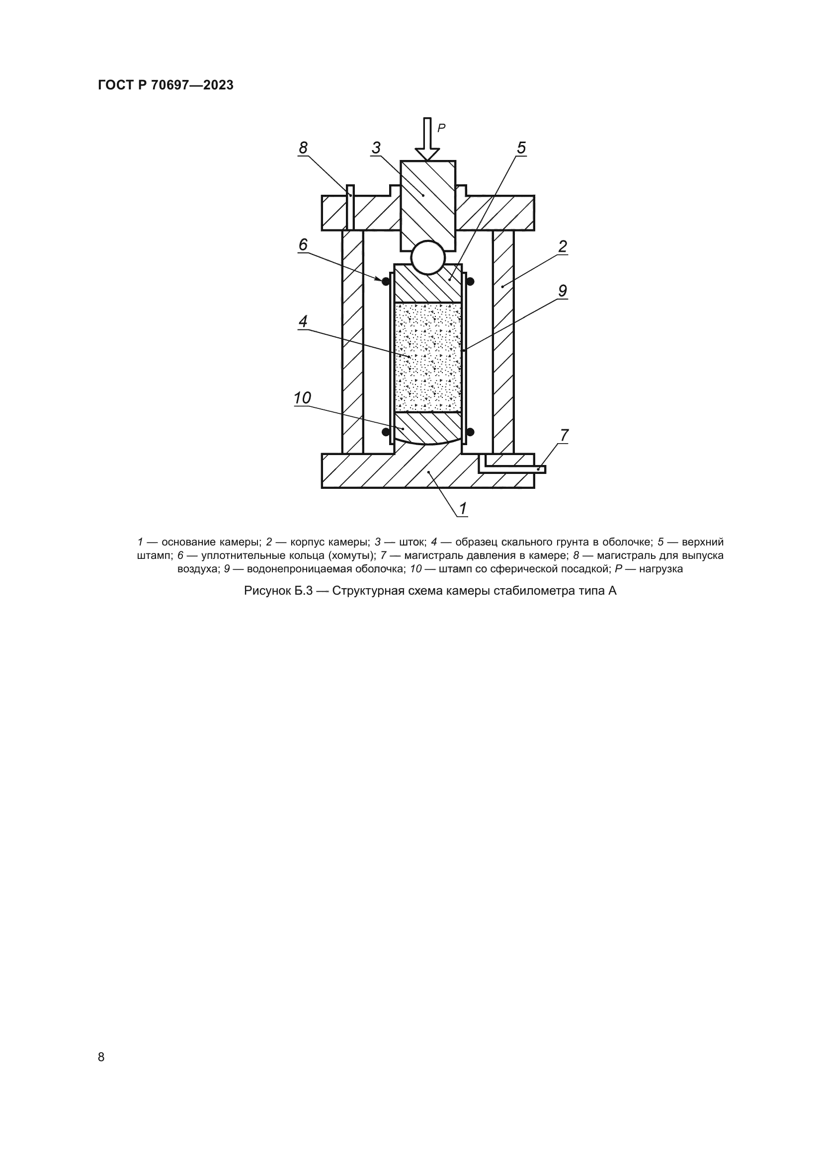
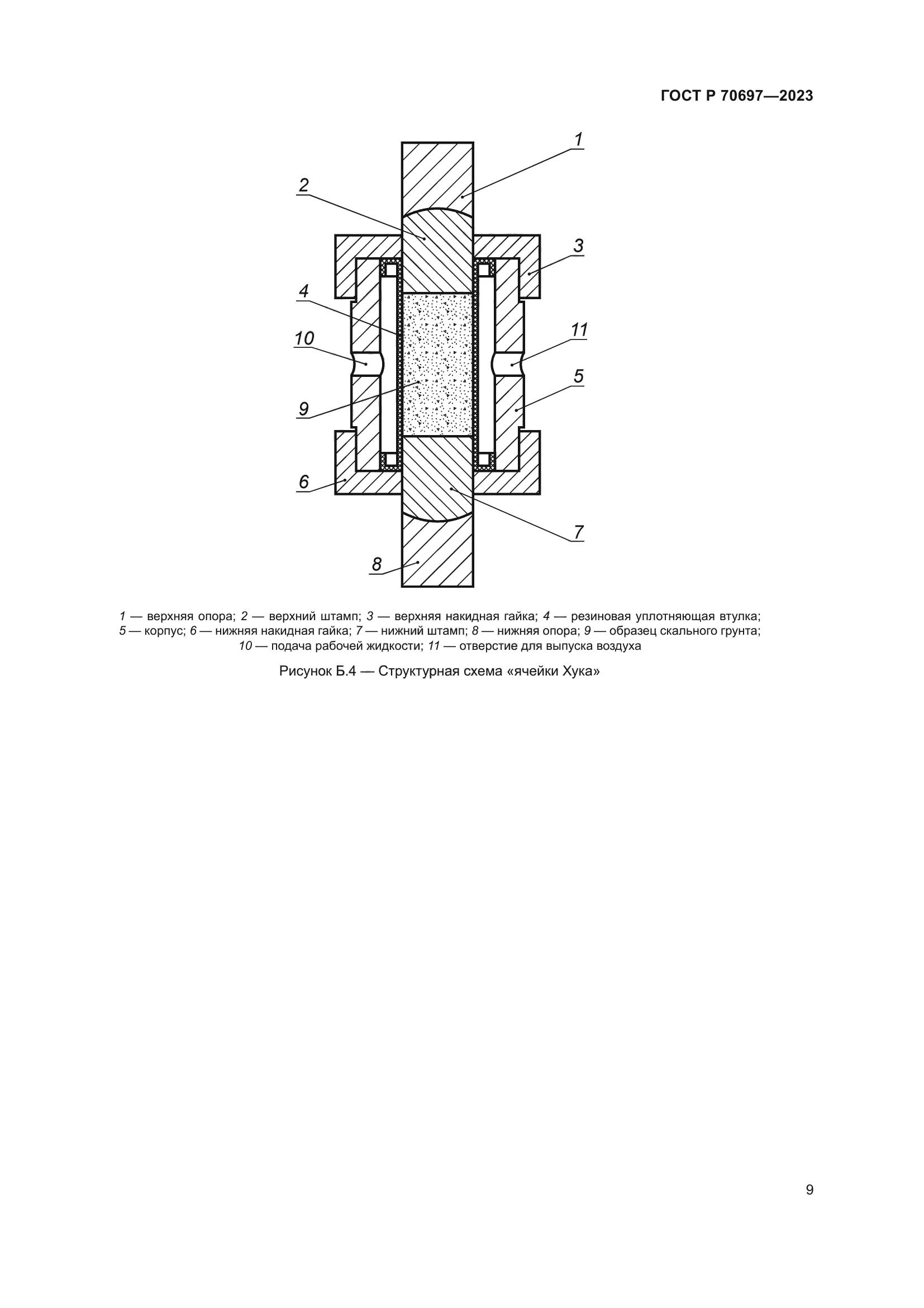
| Область применения: | Настоящий стандарт распространяется на скальные грунты и устанавливает требования к определению характеристик прочности скальных грунтов методом трехосного сжатия |
|