| Обозначение: |  ГОСТ Р 70422-2022 |
| Статус: | действующий |
| Название рус.: | Металлоконструкции РБМК-1000. Расчет на прочность при выводе блока атомной станции из эксплуатации |
| Название англ.: | Metal structures of RBMK-1000. Strength calculation during decommissioning of a nuclear power plant unit |
| Дата актуализации текста: | 01.07.2023 |
| Дата актуализации описания: | 01.07.2023 |
| Дата издания: | 13.01.2023 |
| Дата введения: | 01.02.2023 |
| Нормативные ссылки: | ГОСТ Р 59115.1; ГОСТ Р 59115.9; ГОСТ Р 59115.11 |
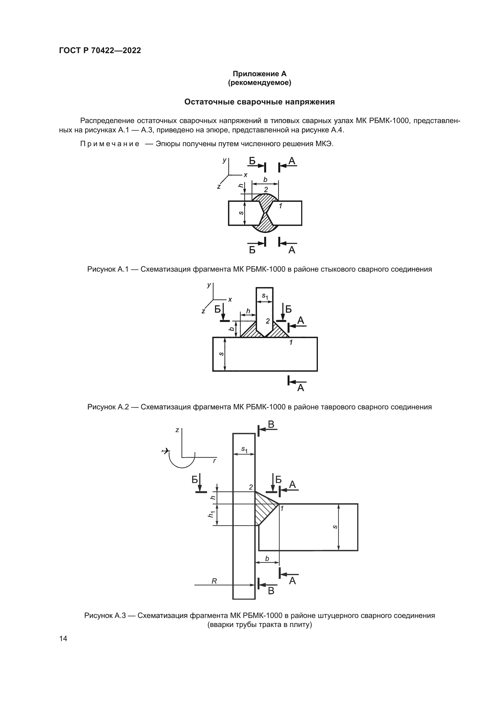
| Область применения: | Настоящий стандарт устанавливает требования к проведению поверочного расчета на прочность металлоконструкций РБМК-1000 для стадии вывода блока атомной станции из эксплуатации. Настоящий стандарт распространяется на металлоконструкции РБМК-1000 схем «Е», «ОР», «С», «Д», «КЖ» и «Л» и их элементов, включая сварные соединения и катковые опоры |
|