| Обозначение: |  ГОСТ Р 70548-2022 |
| Статус: | действующий |
| Название рус.: | Угли каменные. Метод определения выхода жидкоподвижных продуктов из пластической массы угля |
| Название англ.: | Coals. Method for determination of moving-liquid products yield from plastic mass of coal |
| Дата актуализации текста: | 01.07.2023 |
| Дата актуализации описания: | 01.01.2024 |
| Дата издания: | 21.12.2022 |
| Дата введения: | 26.10.2023 |
| Нормативные ссылки: | ГОСТ 8.423; ГОСТ 380; ГОСТ 450; ГОСТ 1186; ГОСТ 3956; ГОСТ 6613; ГОСТ 9815; ГОСТ 10742; ГОСТ 25336; ГОСТ Р 8.585; ГОСТ Р 53228 |
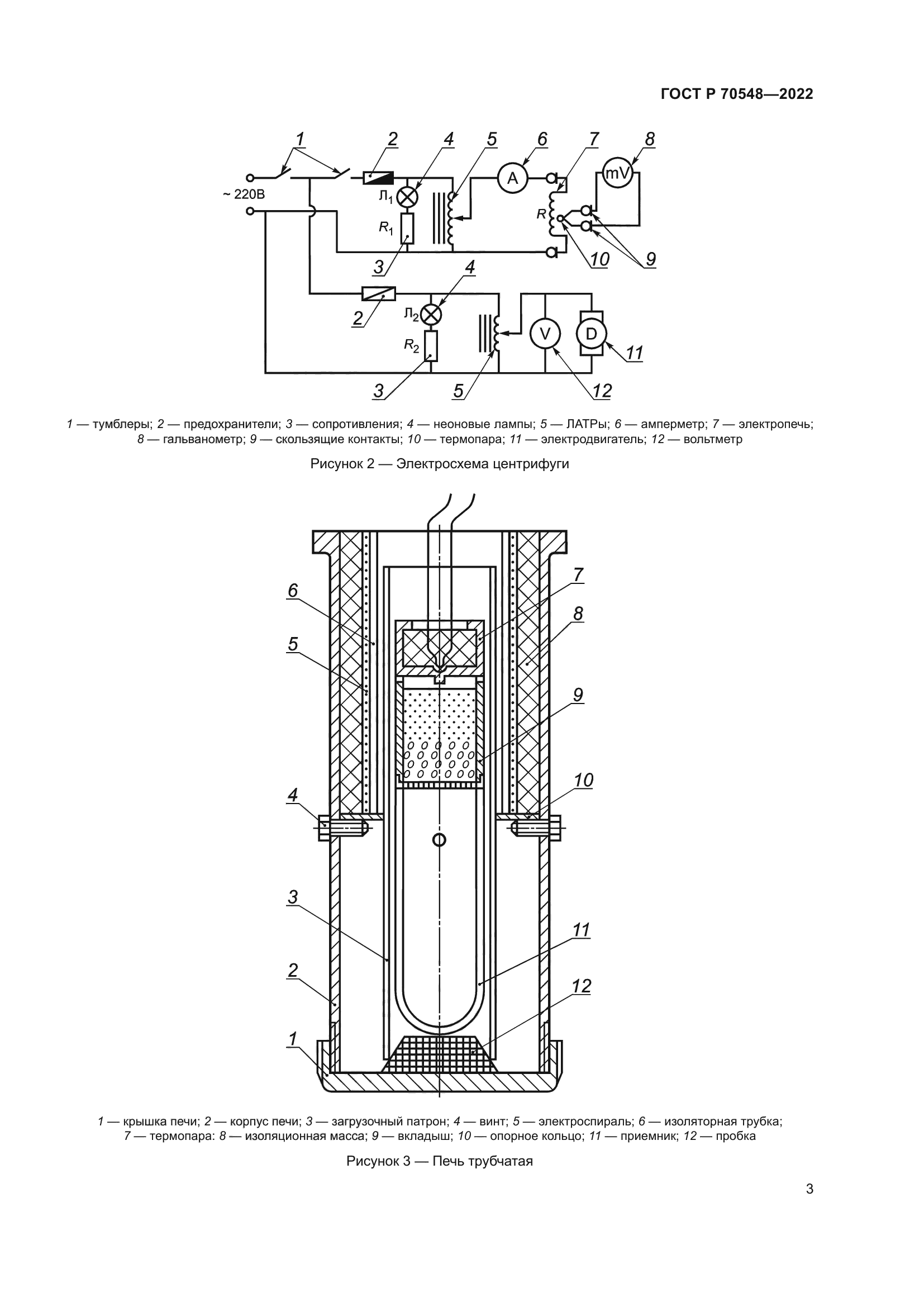
| Область применения: | Настоящий стандарт распространяется на каменные угли и устанавливает метод определения выхода продуктов термической деструкции угля (жидкоподвижных, твердого остатка, парогазовых и летучих веществ) в период пластичности под действием центробежной силы. Метод основан на нагревании угля в загрузочном патроне трубчатой электропечи центрифуги с одновременным отфильтровыванием жидкоподвижных продуктов термической деструкции в момент их образования |
|