| Обозначение: |  ГОСТ Р 70313-2022 |
| Статус: | действующий |
| Название рус.: | Дороги автомобильные общего пользования. Мостовые сооружения. Правила устройства лестничных сходов и эксплуатационных обустройств |
| Название англ.: | Automobile roads of general use. Bridge constructions. The rules for construction of stairways and operational arrangements |
| Дата актуализации текста: | 01.01.2023 |
| Дата актуализации описания: | 01.07.2023 |
| Дата издания: | 24.11.2022 |
| Дата введения: | 01.12.2022 |
| Нормативные ссылки: | ГОСТ 535; ГОСТ 8696; ГОСТ 9238; ГОСТ 10704; ГОСТ 10706; ГОСТ 13015; ГОСТ 14637; ГОСТ 23120; ГОСТ 26600; ГОСТ 26633; ГОСТ 26775-97; ГОСТ 27772; ГОСТ 32947-2014; ГОСТ 32957; ГОСТ 33119-2014; ГОСТ 33150; ГОСТ 33151; ГОСТ 33384-2015; ГОСТ 33390-2015; ГОСТ 33391; ГОСТ Р 52766-2007; ГОСТ Р 54928; ГОСТ Р 58107.1; ГОСТ Р 58882-2020; ГОСТ Р 59432-2021; ГОСТ Р 59627; ГОСТ Р 59943;СП 35.13330.2011;СП 42.13330.2016;СП 259.1325800.2016;СП 268.1325800.2016 |
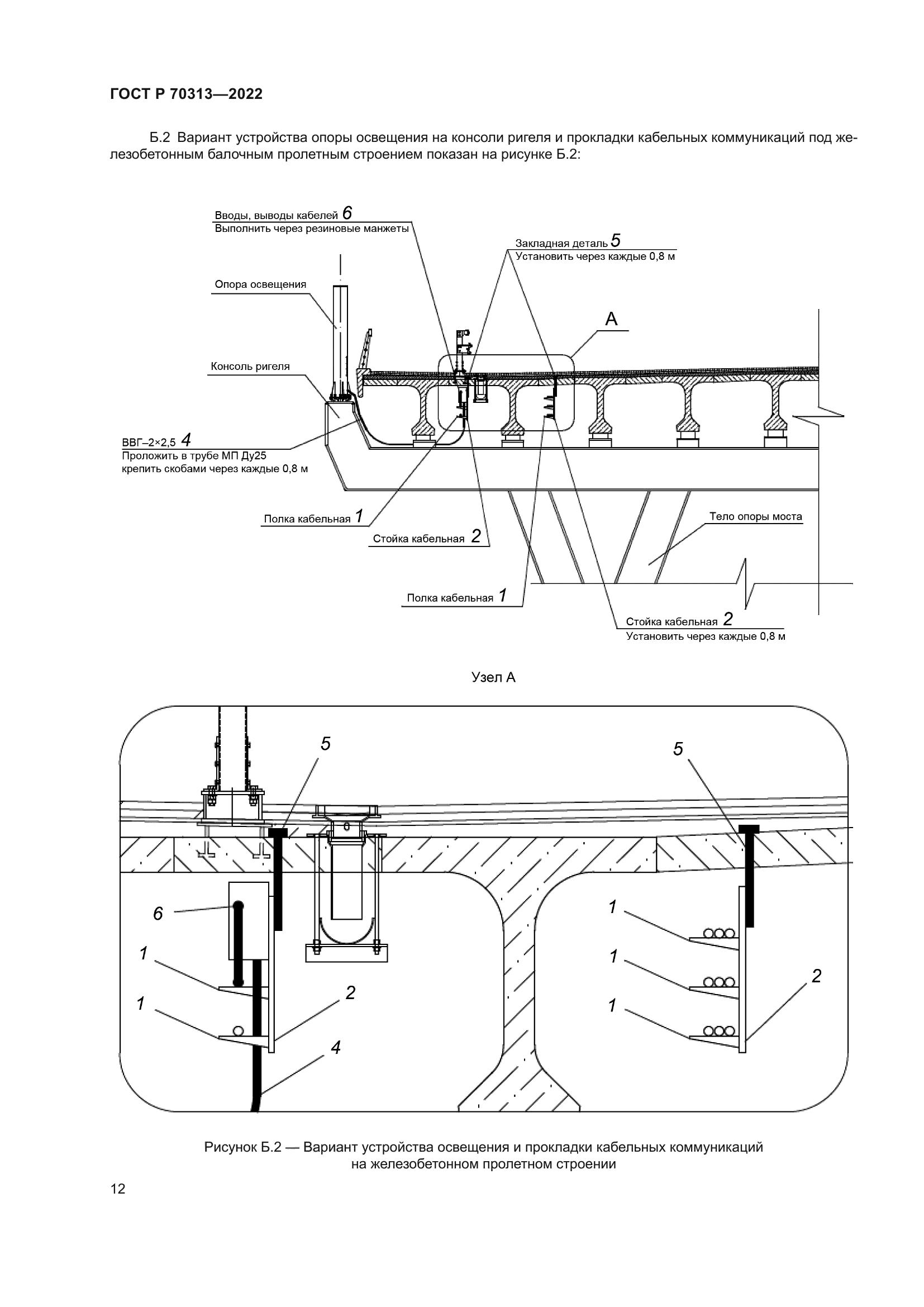
| Область применения: | Настоящий стандарт распространяется на лестничные сходы и эксплуатационные обустройства мостовых сооружений, расположенных на автомобильных дорогах общего пользования (далее – автомобильные дороги), и устанавливает требования к правилам их устройства при проектировании нового строительства, реконструкции, капитального ремонта или ремонта мостовых сооружений |
|