| Обозначение: |  ГОСТ Р 70448-2022 |
| Статус: | действующий |
| Название рус.: | Конструкции ограждающие светопрозрачные в малоэтажных жилых домах. Правила и контроль выполнения монтажных работ |
| Название англ.: | Translucent enclosing structures in low-rise residential buildings. Rules and control of work |
| Дата актуализации текста: | 01.01.2023 |
| Дата актуализации описания: | 01.07.2023 |
| Дата издания: | 18.11.2022 |
| Дата введения: | 01.05.2023 |
| Нормативные ссылки: | ГОСТ 2.102; ГОСТ 9.032; ГОСТ 427; ГОСТ 6782.1; ГОСТ 6782.2; ГОСТ 7502; ГОСТ 21519-2003; ГОСТ 23166-99; ГОСТ 24297; ГОСТ 24699; ГОСТ 24700-99; ГОСТ 24866; ГОСТ 25097; ГОСТ 30674-99; ГОСТ 30777; ГОСТ 30971-2012; ГОСТ 34378-2018; ГОСТ 2.601; ГОСТ Р 2.610; ГОСТ Р 58941; ГОСТ Р 58944; ГОСТ Р 58945; ГОСТ Р 59579; ГОСТ Р 70266;СП 15.13330.2020;СП 22.13330.2016;СП 48.13330.2019;СП 49.13330.2010;СП 70.13330.2012 |
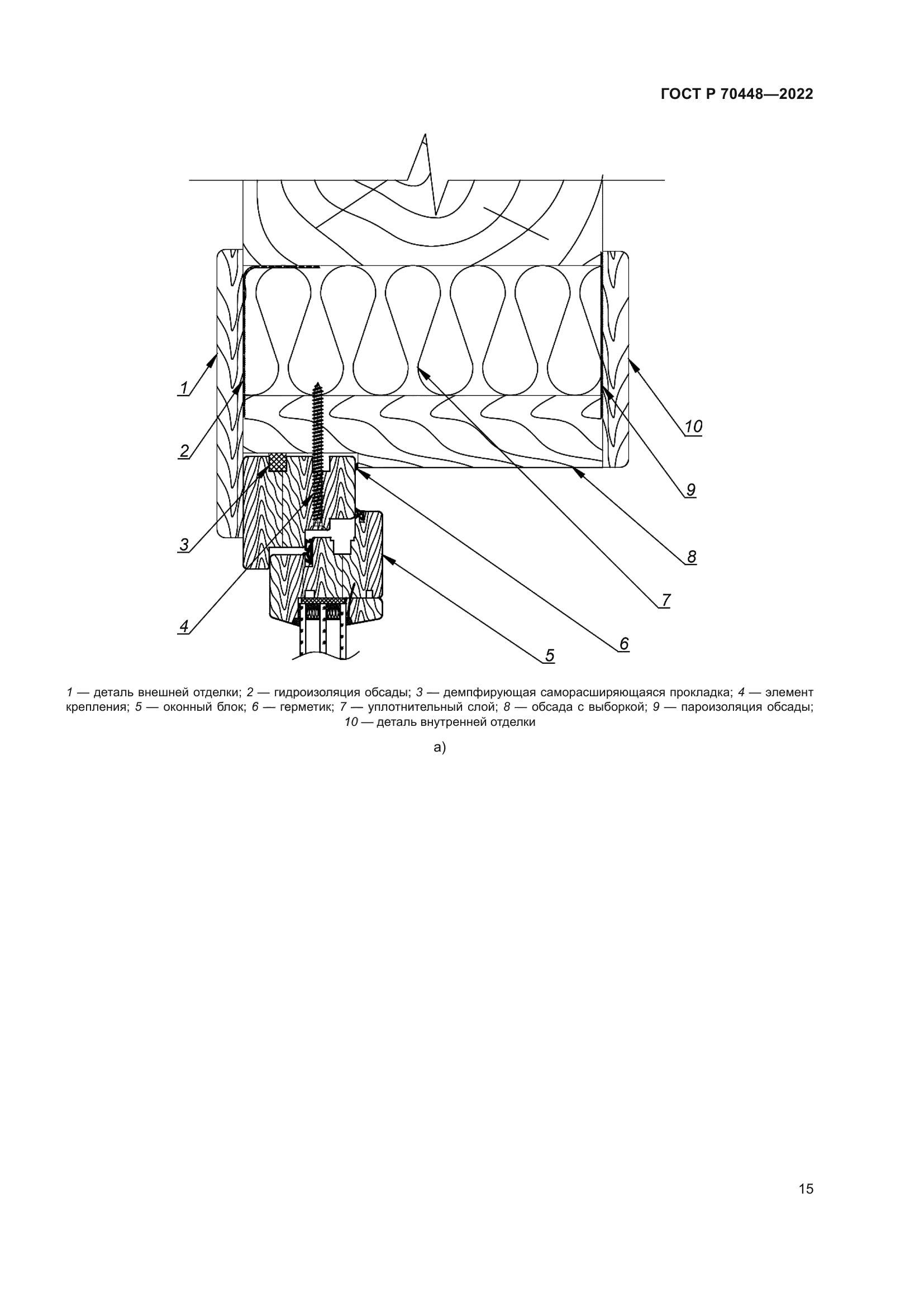
| Область применения: | Настоящий стандарт распространяется на светопрозрачные ограждающие конструкции (оконные и балконные дверные блоки заводской готовности и собираемые из комплектов) из различных материалов в наружных стенах отапливаемых помещений при строительстве, капитальном ремонте и реконструкции малоэтажных жилых домов. Стандарт следует применять совместно с ГОСТ 34378 в части использования терминологии, общих требований к организации и проведению работ |
|