| Обозначение: |  ГОСТ 32942-2022 |
| Статус: | действующий |
| Название рус.: | Брусья железобетонные предварительно напряженные для стрелочных переводов. Общие технические условия |
| Название англ.: | Prestressed reinforced concrete bearers for switches. General specifications |
| Дата актуализации текста: | 01.01.2023 |
| Дата актуализации описания: | 01.07.2023 |
| Дата регистрации: | 31.08.2022 |
| Дата издания: | 23.09.2022 |
| Дата введения: | 01.11.2022 |
| Взамен: | ГОСТ 32942-2014 |
| Нормативные ссылки: | ГОСТ 12.1.005; ГОСТ 12.1.007; ГОСТ 12.1.019; ГОСТ 12.2.003; ГОСТ 12.3.002; ГОСТ 12.3.009; ГОСТ 162; ГОСТ 166-89; ГОСТ 5378-88; ГОСТ 6727; ГОСТ 7473; ГОСТ 7502; ГОСТ 8026; ГОСТ 8267-93; ГОСТ 8269.0; ГОСТ 8736-2014; ГОСТ 10060-2012; ГОСТ 10180-2012; ГОСТ 12730.5; ГОСТ 13015-2012; ГОСТ 16017; ГОСТ 18105; ГОСТ 18321; ГОСТ 22904; ГОСТ 23706-93; ГОСТ 23732; ГОСТ 24211; ГОСТ Р 50779.12-2021; ГОСТ 26433.1-89; ГОСТ 26633; ГОСТ 30108-94; ГОСТ 31108; ГОСТ 31424; ГОСТ Р 58939-2020 |
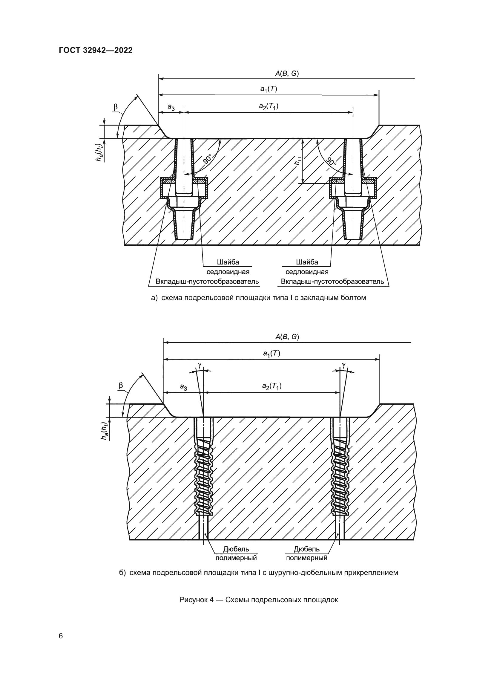
| Область применения: | Настоящий стандарт распространяется на брусья железобетонные предварительно напряженные для стрелочных переводов железных дорог (далее - брусья), используемые на железнодорожных путях общего и необщего пользования, предназначенные для обращения железнодорожного подвижного состава, и устанавливает общие технические требования к ним |
|