| Обозначение: |  ГОСТ 22442-2022 |
| Статус: | действующий |
| Название рус.: | Изделия огнеупорные для стабилизирующих камер газовых горелок. Технические условия |
| Название англ.: | Refractory articles for stabilizing gas burner chambers. Specifications |
| Дата актуализации текста: | 01.01.2023 |
| Дата актуализации описания: | 01.07.2023 |
| Дата регистрации: | 14.07.2022 |
| Дата издания: | 01.09.2022 |
| Дата введения: | 01.03.2023 |
| Взамен: | ГОСТ 22442-77 |
| Нормативные ссылки: | ГОСТ 390;ГОСТ EN 397; ГОСТ 2409; ГОСТ 2642.0; ГОСТ 2642.4; ГОСТ 2642.5; ГОСТ 3560; ГОСТ 4069; ГОСТ 4070; ГОСТ 4071.1; ГОСТ 5244; ГОСТ 5402.1; ГОСТ 7933; ГОСТ 8179; ГОСТ 9570; ГОСТ 10198; ГОСТ 14192; ГОСТ 15846; ГОСТ 24597; ГОСТ 24704; ГОСТ 24717; ГОСТ 26663; ГОСТ 30762 |
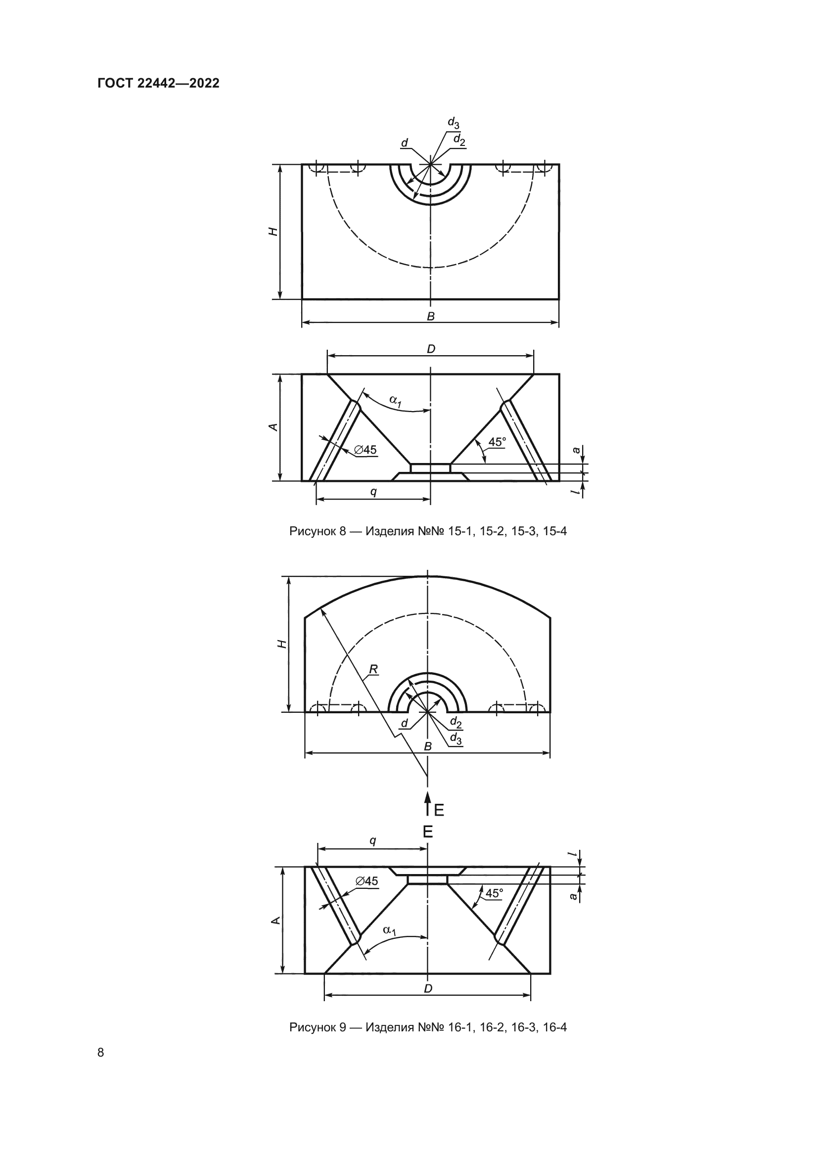
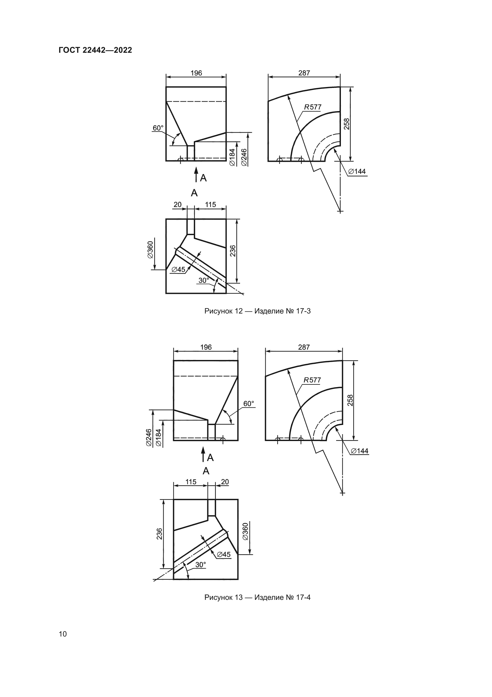
| Область применения: | Настоящий стандарт распространяется на огнеупорные изделия для стабилизирующих камер газовых горелок (далее – изделия), имеющих среднюю скорость выхода воздуха из носика горелки не более 45 м/с. Стандарт не распространяется на огнеупорные изделия для стабилизирующих камер скоростных, радиационных и плоскосимметричных горелок |
|