| Обозначение: |  ГОСТ Р 70239-2022 |
| Статус: | действующий |
| Название рус.: | Металлопродукция из нелегированных и легированных сталей. Методика определения коррозионной стойкости электрохимическим методом в хлоридсодержащих водных средах |
| Название англ.: | Metal products from unalloyed and alloy steels. Test method for corrosion resistance determination by electrochemical method inside chloride containing water environments |
| Дата актуализации текста: | 01.01.2023 |
| Дата актуализации описания: | 01.07.2023 |
| Дата издания: | 11.08.2022 |
| Дата введения: | 01.01.2023 |
| Нормативные ссылки: | ГОСТ 12.0.004; ГОСТ 12.1.005; ГОСТ 12.1.007; ГОСТ 12.1.019; ГОСТ 166; ГОСТ 1770; ГОСТ 2789; ГОСТ 4209; ГОСТ 4233; ГОСТ 4234; ГОСТ 17792; ГОСТ 23683; ГОСТ 28498; ГОСТ Р 8.568; ГОСТ Р 52381; ГОСТ Р 53228; ГОСТ Р 58144; ГОСТ Р ИСО 5725-6-2002 |
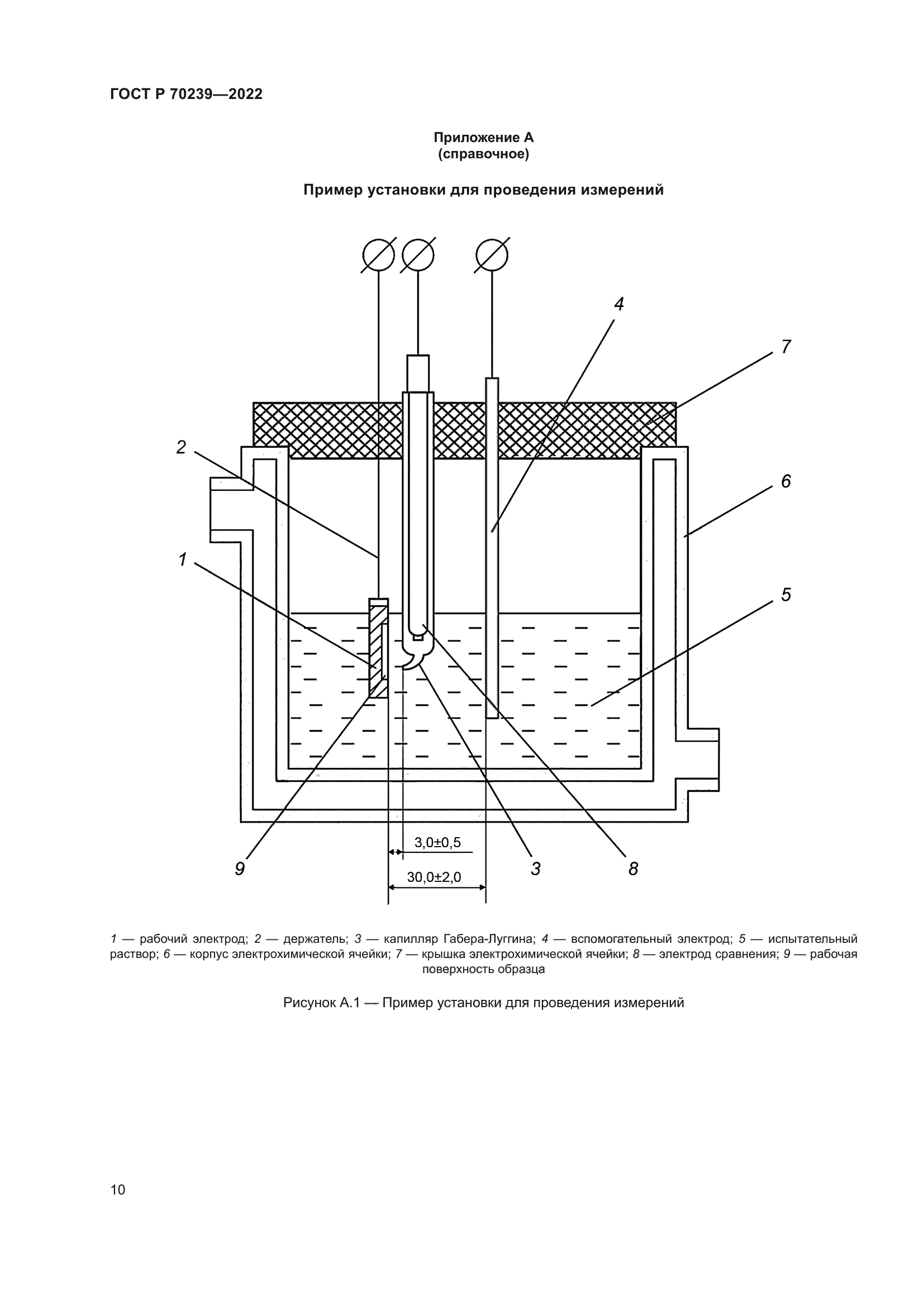
| Область применения: | Настоящий стандарт устанавливает методику определения коррозионной стойкости нелегированных и легированных сталей (с массовой долей марганца, кремния, хрома до 2 % каждого, ванадия и ниобия – до 1 % каждого, остальных элементов – не более 0,5 % каждого) электрохимическим методом в хлоридсодержащих водных средах с кислородной деполяризацией (далее – испытательный раствор) в листовом прокате и трубах |
|