| Обозначение: |  ГОСТ Р 70108-2022 |
| Статус: | действующий |
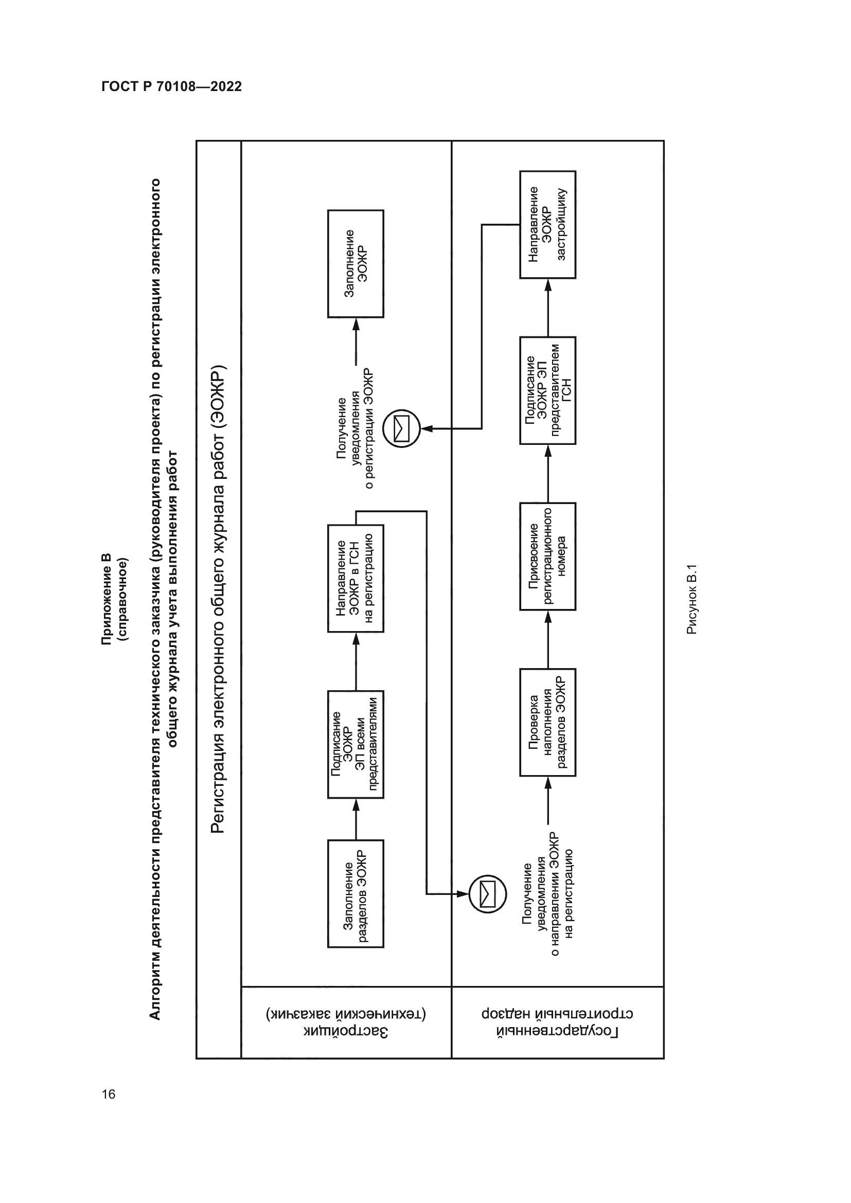
| Название рус.: | Документация исполнительная. Формирование и ведение в электронном виде |
| Название англ.: | As-built documentation. Formation and maintenance in electronic form |
| Дата актуализации текста: | 01.06.2022 |
| Дата актуализации описания: | 01.06.2025 |
| Дата издания: | 27.05.2022 |
| Дата введения: | 01.01.2023 |
| Дата окончания срока действия: | 01.10.2025 |
| Заменяющий: | ГОСТ Р 70108-2025 |
| Нормативные ссылки: | ГОСТ 32569-2013;ГОСТ ISO/IEC 17025; ГОСТ Р 51872-2019; ГОСТ Р ИСО 6707-1;СП 45.13330.2017;СП 48.13330.2019;СП 68.13330.2017;СП 70.13330.2012;СП 73.13330.2016;СП 77.13330.2016;СП 126.13330.2017;СП 129.13330.2019;СП 246.1325800.2016;СП 392.1325800.2018;СП 471.1325800.2019 |
| Область применения: | Настоящий стандарт устанавливает требования к процессам формирования и ведения исполнительной документации в электронном виде при строительстве, реконструкции и капитальном ремонте объектов капитального строительства. Настоящий стандарт предназначен для участников электронного взаимодействия при осуществлении строительства, реконструкции и капитального ремонта объектов капитального строительства |
|