Скачать ГОСТ Р 70094-2022 Инженерные сети зданий и сооружений внутренние. Устройство огнестойких воздуховодов. Правила и контроль выполнения работДата актуализации: 01.06.2025 ГОСТ Р 70094-2022
Инженерные сети зданий и сооружений внутренние. Устройство огнестойких воздуховодов. Правила и контроль выполнения работ
| Обозначение: |  ГОСТ Р 70094-2022 |
| Статус: | действующий |
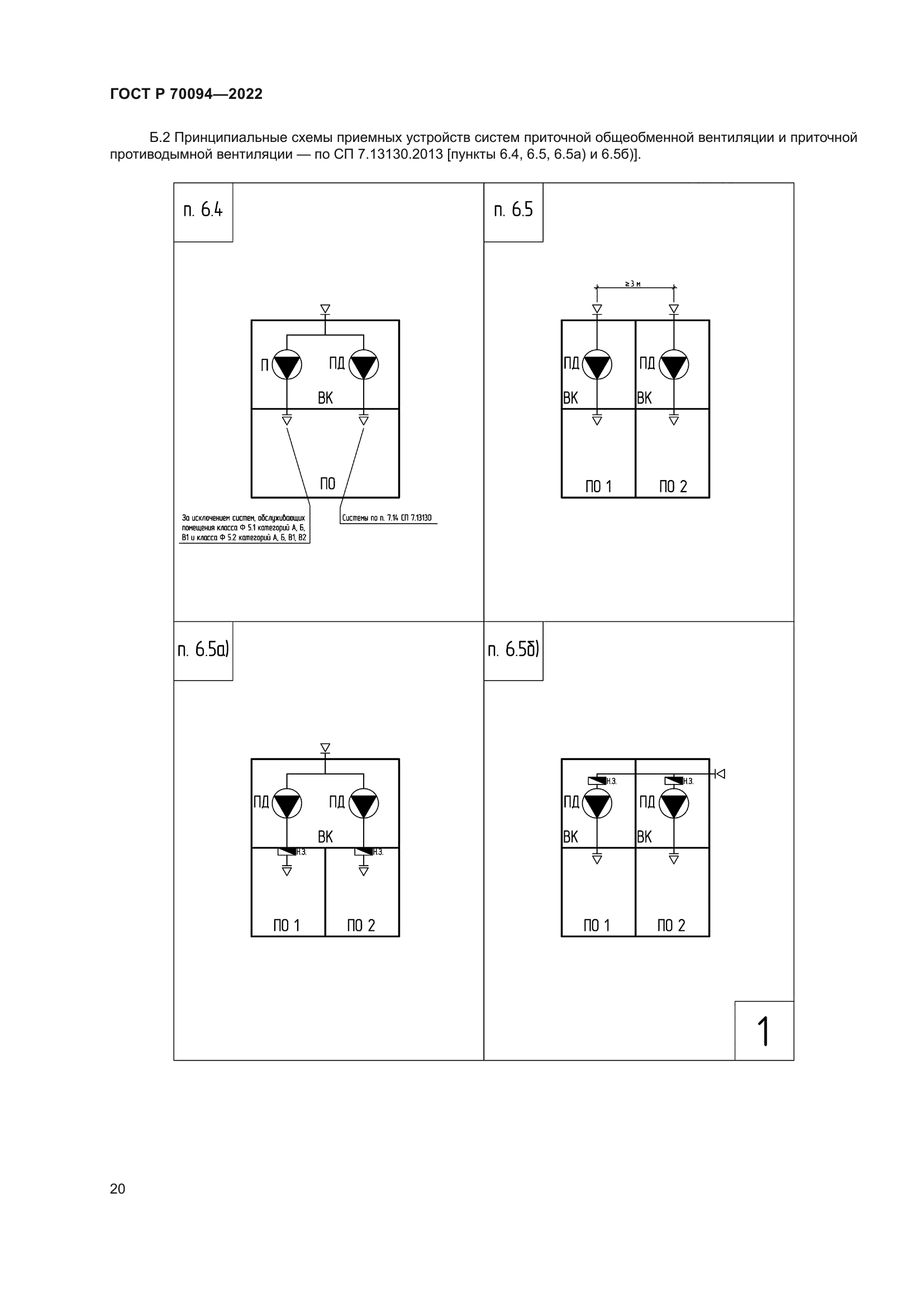
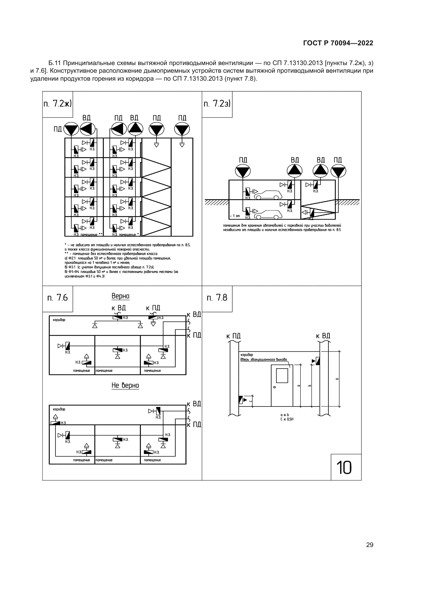
| Название рус.: | Инженерные сети зданий и сооружений внутренние. Устройство огнестойких воздуховодов. Правила и контроль выполнения работ | | Название англ.: | Internal buildings and structures utilities. Construction of flame-retardant air-duct. Regulation and monitoring of work | | Дата актуализации текста: | 01.06.2022 | | Дата актуализации описания: | 01.07.2023 | | Дата издания: | 24.05.2022 | | Дата введения: | 01.01.2023 | | Нормативные ссылки: | ГОСТ 8.502; ГОСТ 12.3.003; ГОСТ 166; ГОСТ 427; ГОСТ 3749; ГОСТ 5378; ГОСТ 6507; ГОСТ 7502; ГОСТ 23887; ГОСТ 24751; ГОСТ 25129; ГОСТ 34060; ГОСТ Р 53299-2019; ГОСТ Р 53300-2009; ГОСТ Р 58904;СП 7.13130.2013;СП 48.13330.2019;СП 60.13330.2020;СП 73.13330.2016 | | Область применения: | Настоящий стандарт распространяется на огнестойкие воздуховоды (ОВ) систем вентиляции и кондиционирования зданий и сооружений, выполненные из листовой стали, на их устройство, включающее проектирование, сборку, монтаж и проведение приемо-сдаточных испытаний. Настоящий стандарт устанавливает требования, правила и контроль производства работ по устройству ОВ, выполненных из листовой стали, в зданиях и сооружениях, являющихся объектами строительства или эксплуатируемыми объектами. Настоящий стандарт не распространяется: - на технологические каналы систем вентиляции и кондиционирования, выполненные в пустотах конструкций стен и перекрытий; - вентиляционные каналы, выполненные в элементах ограждающих строительных конструкций; - устройство ОВ систем вентиляции и кондиционирования объектов горной промышленности, метрополитенов, зданий и сооружений уникальных и особого назначения | |
                                            
|