Скачать ГОСТ Р 59865-2022 Дороги автомобильные общего пользования. Сети геодезические для проектирования и строительства. Общие требованияДата актуализации: 01.06.2025 ГОСТ Р 59865-2022
Дороги автомобильные общего пользования. Сети геодезические для проектирования и строительства. Общие требования
| Обозначение: |  ГОСТ Р 59865-2022 |
| Статус: | действующий |
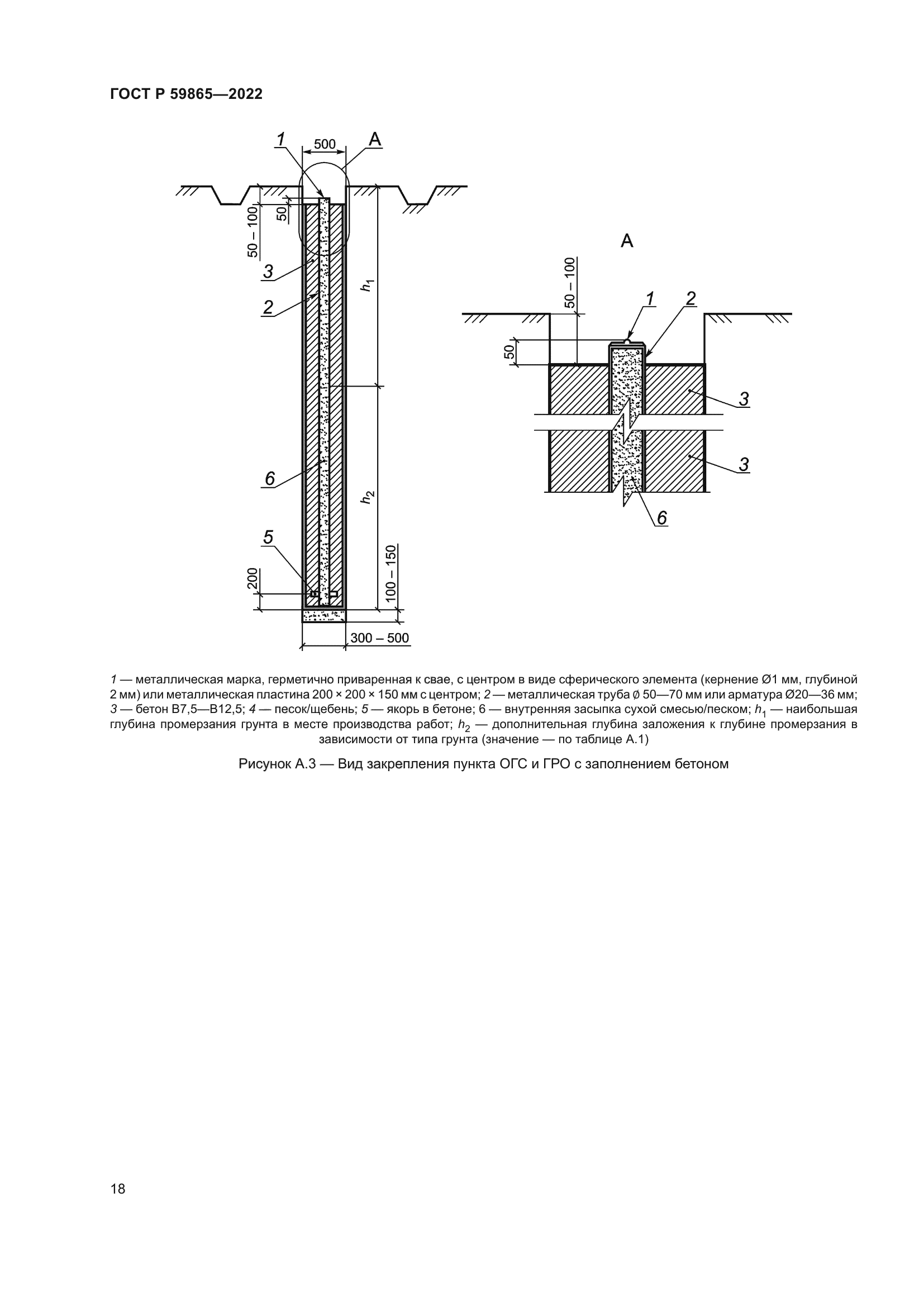
| Название рус.: | Дороги автомобильные общего пользования. Сети геодезические для проектирования и строительства. Общие требования | | Название англ.: | Automobile roads of general use. Geodetic networks for engineering and building. Technical requirement | | Дата актуализации текста: | 01.06.2022 | | Дата актуализации описания: | 01.07.2023 | | Дата издания: | 25.03.2022 | | Дата введения: | 01.04.2022 | | Нормативные ссылки: | ГОСТ 32869; ГОСТ Р 55024; ГОСТ Р 56408;СП 48.13330.2019;СП 122.13330.2012;СП 126.13330.2017 | | Область применения: | Настоящий стандарт распространяется на геодезические сети и устанавливает требования к геодезическому обеспечению и порядку создания геодезических сетей для проектирования и строительства на объектах нового строительства, реконструкции, комплексного обустройства, капитального ремонта, ремонта и эксплуатации автомобильных дорог общего пользования (далее – автомобильные дороги) и искусственных сооружений, входящих в их состав. Настоящий стандарт применяется при производстве инженерно-геодезических работ, при подготовке документации по планировке территории и проектной документации на объектах нового строительства, реконструкции, ремонтов и комплексного обустройства в ходе эксплуатации действующих автомобильных дорог и искусственных сооружений на них. При геодезическом обеспечении и инженерно-геодезических работах наряду с настоящим стандартом следует также руководствоваться требованиями нормативных правовых актов и документов, действующих на территории Российской Федерации | |
                                      
|