Скачать ГОСТ 28759.2-2022 Фланцы сосудов и аппаратов стальные плоские приварные. Конструкция и размерыДата актуализации: 01.01.2026
| ||||||||||||||||||||||||||||||||
| Обозначение: | ![]() ГОСТ 28759.2-2022 |
| Статус: | действующий |
| Название рус.: | Фланцы сосудов и аппаратов стальные плоские приварные. Конструкция и размеры |
| Название англ.: | Steel flat welded flanges of vessels and apparatus. Design and dimensions |
| Дата актуализации текста: | 01.01.2026 |
| Дата актуализации описания: | 01.07.2023 |
| Дата регистрации: | 31.01.2022 |
| Дата издания: | 14.02.2022 |
| Дата введения: | 01.07.2022 |
| Взамен: | ГОСТ 28759.2-90 |
| Нормативные ссылки: | ГОСТ 28759.1; ГОСТ 28759.5; ГОСТ 28759.6; ГОСТ 28759.11; ГОСТ 34347 |
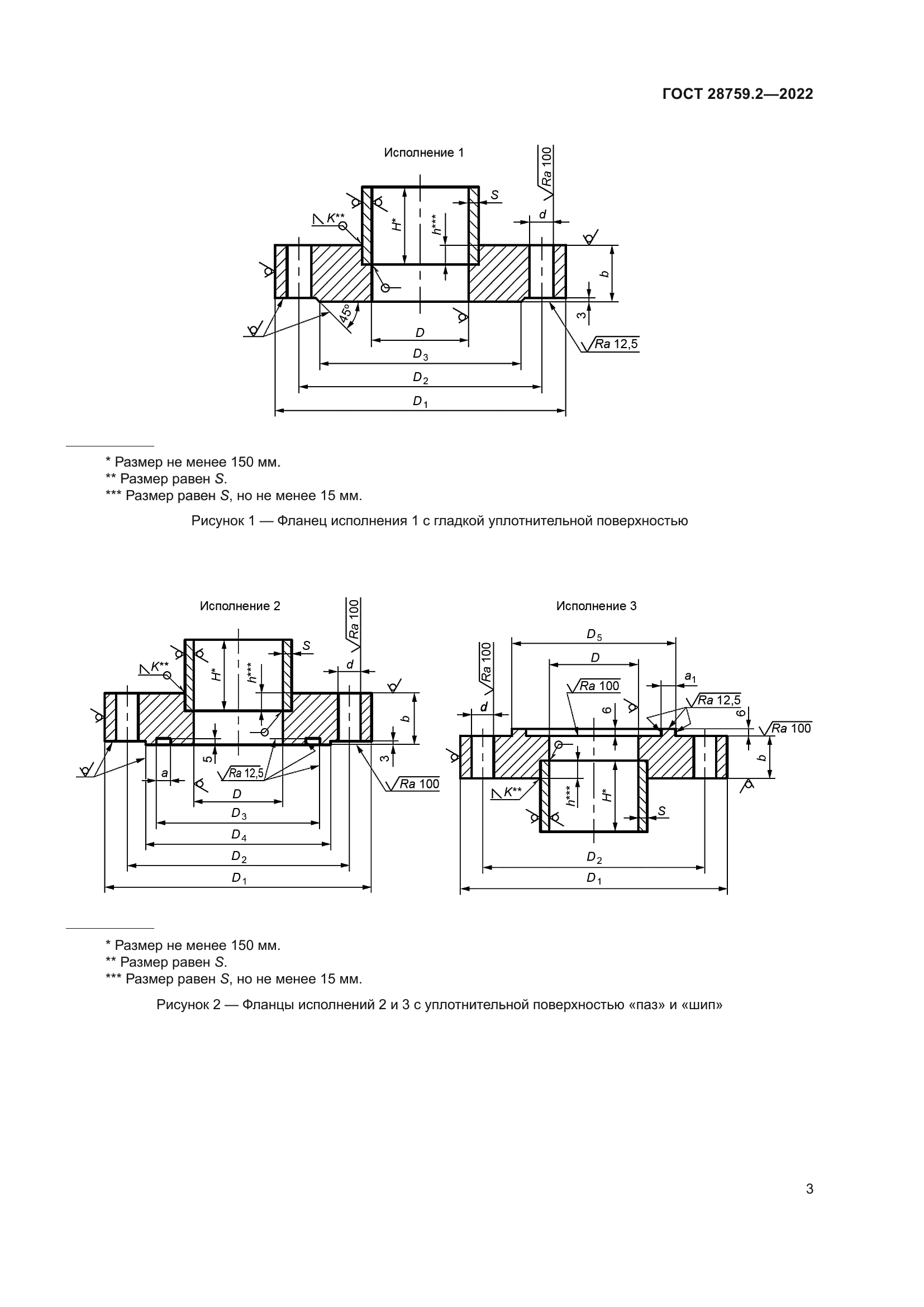
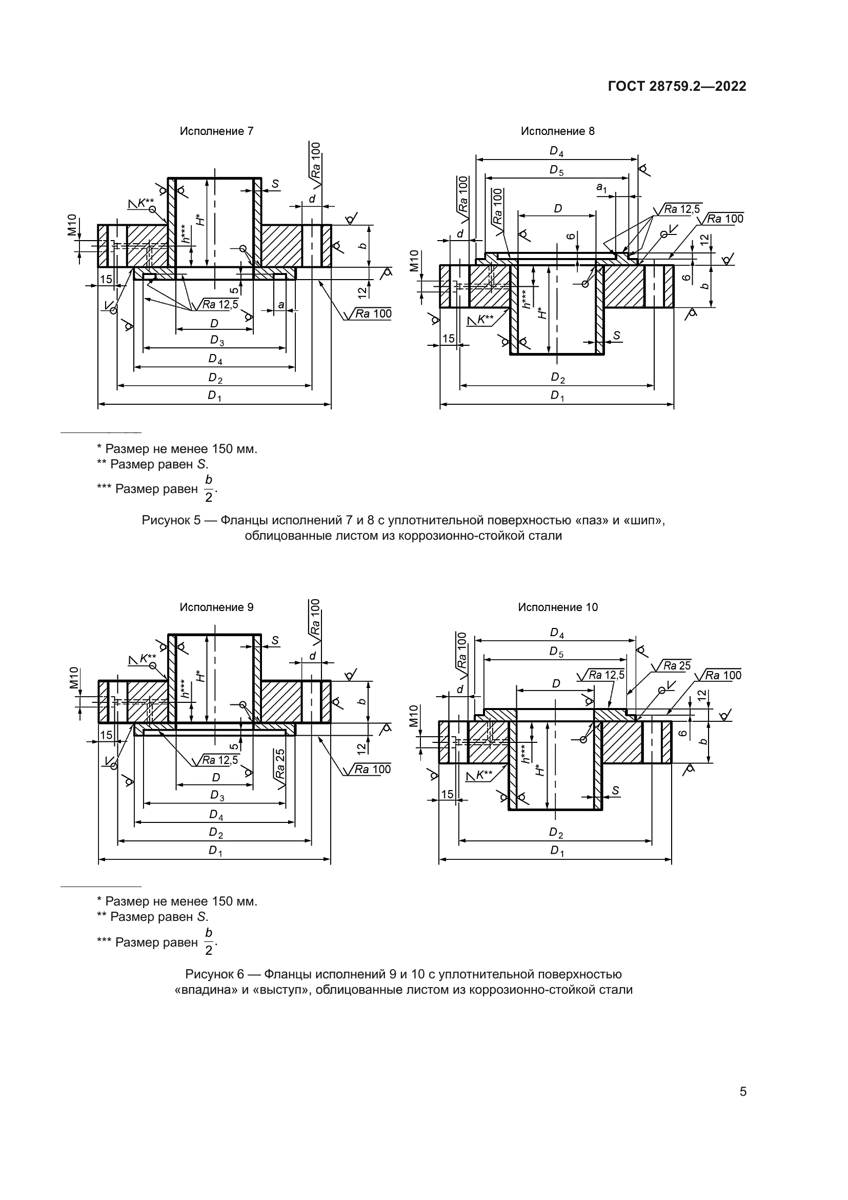
| Область применения: | Настоящий стандарт устанавливает конструкцию и размеры стальных плоских приварных фланцев сосудов и аппаратов (далее — фланцы) с внутренним диаметром от 400 до 4000 мм на номинальные давления 0,3; 0,6; 1,0; 1,6 МПа, предназначенные для работы при температуре от минус 40 °С до 300 °С в химической, нефтехимической, нефтеперерабатывающей, газоперерабатывающей, нефтяной, газовой отрасли и других отраслях промышленности. В части применяемых материалов, предельных отклонений геометрических размеров и допусков фланцы должны соответствовать требованиям ГОСТ 28759.5 и ГОСТ 34347. Пределы применения фланцев в зависимости от материала и температуры должны соответствовать ГОСТ 28759.1 |
| Приложение №1: | Поправка к ГОСТ 28759.2-2022 |

























| Обозначение: | Поправка к ГОСТ 28759.2-2022 |
| Дата введения: | 12.09.2025 |
