| Обозначение: |  ГОСТ Р 55017-2021 |
| Статус: | действующий |
| Название рус.: | Пульты централизованного наблюдения для использования в системах противокриминальной защиты. Требования к информации |
| Название англ.: | Control consoles for use in security application at central alarm station. Information requirements |
| Дата актуализации текста: | 01.06.2022 |
| Дата актуализации описания: | 01.06.2022 |
| Дата издания: | 13.01.2022 |
| Дата введения: | 01.01.2022 |
| Взамен: | ГОСТ Р 55017-2012 |
| Нормативные ссылки: | ГОСТ Р 53325 |
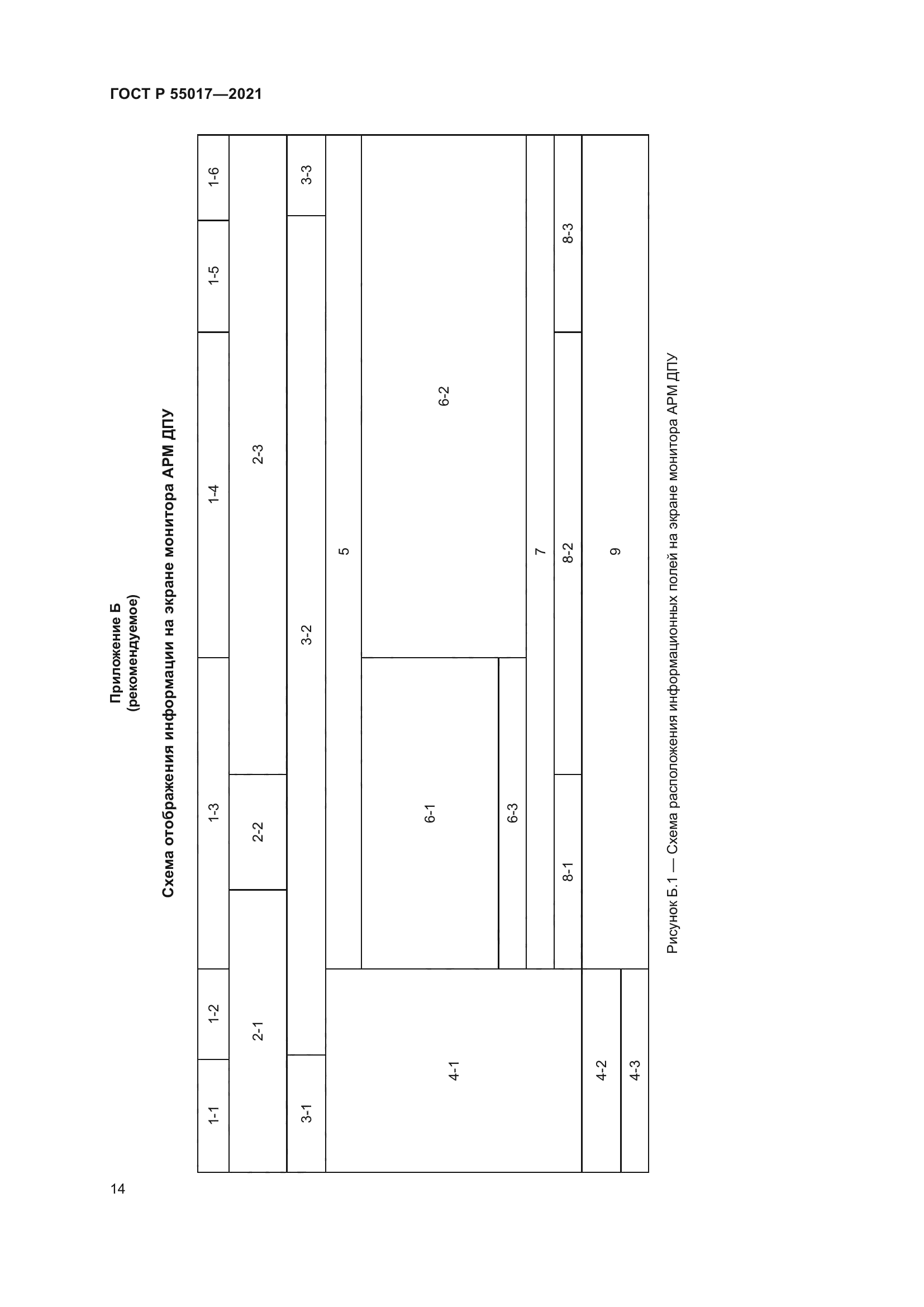
| Область применения: | Настоящий стандарт устанавливает единые требования к составу, расположению и форматам отображения информационных и управляющих элементов пользовательского интерфейса автоматизированного рабочего места (АРМ) дежурного (оператора) пульта централизованного наблюдения (далее – ДПУ) с целью повышения надежности систем противокриминальной защиты за счет унификации пользовательского интерфейса, снижения вероятности возникновения ошибок со стороны операторов и повышения удобства эксплуатации автоматизированных рабочих мест. Настоящий стандарт распространяется на вновь разрабатываемые и модернизируемые в части специализированного программного обеспечения (ПО) пультов централизованного наблюдения (ПЦН) на базе АРМ, используемых в системах централизованного наблюдения (СЦН) |
|