| Обозначение: |  ГОСТ Р 59855-2021 |
| Статус: | действующий |
| Название рус.: | Автомобильные транспортные средства. Изделия крепежные с резьбой. Испытания на сопротивление усталости при осевой нагрузке. Методы испытаний и оценка результатов |
| Название англ.: | Motor vehicles. Threaded fasteners. Axial load fatigue. Test methods and evaluation of results |
| Дата актуализации текста: | 01.06.2022 |
| Дата актуализации описания: | 01.07.2023 |
| Дата издания: | 21.12.2021 |
| Дата введения: | 01.06.2022 |
| Нормативные ссылки: | ГОСТ ISO 4032;ГОСТ ISO 4033;ГОСТ ISO 8673;ГОСТ ISO 8674; ГОСТ 11284; ГОСТ Р ИСО 4014-2013 |
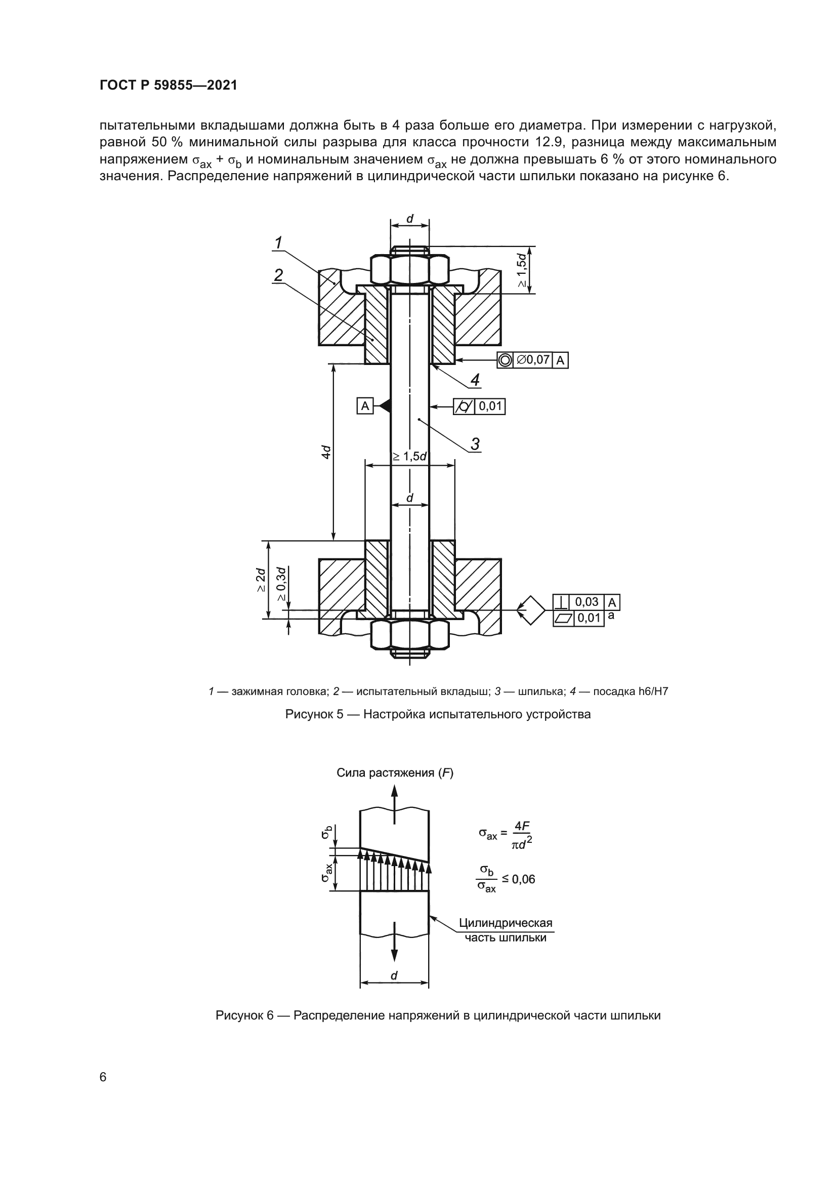
| Область применения: | Настоящий стандарт устанавливает требования к проведению испытаний на сопротивление усталости при осевой нагрузке резьбовых крепежных изделий, требования к испытательному оборудованию, методы настройки и проверки центрирования испытательного устройства, а также рекомендации для оценки результатов испытаний с учетом требований, изложенных в [1] |
|