| Обозначение: |  ГОСТ Р 59721-2021 |
| Статус: | действующий |
| Название рус.: | Магистральный трубопроводный транспорт нефти и нефтепродуктов. Колодцы. Общие технические условия |
| Название англ.: | Trunk pipeline transport of oil and oil products. Wells. General specifications |
| Дата актуализации текста: | 01.06.2022 |
| Дата актуализации описания: | 01.07.2023 |
| Дата издания: | 07.10.2021 |
| Дата введения: | 01.02.2022 |
| Нормативные ссылки: | ГОСТ 9.014; ГОСТ 12.1.004; ГОСТ 12.1.010; ГОСТ 12.2.003; ГОСТ 12.2.044; ГОСТ 12.2.049; ГОСТ 12.3.009; ГОСТ 12.4.026; ГОСТ 15.309; ГОСТ 27.002; ГОСТ 5264; ГОСТ 8713; ГОСТ 11533; ГОСТ 11534; ГОСТ 14192; ГОСТ 14771; ГОСТ 15150; ГОСТ 23170; ГОСТ 23518; ГОСТ 24297; ГОСТ 28338; ГОСТ 33857;ГОСТ IEC 60079-10-1; ГОСТ Р 2.610; ГОСТ Р 8.568; ГОСТ Р 15.301; ГОСТ Р МЭК 60079-20-1;СП 61.13330.2012 |
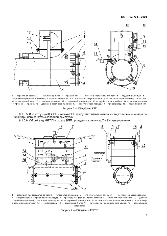
| Область применения: | Настоящий стандарт распространяется на колодцы, применяемые на объектах магистрального трубопровода для транспортирования нефти и нефтепродуктов и устанавливаемые на трубопровод: - для размещения и обеспечения эксплуатации средств измерений, технических устройств и другого оборудования, а также их защиты от затопления и несанкционированного доступа; - для обеспечения эксплуатации вантузов, а также их защиты от затопления и несанкционированного доступа |
|