Скачать ГОСТ Р 59547-2021 Защита информации. Мониторинг информационной безопасности. Общие положенияДата актуализации: 01.06.2025 ГОСТ Р 59547-2021
Защита информации. Мониторинг информационной безопасности. Общие положения
| Обозначение: |  ГОСТ Р 59547-2021 |
| Статус: | действующий |
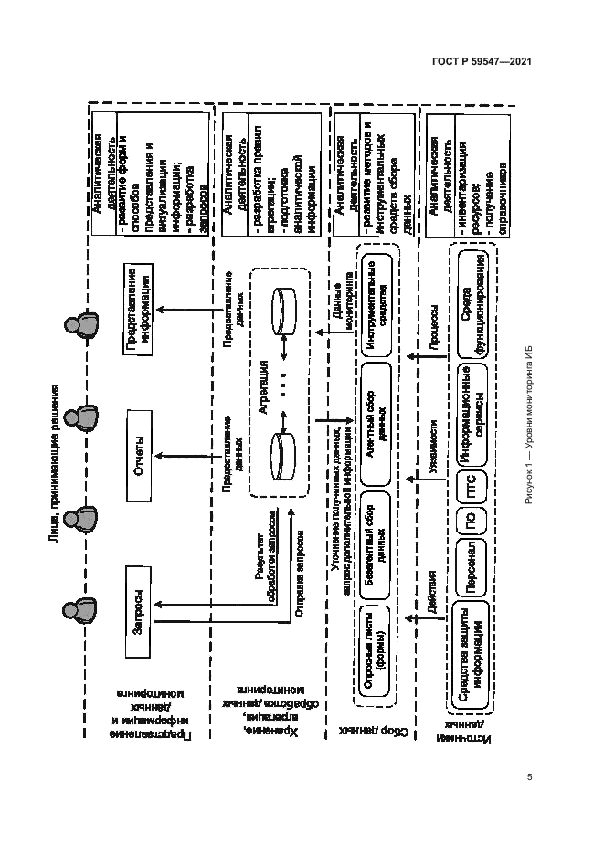
| Название рус.: | Защита информации. Мониторинг информационной безопасности. Общие положения | | Название англ.: | Information protection. Information security monitoring. General provisions | | Дата актуализации текста: | 01.06.2022 | | Дата актуализации описания: | 01.06.2022 | | Дата издания: | 02.08.2021 | | Дата введения: | 01.04.2022 | | Нормативные ссылки: | ГОСТ Р 59548 | | Область применения: | Настоящий стандарт устанавливает уровни мониторинга ИБ, требования к каждому уровню, порядок осуществления мониторинга ИБ и требования к защите данных мониторинга. Положения настоящего стандарта применимы к мероприятиям по мониторингу ИБ, осуществляемым операторами по отношению к эксплуатируемым ими информационным (автоматизированным) системам, а также к мероприятиям по мониторингу ИБ, осуществляемым в рамках деятельности по оказанию услуг мониторинга ИБ. Настоящий стандарт не устанавливает требования к средствам мониторинга ИБ и к мероприятиям, связанным с выявлением компьютерных инцидентов и реагированием на них | |
                 
|