| Обозначение: |  ГОСТ 33758-2021 |
| Статус: | действующий |
| Название рус.: | Трубы обсадные и насосно-компрессорные и муфты к ним. Основные параметры и контроль резьбовых соединений. Общие технические требования |
| Название англ.: | Casing, tubing and couplings for them. Basic parameters and inspection of thread connections. General technical requirements |
| Дата актуализации текста: | 01.01.2024 |
| Дата актуализации описания: | 01.07.2023 |
| Дата регистрации: | 26.08.2021 |
| Дата издания: | 13.10.2021 |
| Дата введения: | 01.03.2022 |
| Взамен: | ГОСТ 33758-2016 |
| Нормативные ссылки: | ГОСТ 632; ГОСТ 633; ГОСТ 9378; ГОСТ 10654; ГОСТ 11708; ГОСТ 25575; ГОСТ 25576; ГОСТ 31446; ГОСТ 34004; ГОСТ 34057 |
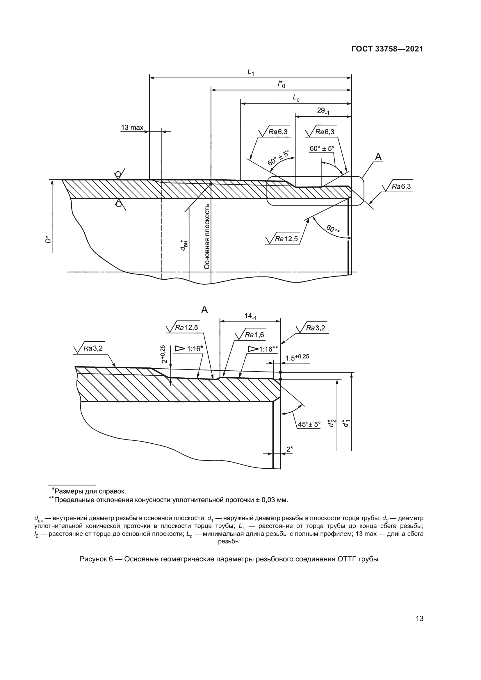
| Область применения: | Настоящий стандарт распространяется на резьбовые соединения обсадных и насосно-компрессорных труб и муфт к ним, применяемых в нефтяной и газовой промышленности, и устанавливает требования к основным параметрам и контролю резьбовых соединений. Настоящий стандарт устанавливает требования к резьбовым соединениям следующих типов: - НКМ – соединение насосно-компрессорных труб с трапецеидальной резьбой и узлом уплотнения «металл-металл»; - НКТВ – соединение насосно-компрессорных труб с высаженными наружу концами с закругленной треугольной резьбой; - НКТН – соединение насосно-компрессорных труб с невысаженными концами с закругленной треугольной резьбой; - ОТТГ – соединение обсадных труб с трапецеидальной резьбой и узлом уплотнения «металл-металл»; - ОТТМ – соединение обсадных труб с трапецеидальной резьбой |
| Приложение №1: | Поправка к ГОСТ 33758-2021 |
| Приложение №2: | Поправка к ГОСТ 33758-2021 |
|