| Обозначение: |  ГОСТ Р 59393-2021 |
| Статус: | действующий |
| Название рус.: | Экипировка защитная для контактных видов единоборств. Технические требования и методы испытаний защитной экипировки для верхней части туловища |
| Название англ.: | Protective equipment for martial arts. Technical requirements and test methods for trunk protectors |
| Дата актуализации текста: | 01.01.2022 |
| Дата актуализации описания: | 01.07.2023 |
| Дата издания: | 25.03.2021 |
| Дата введения: | 01.05.2021 |
| Нормативные ссылки: | ГОСТ ISO 105-А02;ГОСТ ISO 105-A03; ГОСТ Р ИСО 105-E04 |
| Область применения: | Настоящий стандарт устанавливает технические требования и методы испытаний защитной экипировки для верхней части туловища (далее – экипировка), которую применяют в спортивных единоборствах без оружия, таких как бокс, для защиты от травм при нанесении ударов по людям или тренировочному оборудованию |
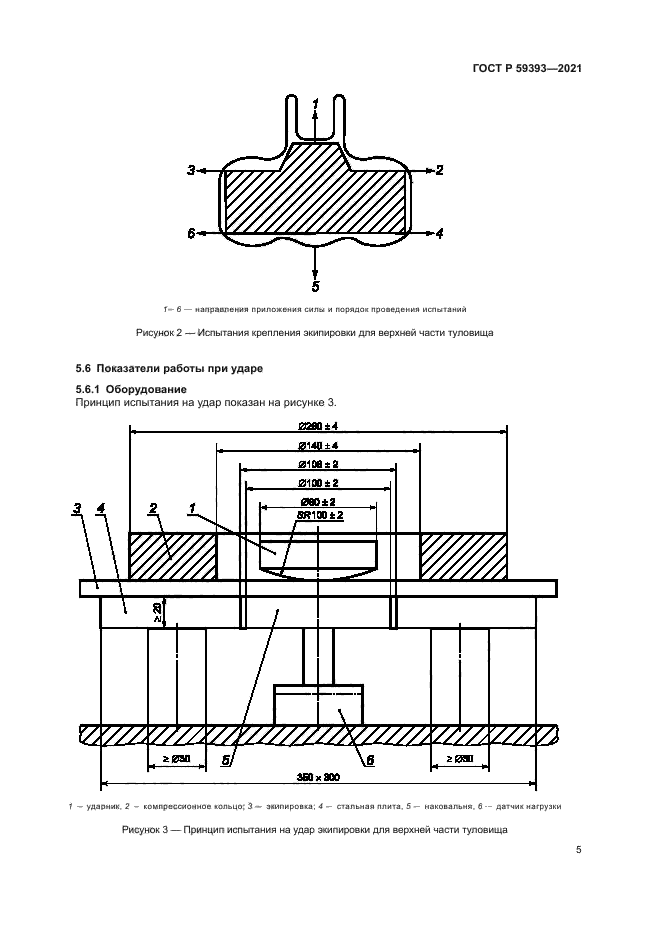
|