| Обозначение: |  ГОСТ Р 59199-2020 |
| Статус: | действующий |
| Название рус.: | Оснастка монтажная для временного закрепления и выверки конструкций зданий. Общие технические условия |
| Название англ.: | Assembling equipment for temporary fastening and adjusting construction buildings. General specifications |
| Дата актуализации текста: | 01.01.2022 |
| Дата актуализации описания: | 01.07.2023 |
| Дата издания: | 11.12.2020 |
| Дата введения: | 01.01.2021 |
| Нормативные ссылки: | ГОСТ 12.4.026; ГОСТ 5264; ГОСТ 7505; ГОСТ 7829; ГОСТ 11534; ГОСТ 15150; ГОСТ 21780; ГОСТ 23118; ГОСТ 24297-2013; ГОСТ 30893.1; ГОСТ Р 58520;СП 16.13330;СП 20.13330 |
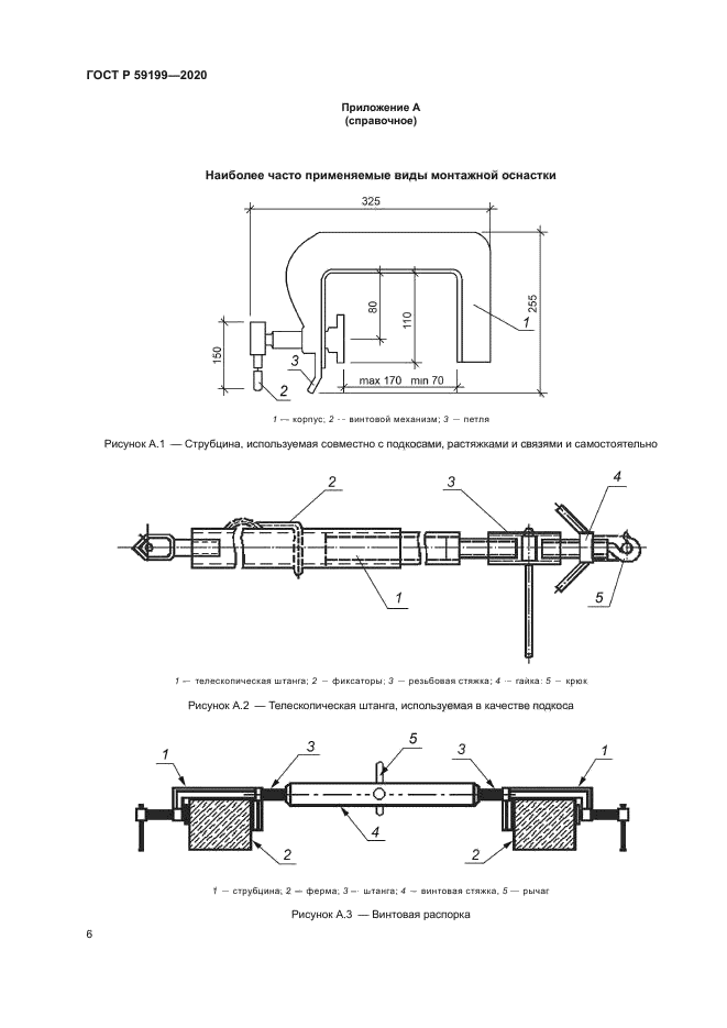
| Область применения: | Настоящий стандарт распространяется на монтажную оснастку, включающую в себя набор монтажных приспособлений для временного закрепления и выверки конструкций зданий. Стандарт устанавливает основные требования к конструкции и техническим характеристикам монтажной оснастки, правилам приемки и указаниям по эксплуатации |
|