| Обозначение: |  ГОСТ Р 59066-2020 |
| Статус: | действующий |
| Название рус.: | Магистральный трубопроводный транспорт нефти и нефтепродуктов. Системы сглаживания волн давления для магистральных нефтепроводов и нефтепродуктопроводов. Общие технические условия |
| Название англ.: | Trunk pipeline transport of oil and oil products. Pressure wave smoothing systems for trunk oil pipelines and oil product pipelines. General specifications |
| Дата актуализации текста: | 01.01.2022 |
| Дата актуализации описания: | 01.07.2023 |
| Дата издания: | 02.11.2020 |
| Дата введения: | 01.06.2021 |
| Нормативные ссылки: | ГОСТ 9.014; ГОСТ 12.1.004; ГОСТ 12.1.007; ГОСТ 12.1.010; ГОСТ 12.1.012; ГОСТ 12.1.019; ГОСТ 12.1.038; ГОСТ 12.2.003; ГОСТ 12.2.044; ГОСТ 12.2.049; ГОСТ 12.2.062; ГОСТ 12.2.063; ГОСТ 12.3.009; ГОСТ 12.3.020; ГОСТ 15.309; ГОСТ 27.003; ГОСТ 27.301; ГОСТ 305; ГОСТ 1012; ГОСТ 1667; ГОСТ 2084; ГОСТ 4666; ГОСТ 10227я; ГОСТ 10433; ГОСТ 12971; ГОСТ 14192; ГОСТ 14254; ГОСТ 15150; ГОСТ 16037; ГОСТ 16504; ГОСТ 18322; ГОСТ 22782.3; ГОСТ 23170; ГОСТ 24297; ГОСТ 24856; ГОСТ 25573; ГОСТ 30546.1; ГОСТ 30852.1; ГОСТ 30852.9; ГОСТ 30852.10; ГОСТ 31378; ГОСТ 32511; ГОСТ 32513; ГОСТ 33257; ГОСТ 33258; ГОСТ 33259; ГОСТ 33260; ГОСТ 33272; ГОСТ 33857; ГОСТ 34233.1; ГОСТ 34233.2; ГОСТ 34233.3; ГОСТ 34233.4; ГОСТ 34233.5; ГОСТ 34233.6; ГОСТ 34437; ГОСТ Р 8.568; ГОСТ Р 15.301; ГОСТ Р 27.403; ГОСТ Р 51105; ГОСТ Р 51164; ГОСТ Р 51858; ГОСТ Р 51866; ГОСТ Р 52050; ГОСТ Р 52108; ГОСТ Р 52368; ГОСТ Р 53674; ГОСТ Р 57512; ГОСТ Р 58362;СП 50.13330 ;СП 52.13330;СП 56.13330;СП 60.13330 |
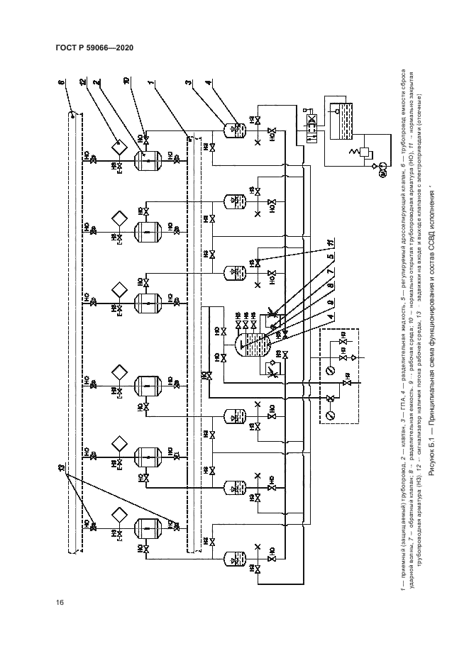
| Область применения: | Настоящий стандарт распространяется на системы сглаживания волн давления, применяемые на объектах магистрального трубопровода для транспортировки нефти и нефтепродуктов номинальным диаметром не более DN 1200 |
|