Скачать ГОСТ Р 59502-2021 Единая система условных обозначений в области информационно-телекоммуникационных системДата актуализации: 01.06.2025 ГОСТ Р 59502-2021
Единая система условных обозначений в области информационно-телекоммуникационных систем
| Обозначение: |  ГОСТ Р 59502-2021 |
| Статус: | действующий |
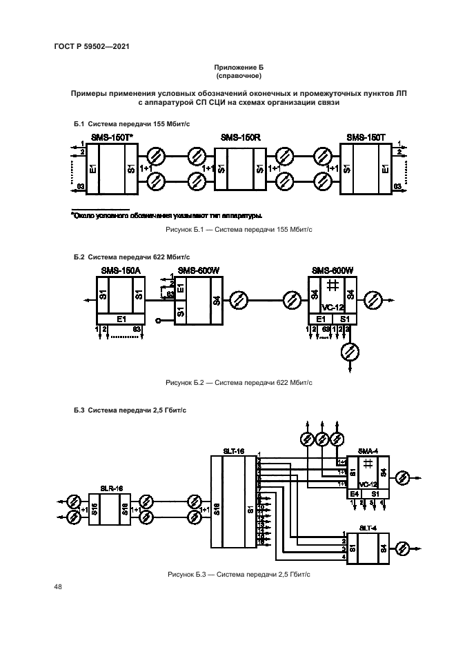
| Название рус.: | Единая система условных обозначений в области информационно-телекоммуникационных систем | | Название англ.: | Unified symbols in the field of information and telecommunication systems | | Дата актуализации текста: | 01.06.2021 | | Дата актуализации описания: | 01.07.2023 | | Дата издания: | 31.05.2021 | | Дата введения: | 30.11.2021 | | Нормативные ссылки: | ГОСТ 2.739; ГОСТ 21.406 | | Область применения: | Настоящий стандарт устанавливает единую систему условных обозначений в области информационно-телекоммуникационных систем и предназначен для проектирования, ввода в эксплуатацию и эксплуатации сооружений и устройств электросвязи. Настоящий стандарт распространяется на цифровую первичную сеть (ЦПС), вторичную сеть, образованную на базе первичной сети, и транспортную сеть, образованную на базе сетевых узлов (СУ), сетевых станций (СС) и соединяющих их линий передачи. Настоящий стандарт содержит условные обозначения проводных средств и сетей проводного вещания, в том числе: - узлов и станций первичной сети, пунктов линии передачи и объединенных узлов и станций; - оконечных станций систем передачи и аппаратуры оконечных станций систем передачи; - аппаратуры оконечных и промежуточных (усилительных и регенерационных) станций линейного тракта систем передачи; - каналов передачи первичных сетей, аппаратуры вещания и вспомогательных устройств первичной сети; - узлов, станций, подстанций и устройств вторичной телефонной сети; - направляющих сред (кабельных, воздушных) линий передачи и сетей проводного вещания; - пунктов линейной передачи с аппаратурой системы передачи синхронной цифровой иерархии (СП СЦИ). Настоящий стандарт сдержит описание функций, состава и обозначений узлов сети современных информационно-телекоммуникационных технологий, в том числе узлов: - сети уплотненного волнового мультиплексирования (dense wave division multiplexing, DWDM); - сети следующего поколения (next generation network, NGN); - транспортной сети с коммутацией; - пассивной оптической сети (passive optical network, PON); - коммутации, доступа и услуг; - поставки контента | |
                                                        
|