| Обозначение: |  ГОСТ 34710-2021 |
| Статус: | действующий |
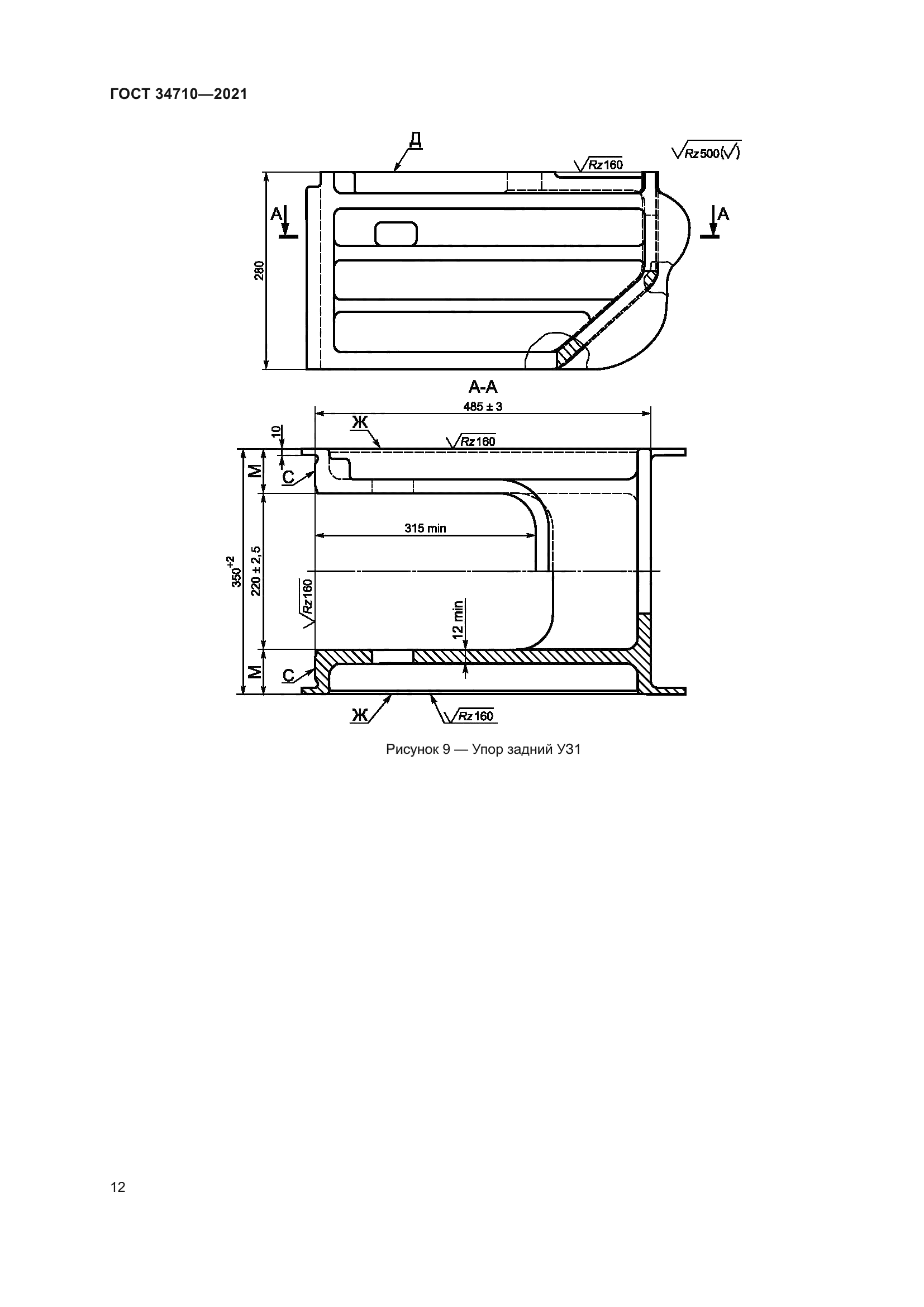
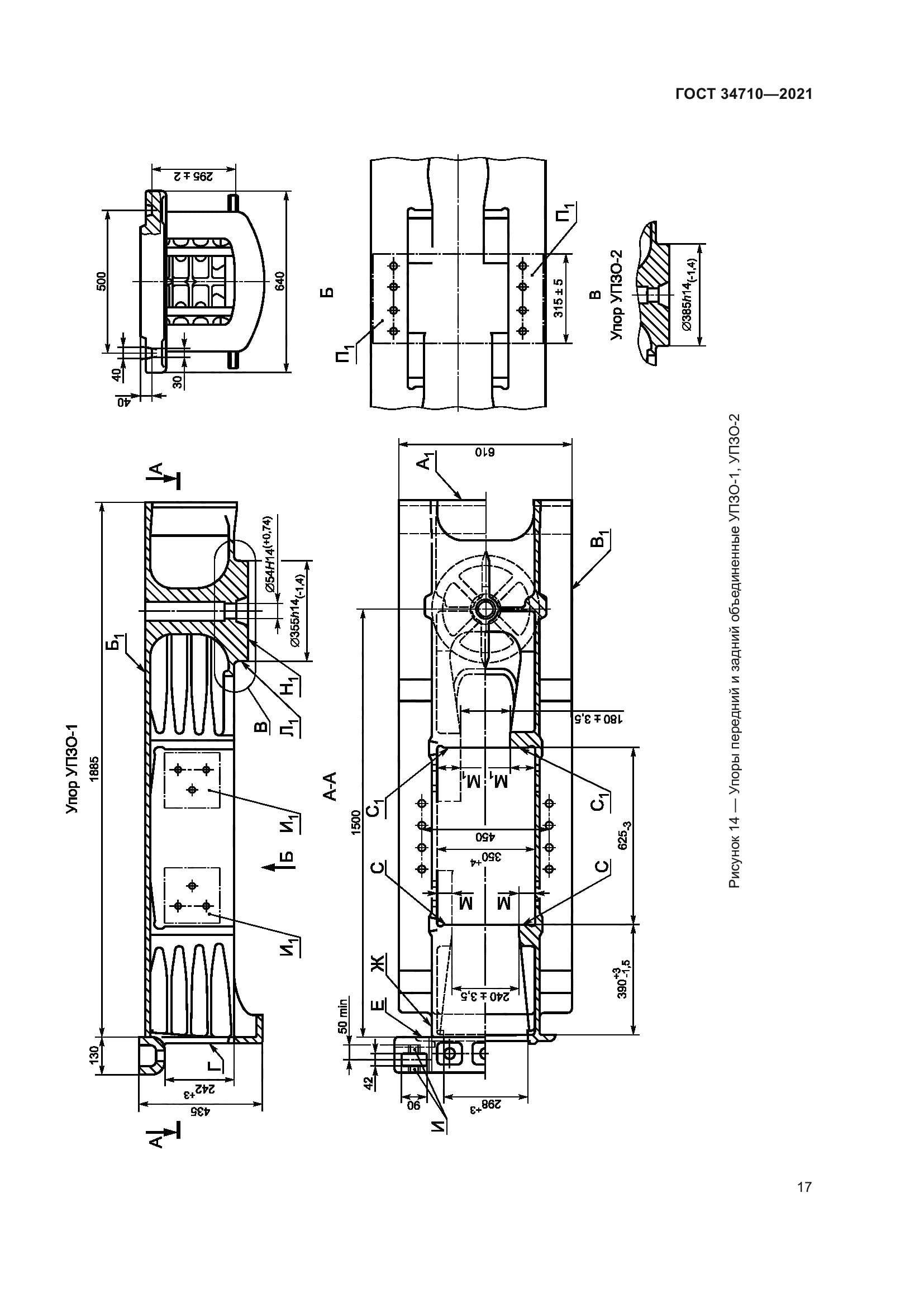
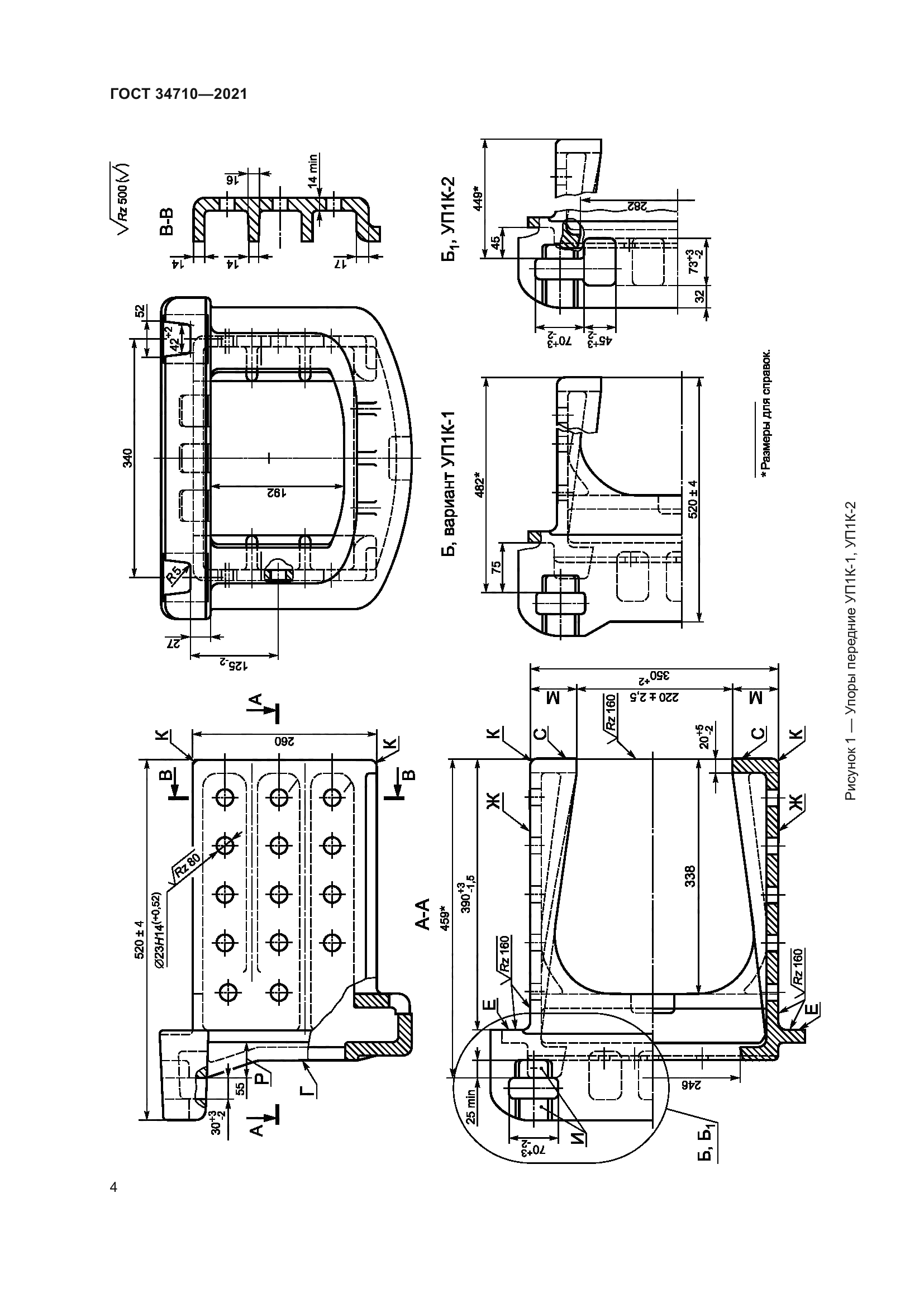
| Название рус.: | Упоры автосцепного устройства грузовых и пассажирских вагонов. Общие технические условия |
| Название англ.: | Stops of automatic coupler equipment of freight and passenger cars. General specifications |
| Дата актуализации текста: | 01.06.2022 |
| Дата актуализации описания: | 01.07.2023 |
| Дата регистрации: | 29.01.2021 |
| Дата издания: | 26.03.2021 |
| Дата введения: | 01.11.2021 |
| Нормативные ссылки: | ГОСТ 8.051; ГОСТ 15.309-98; ГОСТ 977; ГОСТ 1497; ГОСТ 3212; ГОСТ 5639; ГОСТ 9454; ГОСТ 10905; ГОСТ 15150-69; ГОСТ 18321-73; ГОСТ 22703-2012; ГОСТ 23170; ГОСТ 26645; ГОСТ Р 53464-2009; ГОСТ 32894; ГОСТ 33211-2014; ГОСТ 33434-2015; ГОСТ 34450-2018; ГОСТ 34468-2018 |
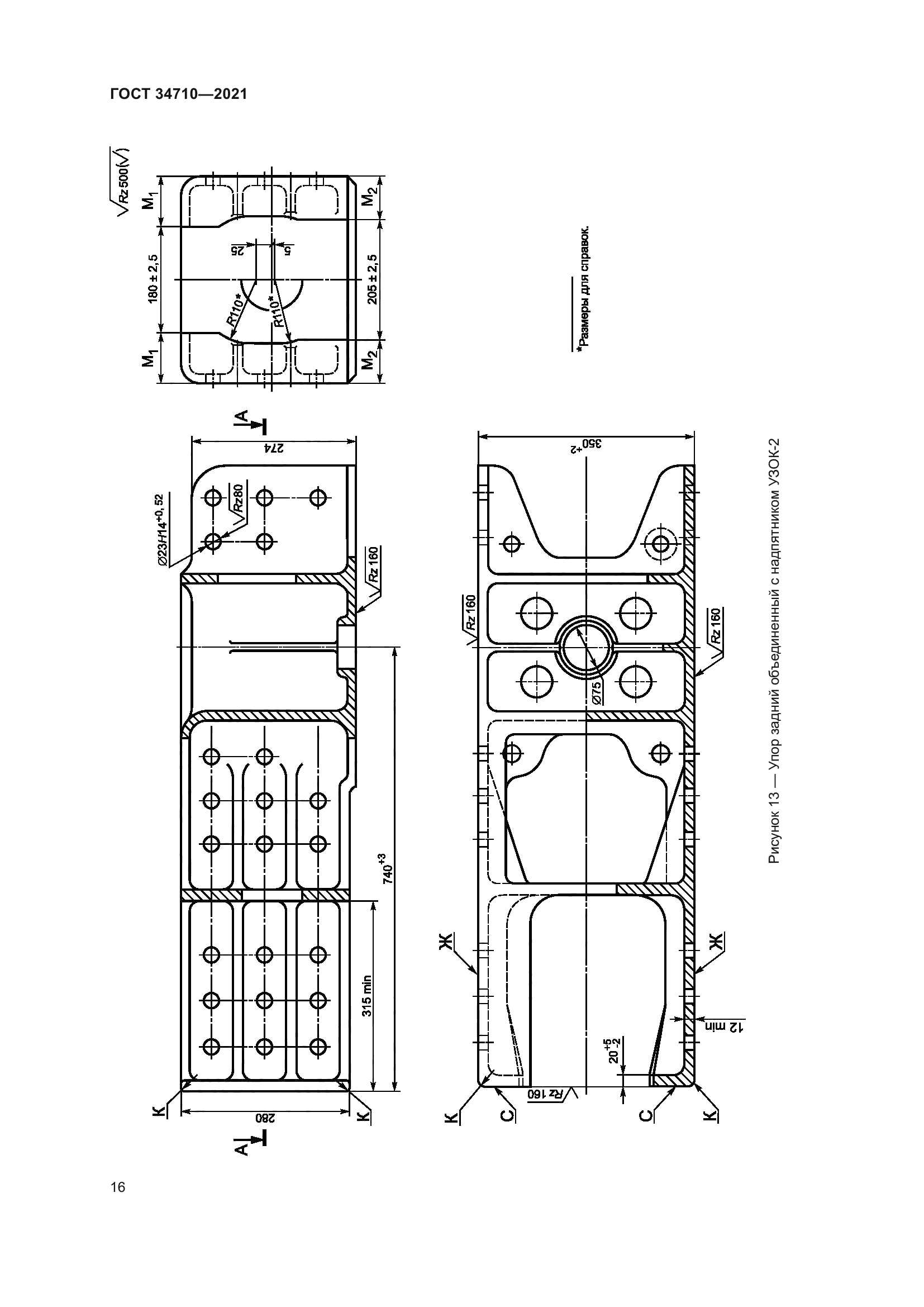
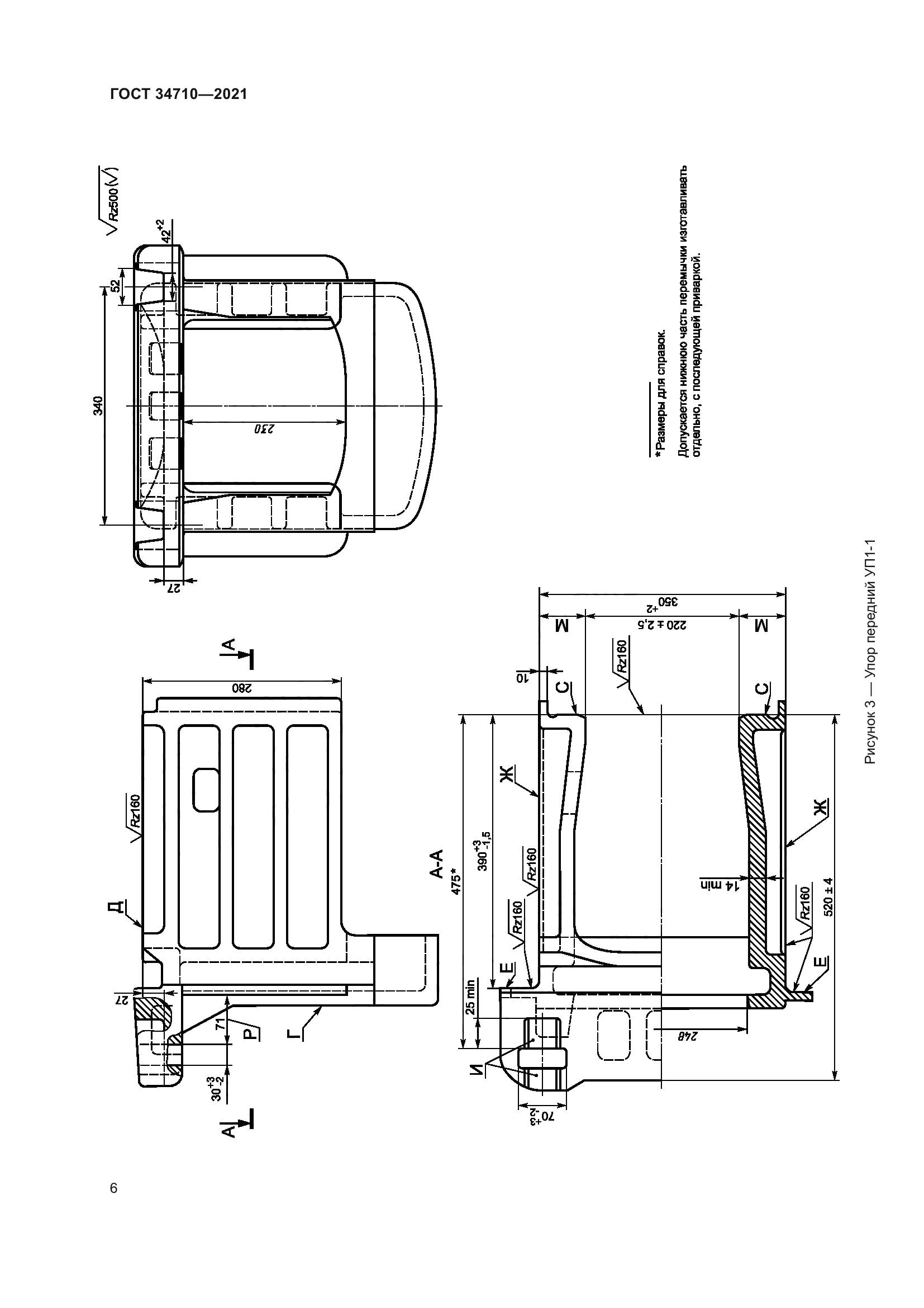
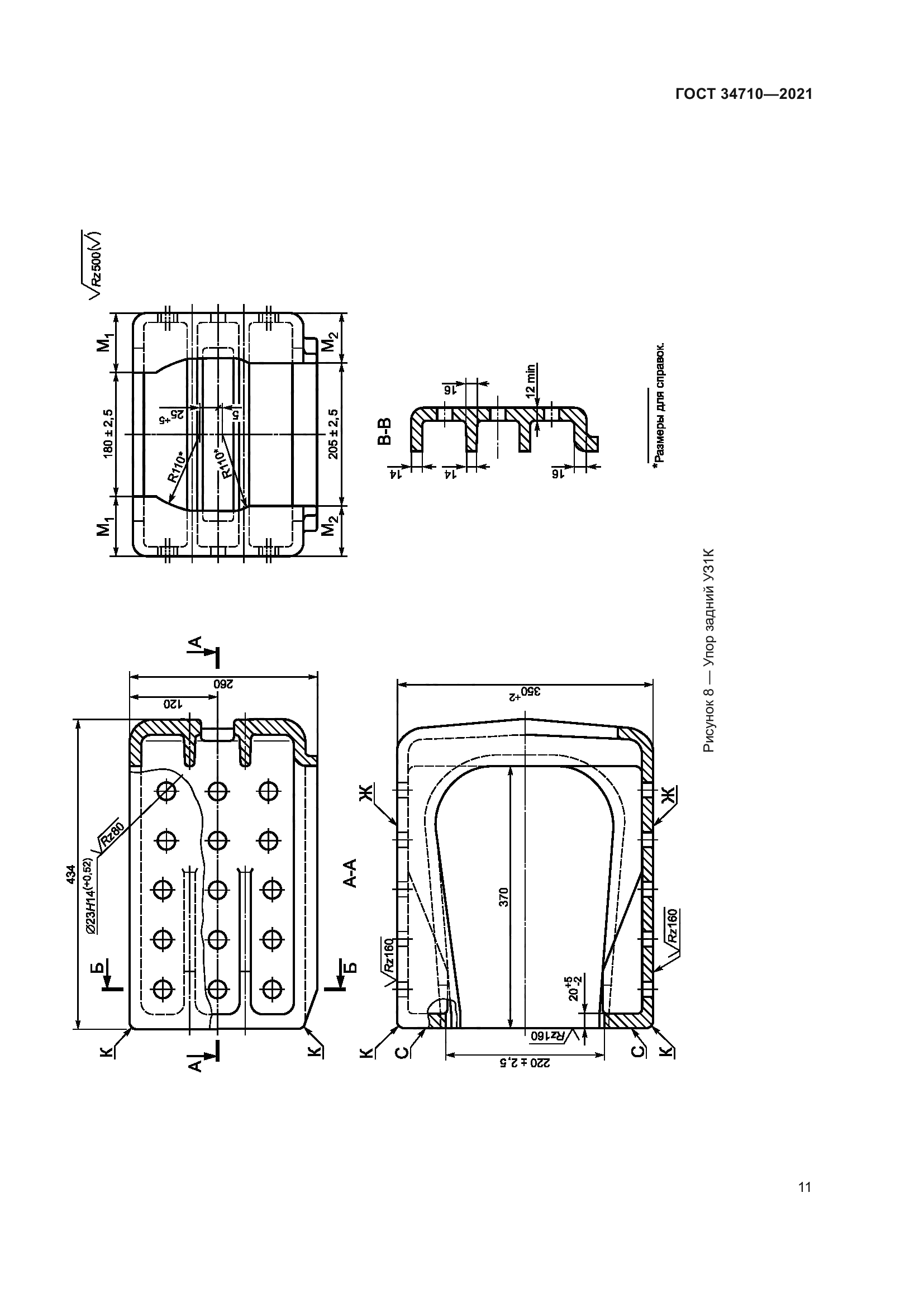
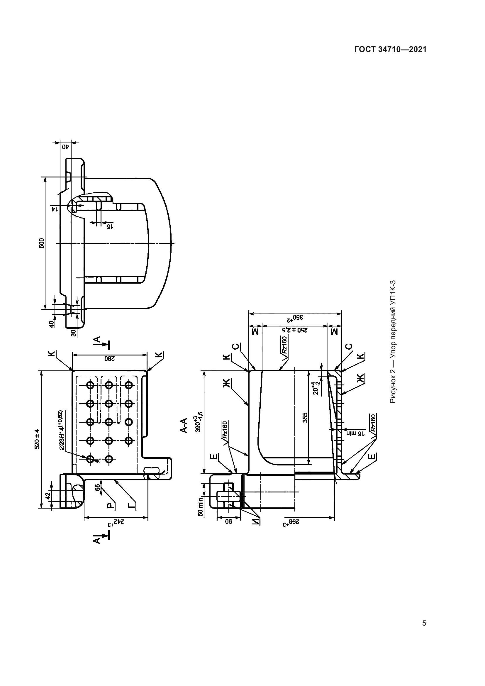
| Область применения: | Настоящий стандарт распространяется на упоры автосцепного устройства грузовых и пассажирских вагонов железных дорог общего пользования колеи 1520 мм. Настоящий стандарт не распространяется на упоры автосцепного устройства восьмиосных вагонов и вагонов промышленного транспорта |
| Приложение №1: | Поправка к ГОСТ 34710-2021 |
| Приложение №2: | Поправка к ГОСТ 34710-2021 |
|