| Обозначение: |  ГОСТ Р 58994-2020 |
| Статус: | действующий |
| Название рус.: | Двигатели газотурбинные. Методика определения объемных остаточных напряжений в деталях газотурбинных двигателей |
| Название англ.: | Gas turbine engines. Method for determining the volumetric residual stresses in parts of gas turbine engines |
| Дата актуализации текста: | 01.06.2021 |
| Дата актуализации описания: | 01.07.2023 |
| Дата издания: | 07.10.2020 |
| Дата введения: | 01.01.2021 |
| Нормативные ссылки: | ГОСТ 7165; ГОСТ 10587; ГОСТ 12172; ГОСТ 21616; ГОСТ 22261; ГОСТ 23737 |
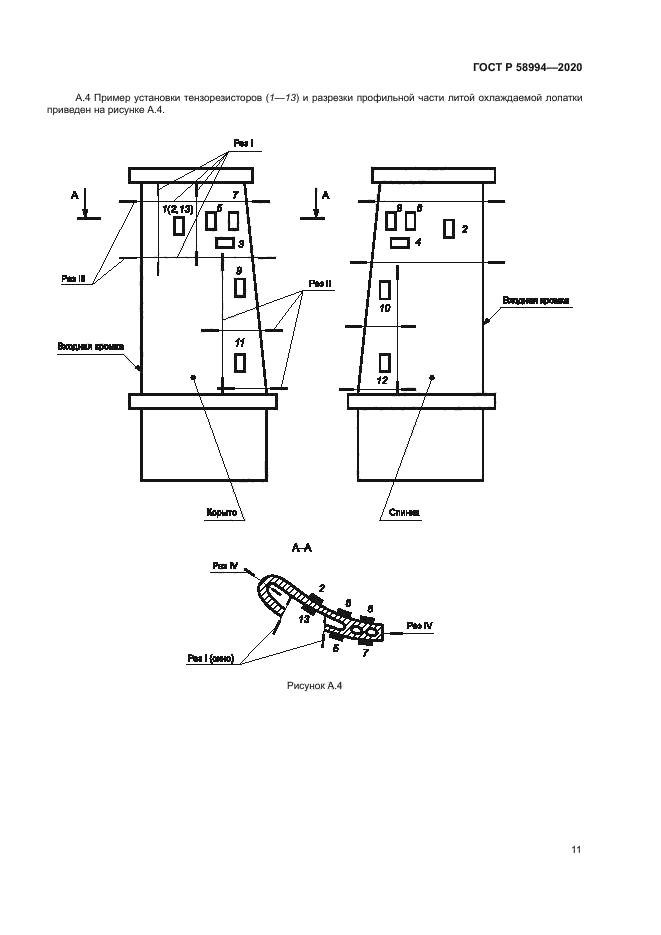
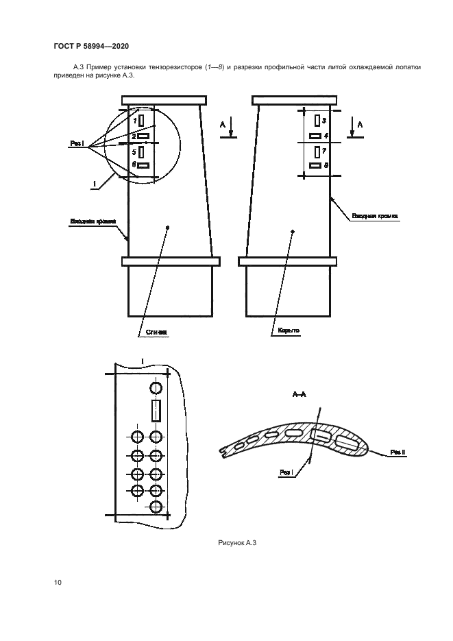
| Область применения: | Настоящий стандарт устанавливает методику определения остаточных напряжений деталей газотурбинных двигателей тензометрическим методом. Тензометрический метод определения объемных остаточных напряжений основан на измерении деформаций, происходящих в результате снятия напряжений разрезкой детали на части |
|