Скачать ГОСТ Р 58998-2020 Лопатки авиационных осевых компрессоров и турбин. Термины и определенияДата актуализации: 01.06.2025 ГОСТ Р 58998-2020
Лопатки авиационных осевых компрессоров и турбин. Термины и определения
| Обозначение: |  ГОСТ Р 58998-2020 |
| Статус: | действующий |
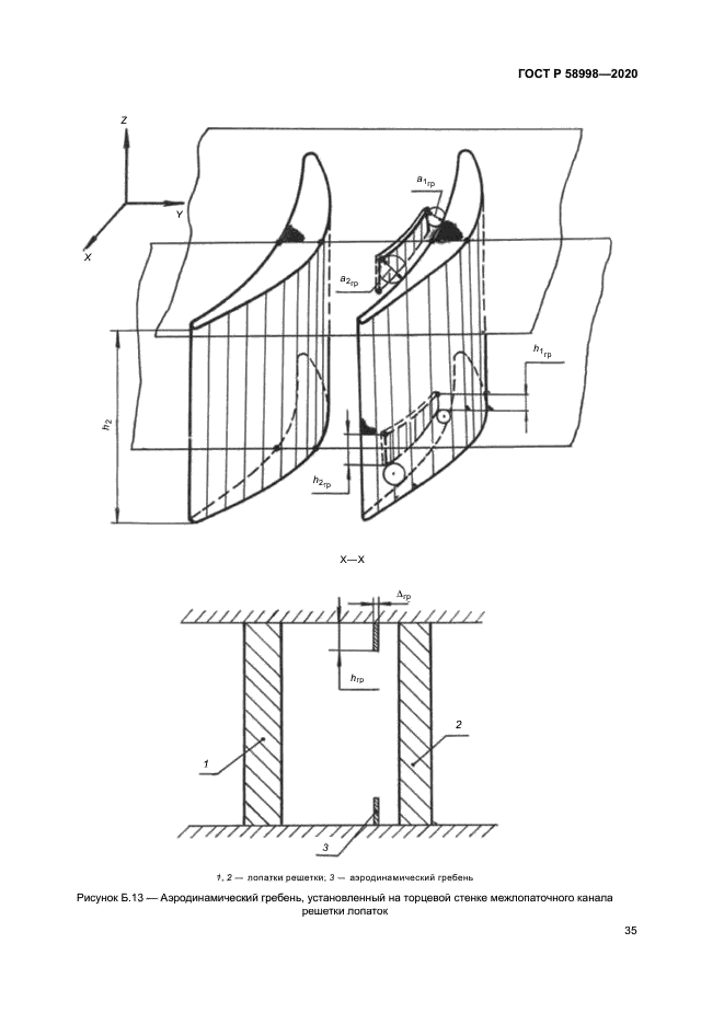
| Название рус.: | Лопатки авиационных осевых компрессоров и турбин. Термины и определения | | Название англ.: | Blades of aviation axial compressors and turbines. Terms and definitions | | Дата актуализации текста: | 01.06.2021 | | Дата актуализации описания: | 01.06.2021 | | Дата издания: | 08.10.2020 | | Дата введения: | 01.01.2021 | | Область применения: | Настоящий стандарт устанавливает применяемые в науке и технике термины, обозначения и определения основных понятий лопаток авиационных осевых компрессоров и турбин, профилей, решеток профилей. Термины и обозначения, установленные настоящим стандартом, обязательны для применения в документации всех видов, учебниках, учебных пособиях, технической и справочной литературе | |
                                                        
|