| Обозначение: |  ГОСТ Р 58700-2019 |
| Статус: | действующий |
| Название рус.: | Окна и балконные двери деревянные для малоэтажных жилых домов. Типы, конструкция и размеры |
| Название англ.: | Wooden windows and balcony doors for one-two storey dwelling-houses.Types, structure and dimensions |
| Дата актуализации текста: | 01.01.2021 |
| Дата актуализации описания: | 01.07.2023 |
| Дата издания: | 27.12.2019 |
| Дата введения: | 01.04.2020 |
| Нормативные ссылки: | ГОСТ 9.401; ГОСТ 12.2.003; ГОСТ 111; ГОСТ 166; ГОСТ 427; ГОСТ 538; ГОСТ 2140; ГОСТ 2695; ГОСТ 2697; ГОСТ 3749; ГОСТ 4598; ГОСТ 5087; ГОСТ 5088; ГОСТ 5090; ГОСТ 5091; ГОСТ 5306; ГОСТ 6564; ГОСТ 6782.1; ГОСТ 7016; ГОСТ 7307; ГОСТ 7502; ГОСТ 8026; ГОСТ 8242-88; ГОСТ 8486; ГОСТ 8925; ГОСТ 9330; ГОСТ 9416; ГОСТ 9685; ГОСТ 10354; ГОСТ 10174; ГОСТ 11214; ГОСТ 12506; ГОСТ 14192; ГОСТ 15140; ГОСТ 15612; ГОСТ 15613.1; ГОСТ 15613.4; ГОСТ 16369; ГОСТ 16588; ГОСТ 17005; ГОСТ 17580 ; ГОСТ 18321; ГОСТ 19041; ГОСТ 19414; ГОСТ 20850; ГОСТ 23166; ГОСТ 24033; ГОСТ 25884; ГОСТ 26433.0; ГОСТ 26433.1; ГОСТ 26602.1; ГОСТ 26602.2; ГОСТ 26602.3; ГОСТ 26602.4; ГОСТ 26602.5; ГОСТ 30494; ГОСТ 30698; ГОСТ 30733; ГОСТ 30778; ГОСТ 30826; ГОСТ 32563 |
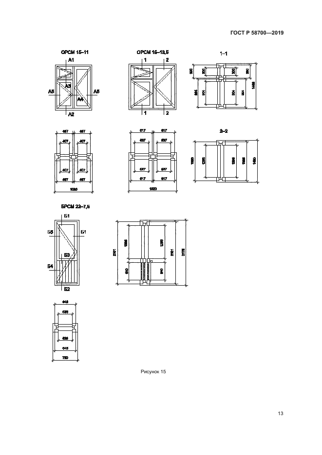
| Область применения: | Настоящий стандарт распространяется на блоки оконные и балконные двери деревянные с двойным и тройным остеклением, предназначаемые для жилых домов высотой не более двух этажей. Стандарт может быть применен для оценки соответствия |
|